
Etac Crissy
Manual
75369G 21-05-10
Etac Crissy Swing-Away
Etac Crissy Active
General
Thank you for choosing a wheelchair from Etac. To avoid injury during handling and use, you should read this manual and keep it for future reference. You can also find it at www.etac.com, Here there are also updates concerning the product. In this manual, the User is the person sitting in the chair. The Carer is the person helping the user. An explanation of symbols and general warnings can be found on page 20 in this manual.
Etac continuously makes improvements to its products. We, therefore, reserve the right to modify the products without prior notice. The dimensions given on drawings or other materials are solely for guidance. We cannot be held responsible for any printing errors or omissions.
This symbol can appear alongside text in the manual. It highlights actions where the wheelchair’s, the user’s or the carer’s safety can be put at risk.
This symbol can appear alongside text in the manual.
Here you can find advice and tips worth considering.
To avoid injury during handling and use, this manual must always be supplied with the wheelchair.
Explanation of the list of items
Intended Use: Etac Crissy Swing-Away and Etac Crissy Active are manual, cross-folded, all-around wheelchairs with multiple functions, and are intended for use both outdoors and indoors. Wheelchairs can be used by people with restricted mobility or by people with walking difficulties. The chair seats are adjustable in height, angle and depth. The back supports are adjustable in height and shape. The foot supports are adjustable in height, angle, and depth.
Contraindications: Users with dementia or cognitive disabilities should not move in and out of the wheelchair without assistance.
In case of an adverse event occurred in relation to the use of the device, it should be reported to your local dealer and the national competent authority in a timely manner. The local dealer will forward information to the manufacturer In the middle of this manual, you will find a section containing user information. 
Tools needed (available as accessories)
Etac Crissy Swing-Away and Etac Crissy Active can be supplemented and adjusted if the needs change. A large range of options and accessories are available: various types of back support and leg support, anti-tips and various types of handrails and brakes, etc.
Etac Crissy Swing-Away and Etac Crissy Active can be reconditioned and reused. Reconditioning instruction is available at www.etac.com.
Etac Crissy Swing-Away and Etac Crissy Active have the best prerequisites to create comfort, functionality, and good maneuverability.
This product can be adjusted beyond safe use. The prescription of Crissy must be done by medical personnel and tested by a specialist.
Description/Standard Version
| Etac Crissy Swing-Away | Etac Crissy Active |
![]() | |
| Swing-Away | Active | ||
| 1 | Push handle | ||
| 2 | Hendrix | • | • |
| 3 | User brake | • | • |
| 4 | Quick release hub | • | • |
| 5 | Side frame | • | • |
| 6 | Tilter | • | • |
| 7 | Front fork attachment | • | • |
| 8 | Front fork | • | • |
| 9 | Castor wheel | • | • |
| 10 | Back support upholstery | • | • |
| 11 | Arm support | • | • |
| 12 | Rear wheel | • | • |
| 13 | Seat upholstery | • | • |
| 14 | Cross | • | • |
| 15 | Detachable leg support (on Crissy Active, fixed and integrated i ramen) | • | • |
| 16 | Serial number | • | • |
| 17 | Knob footplate lock | • | • |
| Locking nut footplate lock | • | • | |
| 18 | Footplate | • | • |
Chair options
In the “Chair options” section you can see all the adjustments that can be made to the wheelchair. In addition, there are so-called “Non-standard combinations”, e.g. for rear wheels, castor wheels and back support models. Contact customer service. For more information about chair options, see www.etac.com
| Swing-Away | Active | ||||
| Seat height | ![]() | Front | 40.5-55 cm | ||
| Rear | 38 5-51 cm | • | • | ||
| Seat angle | Max forward angle 2 cm loner front than back (31 Max backward angle: 6cm higher front than back (91 | • | • | ||
| Castor wheel | ![]() | 5′ solid | • | • | |
| 6- semisolid | • | • | |||
| 8′ serm-sold | • | ||||
| Front fork | ![]() | Short (three height settings for castor wheels) | • | • | |
| Medium (three heght settings for castor wheels) | • | • | |||
| Rear wheel | ![]() | 22- | • | • | |
| 24- | • | • | |||
| 24- Carbon (not with attendant brake) | • | • | |||
| Tyres | High-pressure pneumatic 22′ or 24″ x I Pt | • | • | ||
| High-pressure pneumatic 22′ or 24″ x I | • | • | |||
| Solid | • | • | |||
| Tire with solid inner tube (only with attendant brake) | • | • | |||
| tandems | ![]() | Aluminum | • | • | |
| Stainless steel | • | • | |||
| Plastic | • | • | |||
| Foam rubber (not with attendant brake) | • | • | |||
| Titanium not with attendant brake) | • | • | |||
| Camber angle | 2′ | • | • | ||
| 0′ | • | • | |||
| Seat | ![]() | Padded seat. nylon. 10 mm foam | • | • | |
| Adjustable seat upholstery | • | ||||
| Fixed back support with fixed push handles. 28 | ![]() | Height of low back support 3540 cm Height of high back support 42.5-47.5 cm Fixed angle +5° | • | • | |
| Angle adjustable An suppon | ![]() | Height of low back support 3540 cm Height of high back support 42 5-47.5 cm Angle 3′ – +S° | • | • | |
| Back s ort 2C upp | ![]() | Height 3747 cm Angle +5° | • | • | |
3. Chair options
| Swing-Away | Active | ||||
| Seat depth | ![]() | /11/43/45 an in a frame (S, M. U 37415 cm with upholstery | |||
| Seat depth Back support 2C | ![]() | 41/43/45 an in-frame (S, M. L) 3745 a with upholstery | • | • | |
| Bad ols support upholstery | ![]() | Adjustable upholstery | • | • | |
| Bad support cover | ![]() | Ramesh (Back support 28) | • | • | |
| Standard (Back support 2C) | • | • | |||
| Push handle push brace | ![]() | Height-adjustable in 2 crn Intervals. Detachable. | Push horde | • | • |
| Push brace | • | • | |||
| Leg smorts, detath&le, swing-away | ![]() | Norms knee angle | • | ||
| Narrow (only fns with 5′ castor wheels) | • | ||||
| Leg s”””.rt Lod le | ![]() | Normal knee angle | • | ||
| Narrow | • | ||||
| Leg support AJNIe-adjust- able | ![]() | Angle adjustable with fhp-up call support from dO cm seat width | • | ||
| Angle adjustable with cushion bracket and padded flipup call support | • | ||||
| Angle adjustable with flip-up cushion bracket and padded calf support | • | ||||
| Leg supports, other | ![]() | Amputee leg support | • | ||
| Amputee weight | • | ||||
3. Chair options
| Foot support | ![]() | 15 cm deep Folding, angle, and depth-sellable. Attach. rent tubes adjustable in height | Standard attachment tubes Max length: 51 cm. Min length 33 cm | Swing-Away | Active |
| Extended attachment tubes +10 cm | • | • | |||
![]() | 13 cm deep. Folding angle and depth-setta- be. Attachment tubes adjustable in height | Standard attachment tubes Max length: 51 cm Mtn length 33 cm | • | • | |
| Extended attachment tubes +10 cm | • | • | |||
![]() | One-piece footplate. Attachment tubes adjustable in height | • | • | ||
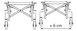
| Front fork attachment | ![]() | Standard | • | • | |
| Widened 6 cm | • | • | |||
| User brake | ![]() | Angled handle | • | • | |
| Extended handle (foldable or fixed) | • | • | |||
| Single hand brake | • | • | |||
| Scissor brake With 22′ drive wheels, not in positions AS-FS and A4-84 With 24″ drive wheels, not in positions AS-85 | • | • | |||
| Attendant brake | ![]() | Brake handle 100 mm grip (only with 2C back support) | • | • | |
| Frame color | 01 = Black 74 = Silver-white 75 = Ruby-red 76 = Champagne 77 = Menthol | • | • | ||
| Colour of the rear wheel attachments | 01 = Black 75 = Ruby-red 76 = Champagne 77 = Menthol | • | • | ||
Accessories
Assembly instructions are provided with all accessories when they are supplied by Etac.
You can find the instructions as well as more information about the accessories on our website www.etac.com.
Settable= Adjusted using tools. Adjustable= Adjusted without tools.
| Swing-Away | Active | |||
| Arm supports | Height-adjustable 20-25 cm. Length 25 cm, solid top, black | ![]() | ||
| Arm supports | Height-adjustable 20-25 cm. Length 38 cm, solid top, black | ![]() | • | • |
| Arm support suppo cover | Removable, 25 or 38 cm long, padded or gel, dark grey plush or black Dartex. Fits arm support with a solid top. | ![]() | • | • |
| Arm support cushion Hemi | Swing-away for fitting on long-arm supports | ![]() | • | • |
| Arm support suppo Locking Kit | The locked arm support is not detachable but its height can be set freely. | ![]() | • | • |
| Side cover | Black | ![]() | • | • |
| Mudguard | Right or left | ![]() | • | • |
| Tray | Transparent fits onto long arm supports | ![]() | • | • |
4. Accessories
| Hemi tray | Transparent. width 35-50 cm. Can be fitted onto short or long-arm supports | ![]() | Swing-Away | Active |
| Anti-slip device for the Hemi tray | ![]() | • | • | |
| Hemi tray/Communication tray half | Rohttleft | ![]() | • | • |
| Seat extender | With long seat depth | ![]() | • | • |
| Seat cushion | Dark grey plush and black velour. 56 cm. cut according to seat depth set. washable cover | ![]() | • | • |
| Seat cushion Tidy | Water-repellent. operable | • | • | |
| Comfort wedge | For the cushion, evens out the front part of the seat | ![]() | • | • |
| Cover for calf support | On angle-adjustable leg support, black Hygiene | ![]() | • | • |
| Calf strap | Detachable, black nylon. length-adjustable | ![]() | • | • |
| Padding | For calf strap | ![]() | • | • |
| Calf pad | Plush Fittedtadiusted with Velcro | ![]() | • | • |
| Heel strap | Black nylon, adjustable length | ![]() | • | • |
| Extended footplate | Fits onto the existing footplate. seat width 40-55 cm | ![]() | • | • |
| Positioning belt | wi Two-piece with snap lock. fixing points on the wheelchair frame | ![]() | • | • |
| Belt | With snaplock | ![]() | • | • |
4. Accessories
| Swing-Away | Active | |||
| Head support, traditional | Adjustable in height, depth and angle. Only with Back support 2C | ![]() | ||
| Fixed head support | For fitting onto a push brace | • | • | |
| Cross brace (for back support) | For Back support 2C. With snaplock | • | • | |
| Back wedge | Three different sizes, fixed with Velcro. Creates support and shape in the back support. The wedges can be combined with other accessories and adapted to the desired size, and several wedges can be combined. | .![]() | • | • |
| Back wedge | Dark-grey plush, 15 and 30 cm | ![]() | • | • |
| Side cushion | Provides gentle lateral support. Used when the trunk sup-port is too stabilising. (Combined with arm support and, if necessary, side stop) | ![]() | • | • |
| Anti-tip | Foldable, settable in height | ![]() | • | • |
| Anti tip active | Settable in height, foldable from the user’s position. Not in combination with attendant brake | ![]() | • | • |
| Cane holder | In two parts, one of which is an elasticated section fastened around the cane. | ![]() | • | • |
| Spoke protectors | With grey or yellow print | ![]() | • | • |
| Tool kit | • | • | ||
| Gloves | Information at www.etac.com | ![]() | • | • |
Installation upon delivery
Leg supports
Leg supports with foot plates are delivered unassembled and must be mounted upon delivery (see section ”Handling”).
Arm supports
Arm supports/side covers are delivered unassembled and must be mounted upon delivery.
Settings
Front seat height
Front seat height is adjustable using:
– Front fork attachment, adjustable height, and angle
-Changing height in the front fork.
-Changing the front fork
-Changing castor wheels
Bear in mind the risk of tipping.
Always check the positioning of the anti-tips.
Seat height adjustment using front fork attachment
Loosen the screws (A and B) on both castor wheel attachments. Set the desired seat height by measuring from the floor to the top edge of the seat frame (press down the frame in the cup while measuring) and tighten the upper screw (B) on one front fork attachment. Adjust so that the attachment is perpendicular. (See ‚Angle setting of front fork attachment‘ section.) Tighten the lower screw (A). Repeat the procedure for the other attachment. Fine-tune the height of the front fork attachments by loosening the screws a little and carefully knocking on the front fork attachment. Make sure both castor wheels are touching the ground. Tighten the screws.
Bear in mind the risk of tipping.
Always check the positioning of the anti-tips.

See also section “Front seat height table”.
Seat height adjustment using the castor wheels’ position in the fork
Bear in mind the risk of tipping.
Always check the positioning of the anti-tips.

See the “Seat height adjustment using the castor
wheel position in the fork” and “Front seat height table” sections.
Bear in mind the risk of tipping.
Always check the positioning of the anti-tips.
Seat height adjustment by replacing the front fork/castor wheel
Front seat height table
![]() | ![]() | ||||||
| Short Fork | Medium Fork | ||||||
| Rear wheel Castor position wheel | |||||||
| Standard/Widened – castor wheel attachment | 5″40.5-44 | 42.5-46 | 44-47.5 | 45.5-49 | 48-51.5 | ||
| A-F 6″- | 44-47.5 | 45.5-49 | 44.5-48 | 47-50.5 | 49.5-53 | ||
| A-C – | – | – | – | 49-52.5 | 51.5-55 | ||
For correct installation of front fork attachment: Max. backward inclination 6 cm higher front than back (9°), max. forward inclination 2 cm lower front than back (3°).
* Only Etac Crissy Swing-Away
Disassembly/assembly of the front fork
– Remove the cover plug (A) and loosen the retaining
nut (B). Pull out the front fork and transfer the beveled washer (C) and ball bearing to the new fork.
– Mount the washers and ball bearings in the front fork attachment as illustrated. Place the washer (C) with the beveled side towards the fork. Place the spring washer (D) uppermost under the retaining nut.
– Tighten the retaining nut until it comes to a stop and then releases it by ½ – 1 turn. The spring washer then has the correct tension, which reduces the risk of the castor starting to “wobble”.
– Fit the cover plug.
Disassembly/assembly of the front fork
– Remove the cover plug (A) and loosen the retaining nut (B). Pull out the front fork and transfer the beveled washer (C) and ball bearing to the new fork.
– Mount the washers and ball bearings in the front fork attachment as illustrated. Place the washer (C) with the beveled side towards the fork. Place the spring washer (D) uppermost under the retaining nut.
– Tighten the retaining nut until it comes to a stop and then releases it by ½ – 1 turn. The spring washer then has the correct tension, which reduces
the risk of the castor starting to “wobble”. – Fit the cover plug.
Angle setting of the front fork attachment
The correct angle setting is important for the wheelchair’s maneuverability.
Loosen the attachment screw (A) about 2 turns so that the tag (C) moves freely inside the shaft.
Insert the Allen key in hole (B) and turn until the attachment is 90° to the floor. Always start from a position that enables the wheel to move forward in the rotation (D).
Press in the shaft and hold it in the correct position while tightening the attachment screw. Angle setting of front fork attachment The correct angle setting is important for the wheelchair’s maneuverability.
Loosen the attachment screw (A) about 2 turns so that the tag (C) moves freely inside the shaft.
Insert the Allen key in hole (B) and turn until the attachment is 90° to the floor. Always start from a position that enables the wheel to move forward in the rotation (D).
Press in the shaft and hold it in the correct position while tightening the attachment screw.
Bear in mind the risk of tipping.
Always check the positioning of the anti-tips.
Keep your eye on something vertical, e.g. a doorpost or a table leg when setting the angle.

Rear seat height
The rear seat height can be adjusted using:
– The rear wheel’s (camber washer’s) position in the rear wheel attachment.
– The camber washer’s position (rotation) in each rear wheel attachment opening.
-Changing the rear wheel
Seat height adjustment using the rear wheel position/rear wheel
- Remove the rear wheel
- Loosen the nut.
- Open the kit with the washers and install at the required position (see table in section “Seat height table”). See also section ”Changing camber angle”).

When fitting, check that the hub axle of the rear wheel is set correctly. The button in the hub should pop out to the original position.
Rear seat height table
Rear wheel position height

| Rear wheel | Seat height | Distance | |
| Position A | 22” 24” | 48.5 cm 51 cm | 7.0 cm 9.5 cm |
| Position B | 22” 24” | 46.5 cm 49 cm | 9.0 cm 11.5 cm |
| Position C | 22” 24” | 44.5 cm 47 cm | 11.0 cm 13.5 cm |
| Position D | 22” 24” | 42.5 cm 45 cm | 13.0 cm 15.5 cm |
| Position E | 22” 24” | 40.5 cm 43 cm | 15.0 cm 17.5 cm |
| Position F | 22” 24” | 38.5 cm 41 cm | 17.0 cm 19.5 cm |
Attendant brake
When adjusting the brake loosen nut (A) and adjust the brake by screwing (B) up/down.
When the brake has a reasonable effect tighten nut (A). This adjustment should be carried out when the brake is not functioning satisfactorily.
User manual
75369G 21-05-10
This part of the manual (User Manual) can be removed and supplied with the wheelchair as it contains important user information.
Symbols and warnings
General warnings
The following must be taken into account when using the product.
The bright sunlight could heat parts of the chair and cause burns
After adjusting the seat height, center of balance or back support angle, always ensure that you check the function of the anti-tips.
Do not lift the chair by removable parts.
The chair may tip over if the backward tilt is greater than 6°. Use anti-tips!
Transportation in vehicles
Etac recommends in the following order:
- The user transfers to one of the seats in the vehicle and uses the vehicle’s 3-point belt while traveling. The wheelchair is then placed in the boot or safely in the back seat so that it cannot overturn or roll.
•
It is best to place the wheelchair in the car boot.
• If the wheelchair is placed on the back seat, ensure that it cannot overturn or roll. If possible secure the wheelchair with the car’s safety belt.
- The wheelchair is secured facing forwards in the vehicle as per this manual; the user uses a separate 3-point belt secured in the vehicle. This is the way in which the wheelchair is tested and approved according to ISO 7176-19.
Securing
• Rear transport attachment must be used
• The restraining device must not be passed through the wheels or around the back tubes.
- According to Directive 2001/85/EC, appendix VII, point 3.8.3, there may be specially marked wheelchair locations in vehicles that permit transport with a wheelchair facing in the direction of travel. If this means of travel is used, the user/carer must be aware while traveling, prepared for sudden movements and have the capacity to maintain a safe sitting position throughout the entire journey. The user’s disabilities must not be of such an extent that he/she is not able to hold onto the handles fitted in the vehicle when there are changes of speed or direction.
The parking brake must be used- The anti-tips must be activated
- Accessories that can be removed without tools must be removed and secured
- A correctly set head support must be used
- The back support should be level with or above the user’s shoulders
- Handrails must be installed on the rear wheels

The user brake must be used- The anti-tips must be activated
- Accessories that can be removed without tools must be removed and secured.
- A correctly set head support must be used
- The back support should be level with or above the user’s shoulders
- A positioning belt should be used
How to use
Unfolding
- Push down on one side of the seat frame, using the whole of the flat of the hand.
- Do not hold the seat frame tube while unfolding as there is a risk of pinching your fingers.
- Flip down the foot supports.

Folding
- If a push brace and/or cross brace are fitted they should be removed.
- Flip up the foot supports.
- Lift the seat upwards.

Rear wheel with a quick-release hub
During assembly, check that the quick-release button pops out completely. Test by pulling the wheel.

Anti-tip
- The anti-tips can be folded away/deactivated.

- When you activate the anti-tip, ensure that the locking pins are properly engaged.

- After all adjustments to the chair, the anti-tip function must be checked. If the anti-tips need to be adjusted, contact your technical aids center.
Leg support (Etac Crissy Swing-Away)
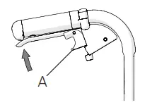
The leg supports can be lifted/swung to the side as needed. lockable leg supports by pressing the red button (A).
To attach the lockable leg supports, press down on the red button (A), put the leg support into place and release the button. The leg support is now locked (B).
Check that the leg supports have locked before lifting.
Push handle/push brace, height-adjustable
Loosen knob (A). Press in the red wedge and set the desired height. Ensure that the push handle is in a “snap lock” position, and tighten the knob.
Make sure knobs are securely tightened. This is especially important if the chair is to be lifted with the user sitting in it.
Ensure that the push handle’s button lock has popped out below the push handle attachment.
The push brace must be removed before the chair can be folded.
Attendant brake (motion brake)
- Brake while in motion by pulling the brake lever upwards.

Attendant brake (parking brake)
- Activate the parking brake by pulling the brake lever upwards and pressing in button A.
- Release by pulling the lever upwards.

Seating comfort settings
Seating comfort Good seating comfort depends on the needs and possibilities available to each individual. The following general guidelines here show what to consider when settings are made. Select a seat cushion with care. Aside from comfort, it has an impact on stability and thereby freedom of movement. Seat cushions also have different pressure distribution qualities.
The back support setting is a combination of angles, height and shape. This is why the angle settings and height for the back support may need to be adjusted when the back support cover is being adjusted.
Back support cover
- Loosen all back straps, but make sure that the Velcro is still stuck together.
- Place the back support cover so that it covers the upper edge of the back rails and forms a crease between the seat and the back support, allowing the user to properly
sit in on the seat.

Seat cushion
- Make sure that the correct seat depth is set.
- Position the cushion as far back on the seat so that the rounded corners end up between the back rails. Make sure the cushion sticks to the Velcro.
- Measure a suitable seat cushion length and cut it according to supplied instructions.
- A more contoured seat cushion can be obtained by using a comfort wedge which is placed in the cushion cover’s pocket under the seat cushion.
Back support upholstery
The back support upholstery is adjusted with the user sitting in the wheelchair.
- Make sure the user is sitting as far back in the seat as possible.
- Support the pelvis by tightening the strap found just below the lumbar region.
- Then adjust the upper strap to provide the user with upper body support and balance.
- The other straps are adjusted to provide space for the user’s posterior and follow the back’s natural curvature.

Bear in mind the risk of tipping.
Always check the positioning of the anti-tips.
Do not over-tighten the upper Velcro straps as this can prevent the cross-brace from unfolding properly, i.e. the back tubes do not sit flush in the side frames.
Seating comfort settings
Footplates
Adjust the height so that you feel the feet are supported and the thighs rest against the cushion.
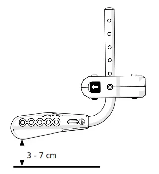
For outdoor use the footplates should be raised 4 to 5 cm above the ground.
Tipping risk!
Never stand on the footplates
Angle adjustment
Adjust the angle of the footplates so that the ankles are at a 90° angle.
Adjusting the height
Fully loosen the locking handle on the leg support.
Remove the screw. Set the height. Replace the screw and handle. Tighten securely.
Changing the depth of the foot supports
Adjust the depth of the foot supports by switching the right and left foot support. Do not forget to adjust the angle.
Calf/Heel strap
- Adjust the length so that the feet are centered on the footplates.

Arm support (adjustment)
- Loosen the screws on the inside of the arm support tray.
- Move the arm support up or down to the desired height and tighten the screws.
- Correctly adjusted arm supports provide upper body support. The arm support plate should be approximately 5 mm higher than the elbow when bent at an angle of 90°.
Only the top five holes may be used (applies to arm support height-adjustable 20–25 cm).

Driving technique, use
P Parking
Turn the castor wheels forwards and activate the brakes.
Do not park the wheelchair on a hill when it has a user in it.
Transferring to/from the wheelchair
Turn the castor wheels forwards, activate the brakes, flip up the foot supports and twist the leg supports to one side.


Lifting the wheelchair
- Ensure that vertically adjustable push handles are properly tightened and that lockable leg supports are properly locked.
- Swing non-lockable leg supports in under the seat and lift the wheelchair by the front upper part of the frame.

The following illustrations show principles of driving technique and obstacle clearance.
User, up forwards
This technique is recommended only for experienced wheelchair users.
– Ensure that the anti-tips are disabled.
The following illustrations show principles of driving technique and obstacle clearance.
User, up forwards
This technique is recommended only for experienced wheelchair users.
– Ensure that the anti-tips are disabled.
User, up backward
This technique only works if there is a low curb/threshold, relative to the installed height of the foot supports.
– Ensure that the anti-tips are disabled.
User, down forwards
This technique is recommended only for experienced wheelchair users.
– Ensure that the anti-tips are disabled.
User, down backward
This technique is recommended only for experienced wheelchair users.
– Ensure that the anti-tips are disabled.
Carer, up forwards
– Ensure that the anti-tips are disabled.
Carer, up backward
– Ensure that the anti-tips are disabled.
Carer, down forwards
– Ensure that the anti-tips are disabled.

Carer, down backward
– Ensure that the anti-tips are disabled.
Stairs, up
– Ensure that the anti-tips are disabled. Never use an escalator, even if a carer is available. Ensure that vertically adjustable handles are tightened.
We recommend that there are always two carers for this transfer: one walking behind and holding the push handles, and one walking in front, holding the frame (or the leg supports if these are lockable).
Stairs, down
– Ensure that the anti-tips are disabled. Never use an escalator, even if a carer is available. Ensure that vertically adjustable handles are tightened.
We recommend that there are always two carers for this transfer: one walking behind and holding the push handles, and one walking in front, holding the frame (or the leg supports if these are lockable).
Ascending/descending hills
Control your speed using your hands, not the brakes!
Avoid turning around in the middle of a hill. Always drive as straight up/down as possible. If uncertain, ask for assistance.
Uphill
Lean forwards to correcting your center of balance.
Downhill
Lean backward to correct your center of balance.
Care and maintenance
Rear Wheels: Clean the quick-release axles when necessary.
Castor wheels: Clean the castor wheel axles when necessary.
Frame: Clean the frame with a non-abrasive cleaning agent with a pH level between 5 and 9, or with a 70% disinfectant solution. Rinse and dry.
Upholstery: Wash, see label on upholstery.
For more severe problems, contact the Technical Aids Centre.
When necessary lubricate moving parts/joints with bicycle oil or similar.
Troubleshooting chart
| The wheelchair pulls to the side | • Inflate the tires (air pressure, see section ”Technical data”) • Check and adjust the height and angle settings of the front fork attachments • Check that the rear wheel attachments are correctly mounted • The user is distributing weight unevenly in the wheelchair • More strength being used on one side than the other |
| The wheelchair is “heavy” to push | • Inflate the tires (air pressure, see section ”Technical data”) • Check that the rear wheel attachments are correctly mounted • Clean the castor axles of hair and dirt • Too much weight over the castors. Adjust the wheelchair’s center of balance |
| The wheelchair is “heavy” to turn | • Inflate the tires (air pressure, see section ”Technical data”) • Check that the front forks have not been tightened too much • Clean the castor axles of hair and dirt • Too much weight over the castors. Adjust the wheelchair’s center of balance |
| Brakes not effective | • Inflate the tyres (air pressure, see section ”Technical data”) • Adjust the distance between the brake and tire |
| Rear wheels are “loose” | • Adjust the length of the axle shaft |
| Rear wheels hard to remove/replace | • Clean and lubricate the quick release using e.g. bicycle oil • Adjust the length of the axle shaft |
| The castor wheels “wobble” | • The front forks have not been tightened sufficiently • Check and adjust the height and angle settings of the front fork attachments • Too much weight over the castors. Adjust the wheelchair’s center of balance |
| The wheelchair is hard to fold/ unfold | • The upholstery is too tight • Clean and lubricate the cross-brace under the seat |
| The wheelchair feels “awkward” | • Inflate the tyres (air pressure, see section ”Technical data”) • Check that screws and controls are properly tightened |
Seat angle
The seat angle is achieved through the difference between the front and the rear seat heights.
Bear in mind the risk of tipping.
Always check the positioning of the anti-tips.
When the seat angle is changed: – Adjust the angle of the front fork attachment.
Seat depth
The seat depth can be adjusted by moving the attachment of the back support in the frame and lifting the front seat upholstery and sliding it backward or forwards.
To move the back attachment, loosen the screws for the back attachment/wheel bracket and move to any position.
NB. The maximum seat depth setting is 45 cm using the back attachment.
Bear in mind the risk of tipping.
Always check the positioning of the anti-tips.

Seating comfort
After setting seat height, seat angle, seat depth and back angle, the back support upholstery should be adjusted to give support and comfort. See the section “Seating comfort settings “ in the User Manual.
Adjustment of the centre of balance
Available positions for wheel mount at various seat depth settings.
Adjustment of the center of balance
The center of balance can be adjusted by changing the position of the rear wheels.
– Move the rear wheel attachment forwards or backward or rotate the camber washer.
Also, check the brakes – see section “Brake, adjustment”.
24 mm
When the position of the rear wheels is moved forwards the wheelchair becomes much more maneuverable, but the tendency to tip backward increases. See the section “Seat height adjustment using the rear wheel position/rear wheel” and the section ”Seat depth”.
The center of balance is also altered when the seat and/or back support angle are adjusted.
We recommend the use of anti-tips.
Ensure that rear wheels with quick-release hubs are mounted securely.
Fitting seat extender
Fitting seat extender
Settings Back support 2B
Adjusting back support height
The back support height is adjustable (See “Chair options”). Loosen the screws to adjust the height of the back support.
Tighten the screws.
Bear in mind the risk of tipping.
Always check the positioning of the anti-tips.
Adjustment of back support upholstery
The contour of the back support upholstery is individually adjustable by using the five Velcro straps and the back support cover.
– Allow the cover plenty of room between the seat and back support, so that it is possible to “sit in” against the back support.
– Loosen all the straps and ensure that the user is sitting as far back in the seat as possible.
– Tighten the straps so that they follow the contours of the back and give support to the lumbar region.
Do not over-tighten the upper Velcro straps as this can prevent the cross-brace from unfolding properly, i.e. the back tubes do not sit flush in the side frames.
Bear in mind the risk of tipping. Always check the positioning of the anti-tips.
Justering av ryggvinkel
Angle adjustable back support is optional (see ”The chairs possibilities”). Adjust the angle by loosening the lower screw.
Bear in mind the risk of tipping.
Always check the positioning of the anti-tips.
Settings Back support 2C
Adjusting back support height
The back support height is variably adjustable (See “Chair options”). Loosen the screws (A) 2-3 turns to set the height of the back support. Ensure that both sides are at the same height by checking against the ruler (B) on the back of the back tube. Tighten the screws securely.
Bear in mind the risk of tipping.
Always check the positioning of the anti-tips.
Adjustment of back support upholstery
The contour of the back support upholstery is individually adjustable by using the five Velcro straps and the back support cover.
– Allow the cover plenty of room between seat and back support, so that it is possible to “sit in” against the back support.
– Loosen all the straps and ensure that the user is sitting as far back in the seat as possible.
– Tighten the straps so that they follow the contours of the back and give support to the lumbar region.
Do not over-tighten the upper Velcro straps as this can prevent the cross-brace from unfolding properly, i.e. the back tubes do not sit flush in the side frames.
Bear in mind the risk of tipping. Always check the positioning of the anti-tips.
Readjustments
Brake, adjustment
The brakes are variably adjustable.
- Loosen the screws about one turn.
- Adjust the brake position.
- The brake block must be approximately 15-20 mm from the tire when the brake is not being applied.
- Re-tighten the screws. Test the brakes!
The braking effect is dependent on the air pressure in the tires. The brakes are parking brakes and must not be used as motion brakes.
If the rear wheel is positioned in one of the forward settings it is possible for a leg support, when swung to the side, to unlock an applied brake. To avoid this, the brake handle should be adjusted so that you attain a “neutral” position. In this way the brake will only unlock when the handle is pushed close to the rear wheel.
- Loosen the screw on the inside of the brake handle.
- Remove the oval plate and turn it 180°. (The pin on the inside of the plate must sit in the upper hole.)
- Screw it into place again.

Adjustment of brake pin in certain rear wheel positions
Leg supports, variable angle adjustment
Never stand on the footplates as there is a risk of tipping! When lifting a wheelchair, remove the leg supports and lift using the frame (lower or upper part).
Always make sure that the screw and footplate knob are installed even if the footplate is not used.
Amputee leg support
Never sit on the amputee leg support. When lifting the wheelchair, remove the amputee leg support, swing away the other leg support (or remove it) and lift using the frame (lower or upper part).
Anti-tip
The anti-tips are height-adjustable.
After adjusting the seat height, center of balance or back support angle, always ensure that you check the function of the anti-tips.
The anti-tips are mounted on the tilters. Anti-tip active is mounted on the inside of the rear wheel bracket.
Changing camber angle
You can change the camber angle by changing the washers between the hub sleeve and the nut. (See also section “Seat height adjustment using the rear wheel position/rear wheel”).
Check that the hub axle of the rear wheel is set correctly. The button in the hub should pop out to its original position.
Toe-in, toe-out
Due to the design there is no need for a toe-in correction. Even when the rear wheel position is adjusted in height or center of balance the rear wheel attachment makes sure that the adjustment of the toe-in is always correct.
Handrails
The way in which the user is able to grip the handrails is influenced by the handrail’s material and its distance from the wheel. Foam rubber and plastic-coated handrails are available as options.
Foam rubber/plastic-coated hand rims give more friction.
Violent braking can cause mild friction burns (e.g. blisters).
Be aware that when passing through narrow spaces there is a risk of getting your fingers caught.
There is a risk of the user’s fingers getting caught in the spokes. We recommend the use of spoke guards.
Adjusting the distance of the handrail
Aluminum, stainless steel, plastic-coated and foam rubber handrails for 24” and 22” rear wheels: The distance between the wheel and the handrail can be adjusted by moving or exchanging the two spacers.
Drive wheels with quick-release axle
The distance between the hub sleeve and the locking balls can be adjusted by adjusting the nut on the outside of the hub. The distance between the hub sleeve and the locking balls should be 0.2 to 1.2 mm.
When assembling, always make sure that the quick release button in the hub springs out properly. Test by pulling the wheel.
Mounting/dismantling upholstery
The seat upholstery is fastened lengthways to the seat frame, and can easily be removed from the frame by unscrewing the end caps.
The back support upholstery is removed by loosening the Velcro straps.
Accessories – adjustment, handling
Assembly instructions are always provided with accessories when they are delivered from Etac.
Instructions are also available on our website www.etac.com Seat cushion and comfort wedge
The cushion is cut to the required depth at the front or back edge. When measuring the length, ensure that the cushion is properly positioned between the back tubes with rounded corners to the rear.
The cushion is a standard model and is not suitable for users with sitting sores.
A comfort wedge is a useful accessory for the seat cushion. It evens out the front edge of the seat, giving even greater seat comfort. Place the comfort wedge in the cushion cover’s inside pocket, under the cushion. The arrow on the comfort wedge should be on the top-side pointing forwards.
Sideguard/Splash guard
Head support
The head support is mounted onto the push brace (option, Back support 2C). The head support is
adjustable in height, depth and angle, and is detachable.
Before the head support is adjusted, ensure that the user has a good, secure sitting posture.
Check the balance of the wheelchair when the user leans against the head support. We recommend the use of anti-tips.
Technical data.
| Type of chair | Art. no. Crissy | Total width cm | Seat depth from back support, cm | Seat width | Back support angle | Weight | Max user weight | |
![]() | ![]() | ![]() | ![]() | ![]() | ![]() | ![]() | ![]() | |
|
Crissy Swing-
| 37.5 cm | 13230103 | 58. | 37-45 | 37.5 cm | 5° | 13.5 (29.8 Ibs) | 125 kg |
| 40 cm | 13230105 | 60.0 | 37-45 | 40 cm | 5° | 13.6 (29.9 Ibs) | 125 kg | |
| 42.5 cm 45 cm | 13230107 13230109 | 62.5 65.0 | 37-45 37-45 | 42.5 cm 45 cm | 5° 5° | 13.7 (30.2 Ibs) 13.8 (30.4 Ibs) | 125 kg | |
| 125 kg | ||||||||
| 47.5 cm | 13230111 | 68. | 37-45 | 47.5 cm | 5° | 13.9 (30.6 Ibs) | 125 kg | |
| 50 cm | 13230113 | 70.0 | 37-45 | 50 cm | 5° | 14.0 (30.8 Ibs) | 125 kg | |
| 37.5 cm | 13230203 | 58. | 37-45 | 37.5 cm | 5° | 13.0 (28.6 Ibs) | 125 kg | |
| 40 cm | 13230205 | 60.0 | 37-45 | 40 cm | 5° | 13.1 (28.9 Ibs) | 125 kg | |
| Crissy Active
| 42.5 cm | 13230207 | 63. | 37-45 | 42.5 cm | 5° | 13.2 (29.1 Ibs) | 125 kg |
| 45 cm | 13230209 | 65.0 | 37-45 | 45 cm | 5° | 13.3 (29.3 Ibs) | 125 kg | |
| 47.5 cm | 13230211 | 68. | 37-45 | 47.5 cm | 5° | 13.4 (29.5 Ibs) | 125 kg | |
| 50 cm | 13230213 | 70.0 | 37-45 | 50 cm | 5° | 13.5 (29.8 Ibs) | 125 kg |
| Seat height rear cm | Seat height front cm | Back sup- Seat height port height cm | Transport width cm | Total height cm | Total length cm | Leg sup- port length cm | Folded length cm | Leg support angle | Handrail size cm | |
![]() | ![]() | ![]() | ![]() | ![]() | ![]() | ![]() | ![]() | ![]() | ![]() | |
| away | 38.5-51 | 40.5-55 | 35-47.5 | 32 | 73-98.5 | 94-102 | 30-64 | 71-79 | 108°-114° | 56-60 |
| Crissy Active | 38.5-51 | 40.5-55 | 35-47.5 | 32 | 73-98.5 | 90-98 | 37-57 | 90-98 | 110° | 56-60 |
| Crissy Swing-Away | The weights given are for a chair with 24” rear wheels with quick-release hubs, back support 2B, high-pressure tyres, aluminum handrails, leg supports, footplates, brakes, mudguards, 6” castor wheels and medium fork. The measurements given may vary by ± 2%. |
| Crissy Active | The weights given are for a chair with 24” rear wheels with quick-release hubs, back support 2B, high-pressure tyres, aluminum handrails, footplates, brakes, mudguards, 5” castor wheels and a medium fork. The measurements given may vary by ± 2%. |

| High pressure 22“ | High pressure 24“ | Solid 24“ | Solid inner tube 22“ | Solid inner tube 24“ | High pressure 24“ (Carbon) | |
| 110/7.5 | 110/7.5 | – | – | – | 110/7.6 | |
![]() | 550 mm | 590 mm | 600 mm | 550 mm | 590 mm | 592 |
![]() | 25 mm | 25 mm | 32 mm | 25 mm | 25 mm | 23 mm |

Service and maintenance
Cleaning
It is important to keep the wheelchair clean, both for your own comfort and the longevity of the chair. It is equipped with a drainage hole which ensures that it is easy to wash and dry.
Back support and seat upholstery, padded arm support covers: See the washing instructions on the product.
Chassis, push handles and arm supports Everyday maintenance: Clean the chassis with a commercially available detergent without abrasives having a pH between 5 – 9. Rinse and dry.
Disinfection
Disinfect the chair with 70% disinfectant spray. Air dry.
Advanced maintenance/Reconditioning: See reconditioning instructions at www.etac.com
Please observe the application and safety instructions of the disinfectant manufacturer.
Rear wheel/castor
Tyre/inner tube: Check the tire pressure (see a side of tire) at least once a month, also check the tread.
Spokes: Loose spokes can lead to wheel wobble.
Consult a cycle dealer or your Technical Aids Centre if it is necessary to adjust the spokes.
Wheel axles: Clean the wheel axles from hair and dirt as necessary.
Ball bearings: Require no maintenance.
Handrails: If a handrail is damaged in such a way that it can cause hand injuries, it should be replaced.
Front fork attachment: To achieve the best-operating conditions, the attachments should be installed at 90°. Also, check that the front forks are correctly tightened. See the section “Disassembly/assembly of the front fork”.
Brakes
The braking effect is dependent on the air pressure in the tyres. Heavy dirt can have a negative effect on the brake mechanism. If adjustment is necessary, see the section
“Brake, adjustment”.
Touch-up paint
Touch-up paint is available for minor scratches and chips in all the frame colors available for the wheelchairs.
Miscellaneous
If there is a fault in your wheelchair you should contact your dealer or Technical Aids Centre. A defective wheelchair must not be used.
If your chair needs reconditioning or repair, only original parts from Etac or components with equal quality should be used.
Etac will not be held responsible for damage or injury caused by use of non-original parts.
When necessary lubricate moving parts/joints with bicycle oil or similar.
Tests and guarantees
CE marking, tests:
The product conforms to the requirements of the Medical Devices Regulation (EU) 2017/745.
The product has been tested and complies with the requirements set out in EN 12183, which includes ISO 8191-2.
Combination agreements exist – see www.etac.com.
Etac’s wheelchairs have been tested in accordance with ISO 7176-19. They have been crash-tested by the Technical Research Institute of Sweden. Testing was carried out using restraining device UNWIN_WWR/ATF/K/R and 3-point seat belt 907523, Klippan Safety AB.
Service life:
The anticipated durability and service life of the main product is at least five years when used as intended, and in accordance with the safety instructions, reconditioning manual, and maintenance instructions available in the user manual. The main product comprises the seat and back frame. Other parts/accessories are managed in accordance with the manual and reconditioning manual. The actual service life may vary depending on how often and how intensively the product is used but is at most 10 years. If the product is intended for use after the service life period specified by Etac, it is the responsibility of the product owner to ensure product functionality in accordance with the manual and
reconditioning instructions. If this cannot be ensured then the product should be taken out of use.
The following methods of surface treatment have been used:
Lacquered surfaces = Polyester powder coating or ED lacquering
Non-lacquered aluminum parts = Anodised coating
Non-lacquered steel surfaces = Galvanised
Non-lacquered/galvanized steel surfaces = Stainless steel The product is protected from corrosion.
Guarantee:
5-year guarantee against material and manufacturing defects.
For terms and conditions, see www.etac.com.
Special adaptations:
comprise everything that falls outside the instructions and settings in the manual. Wheelchairs specially adapted by customers are not eligible for Etac’s CE marking.
Etac’s guarantee no longer applies. If there are any doubts concerning the adaptation, please contact Etac for advice.
If the wheelchair is used in combination with another product, neither product may keep the CE marking unless a combination agreement is in place. Please contact Etac for up-to-date information.
To be sorted according to national regulations
| Etac Sverige AB Box 203 334 24 Anderstorp Sweden | Tel 0371-58 73 00 Fax 0371-58 73 90 [email protected] www.etac.se |
| Etac AB (export) Box 203 334 24 Anderstorp Sweden | Tel 46 371-58 73 30 Fax 46 371-58 73 90 [email protected] www.etac.com |
| Etac AS Pb 249, 1501 Moss, Norway | Tel 815 69 469 Fax 69 27 09 11 [email protected] www.etac.no |
| Etac A/S Egeskovvej 12 8700 Horsens Denmark | Tel 79 68 58 33 Fax 75 68 58 40 [email protected] www.etac.dk |
| R82, Inc. 12801 E. Independence Boulevard P.O. Box 1739 Matthews, NC 28106, USA | Tel 800 336 7684 Fax 704 882 0751 [email protected] www.etac.com |
![]() | Etac Supply Center AB Långgatan 12 SE-334 33 Anderstorp |
| Etac R82 GmbH Industriestraße 13 45699 Herten Germany | Tel 02366-5006-0 Fax 02366-5006-200 [email protected] www.etac.de |
| Etac R82 B.V. Thing 8 8445 PD Heerenveen, Nederland | Tel +31 72 547 04 39 [email protected] www.etac.com |
| Etac Ltd. Unit D4A, Coombswood Business Park East Coombswood Way, Halesowen West Midlands B62 8BH United Kingdom | Tel 0121 561 2222 Fax 0121 559 5437 [email protected] www.etac.com |




































































































