
AT-LP5X Fully Manual Direct Drive Turntable
User Manual
Introduction
Thank you for purchasing this Audio-Technica product.
Before using the product, please read through the Quick Start Guide and Caution Guide, as well as this user manual when necessary, to ensure that you use the product correctly.
This product can be used only in the countries where the product is sold. Make sure that the operating voltage and the plug of the AC adapter of the product are correct for the country you live in.
Package contents
Make sure that you have all the included items listed below before using this product.
If some items are missing or damaged, contact your local Audio-Technica dealer.

- AC adapter (approx. 1.5 m (4.9′))
- Quick start guide
- Caution guide
After purchase, we suggest that you save all packaging materials for possible future storage, moving, or shipping.
Safety precautions
Although this product was designed to be used safely, failing to use it correctly may result in an accident. To ensure safety, observe all warnings and cautions while using the product.
Important information
Warning:
To prevent fire or shock hazards, do not expose this apparatus to rain or moisture.
Caution:
- Do not expose this apparatus to drips or splashes.
- To avoid electric shock, do not open the cabinet.
- Refer servicing to qualified personnel only.
- Do not expose this apparatus to excessive heat such as sunshine, fire or the like.
- Do not subject this apparatus to strong impact.
- This apparatus should be located close enough to the AC outlet so that you can easily grasp the AC adapter at any time.
- In case of emergency, disconnect the AC adapter quickly.
- Do not place any objects filled with liquids, such as vases, on this apparatus.
- To prevent fire, do not place any naked flame sources (such as lighted candles) on this apparatus.
- Do not install this apparatus in a confined space such as a bookcase or similar unit.
- Install this apparatus only in a place where ventilation is good.
For customers in the USA
FCC Notice
Warning:
This device complies with Part 15 of the FCC Rules. Operation is subject to the following two conditions: (1) This device may not cause harmful interference, and (2) this device must accept any interference received, including interference that may cause undesired operation.
Caution:
You are cautioned that any changes or modifications not expressly approved in this manual could void your authority to operate this equipment.
Note: This equipment has been tested and found to comply with the limits for a Class B digital device, pursuant to part 15 of the FCC Rules. These limits are designed to provide reasonable protection against harmful interference in a residential installation. This equipment generates, uses and can radiate radio frequency energy and, if not installed and used in accordance with the instructions, may cause harmful interference to radio communications. However, there is no guarantee that interference will not occur in a particular installation. If this equipment does cause harmful interference to radio or television reception, which can be determined by turning the equipment off and on, the user is encouraged to try to correct the interference by one or more of the following measures:
- Reorient or relocate the receiving antenna.
- Increase the separation between the equipment and receiver.
- Connect the equipment into an outlet on a circuit different from that to which the receiver is connected.
- Consult the dealer or an experienced radio/TV technician for help.
Contact:
Responsible Company: Audio-Technica U.S., Inc.
Address: 1221 Commerce Drive, Stow, Ohio 44224, USA
Tel: 330-686-2600
For customers in Canada
IC statement:
CAN ICES-3 (B)/NMB-3(B)
Notes on use
Turntable body
- Do not set and use the product in locations that are considered hot or humid, dirty, or subject to extreme vibrations.
- The product should be positioned on a flat, level surface.
Cartridge
- Attach the protector to protect the stylus when the product is not in use.
- Do not touch the stylus of the cartridge with your finger.
- Do not allow the cartridge’s stylus to bump against the platter or the edge of the record.
Part names and functions
Top view diagram 
- Spindle
- Platter
Cast aluminum platter mounts directly to center spindle/motor shaft. - Rubber mat
- Power indicator
Lights in blue: ready to play (AC adapter is connected to the product, supplying full power).
Lights in red: standby mode (power consumption is reduced after 30 minutes of nonuse). - Control knob
Use to start and stop, as well as select the platter’s speed. - Tonearm
For details, refer to “Tonearm” on p. 5. - Dust cover hinge holders
Attachment points for dust cover hinges.
Front and rear view diagram 
- Dust cover
- Feet
Adjust the level of the product. - Pre-amplifier selector switch
If using an amplifier with a PHONO input jack, set this switch to the PHONO position. If connecting to the AUX jack of an amplifier, set this switch to the LINE position. - Stereo output terminals
Connect the RCA audio cable. Connect it to either the amplifier’s PHONO input jack or its line input jack. The red terminal is the right channel and the white terminal is the left channel. - MM (VM)/MC cartridge selector switch
If using an MM (VM) cartridge, set this switch to the MM position.
If using an MC cartridge, set this switch to the MC position. - Ground (earth) terminal
Connect the amplifier’s ground (earth) terminal to this terminal using the RCA audio cable’s ground line. - USB output
Use this output to connect your turntable to the USB input of your computer. - Power input jack
Connect the AC adapter.
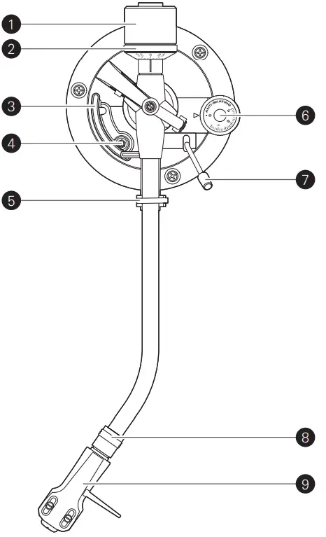
Tonearm 
- Counterweight
Balances the tonearm and adjusts to provide the proper tracking force. - Tracking force gauge ring
Use to adjust the tracking force. - Tonearm lift
Moves the tonearm vertically to and from the face of the record. - Tonearm lift adjust screw
Use to set the amount of tonearm lift. - Tonearm rest with clamp
Use the clamp to secure the tonearm so that it does not move. - Anti-skate control dial
While the record is playing, a force acts on the stylus tip to pull it inward. This force can be counteracted by setting the same values for the anti-skate and the tracking force. - Tonearm lift control lever
Operates the tonearm lift. - Locking ring
Rotate the ring to the left (counterclockwise) to secure the headshell. To remove the headshell, rotate the ring to the right. - Headshell
The cartridge (AT-VM95E) is attached to the headshell (AT-HS6).
Preparation for use
Placing the platter
This product requires some assembly before using it for the first time.
Do not connect the AC adapter until assembly is complete.
- Set the platter on the spindle.
• Make sure that the control knob is in the “STOP” position.
• To avoid damaging the spindle when seating the platter, align the positions of the spindle and the platter’s hole, and then slowly seat the platter.
• Make certain that the platter is fully seated on the spindle. - Place the rubber mat on top of the platter.

Setting up the turntable
- Position the product on a level surface.
- To avoid the effects of vibrations and acoustic pressure, do not mount the product next to such items as speakers.
- The product may pick up radio static if placed next to a radio. Therefore, try to keep the product away from radios.
- If the product is near equipment (cell phone, etc.) that emits strong radio waves, noise may occur.
Leveling the turntable
- After positioning the product where you want to use it, adjust the feet so that the product is level.
• Use a level (sold separately) as needed to ensure that the product is level.
Assembling the tonearm
- Remove the cable tie used to secure the tonearm at the time of delivery.
• Use the clamp to temporarily secure the tonearm to the tonearm rest.
- Insert the headshell into the tonearm.
• Hold the right and left edges of the headshell so that you do not damage the stylus or cut the cartridge’s wires. - With the headshell inserted, turn the locking ring counterclockwise (to the left).

- With the tracking force gauge ring facing forward, attach the counterweight to the back of the tonearm, and slowly turn it counterclockwise (to the left).

Tonearm balance and tracking force
In order for the cartridge to pick up sound correctly from the record’s grooves, the tonearm’s balance, and tracking force must be adjusted to fit the specifications of the cartridge. If the tonearm’s balance and tracking force are not properly adjusted, the record or the cartridge’s stylus may become damaged.
• Do not drag the cartridge’s stylus across the record or platter when adjusting the tonearm’s balance or tracking force. Doing so may damage the stylus.
Setting tonearm balance
- Remove the cartridge’s protector.

- While lightly holding the headshell to prevent the tonearm from moving, unlatch the clamp.
• The tonearm is tilted because the balance has yet to be adjusted.
- While still lightly holding the headshell, turn the counterweight to adjust the tonearm’s balance.
• Adjust the balance so that the tonearm is level when you release the headshell.
- Return the tonearm to the tonearm rest and latch the clamp.
Setting tracking force
- While supporting the counterweight so that it does not move, turn the tracking force gauge ring so that its “0” position lines up with the centerline on the back of the tonearm.
• The tracking force is not adjusted simply by turning the tracking force gauge ring.
- Turn the counterweight and the tracking force gauge ring together counterclockwise (to the left) until the centerline value matches the recommended tracking force value for the cartridge you are using.
• Refer to the cartridge maker’s specifications for the recommended tracking force value.
• The standard tracking force value for the cartridge provided with this product is 2.0 g.
Setting the anti-skate adjustment
While the record is playing, a force acts on the stylus tip to pull it inward. This force can be counteracted by setting the same values for the anti-skate and the tracking force.
- Adjust the anti-skate control dial to have the same value as the tracking force value.
• The standard tracking force value for the cartridge provided with this product is 2.0 g.
Installing/removing the dust cover
The dust cover is designed to protect the product’s sensitive components when the product is not in use.
When attaching the dust cover, insert the dust cover hinges into the two dust cover hinge holders on the back of the body. When removing the dust cover, open the dust cover first, and then slowly pull the dust cover out from the dust cover hinge holders.
Setting MM (VM)/MC cartridge selector switch
If using a moving magnet (MM or VM) cartridge, set this switch to the MM position. If using a moving coil (MC) cartridge, set this switch to the MC position.
• This switch is set to the MM position at the time of purchase.
Because the cartridge (AT-VM95E) included with the product is a VM stereo cartridge, keep the switch in the MM position as long as you continue to use the cartridge.
Setting pre-amplifier selector switch
This product has a built-in phono equalizer function. You can use the product, even if you do not have a phono amplifier or connectable equipment with a built-in phono amplifier, by connecting an active speaker, etc.
Use the pre-amplifier selector switch to set the output, as shown below.
| Connectable equipment being used | Position of the pre-amplifier selector switch | Where to connect the RCA audio cable |
| A device with phono input | PHONO | Phono input jack and ground (earth) terminal of connectable equipment |
| A device without phono input | LINE | AUX or line input jack of connectable equipment |
| PC sound card | LINE | Sound card’s line input jack*, |
| A device with USB input | LINE | USB input of your computer*2 |
*1 An audio adapter (sold separately) may be required to connect the RCA audio cable to the PC sound card’s line input jack.
*2 Use included USB cable instead of RCA audio cable to connect.
Connecting to connectable equipment (active speakers, amplifiers, etc.)
Connecting to the audio source
Align the settings for the pre-amplifier selector switch and connect the RCA audio cable to a compatible input jack on the connectable equipment you are using (amplifier, receiver, active speakers, sound card, etc.).
• The RCA audio cable’s red jack is for the right (R) channel, and the white jack is for the left (L) channel.
* Depending on the equipment you are connecting, a ground (earth) terminal may exist near the phono input jack. If this is the case, connect to it using the ground line from the RCA audio cable. This will help prevent a low humming noise that might otherwise be heard during playback.
Connecting to computers with USB input
Follow the settings for the pre-amplifier selector switch to connect the included USB cable to the USB input of your computer.
- The included USB cable connects the product to your computer without the need for special drivers.
- Audacity® (refer to www.audacityteam.org for details) and other compatible third-party recording software packages are available, allowing you to record from the product to your computer.
- “Audacity” is a trademark of Dominic Mazzoni.
- Be sure to set the pre-amplifier selector switch to the LINE position.

Connecting the AC adapter
This product does not have a power switch. A standby current is always running through the product, even when it is not being used; disconnect the AC adapter from the outlet when not using the product for a long period of time.
- Connect the AC adapter’s cord to the power input jack.
- Plug the AC adapter into an outlet.
• Make sure that the control knob is in the “STOP” position.
• If you play a record immediately after plugging the AC adapter into an outlet, the sound that is played may be garbled. Wait a short time (about 30 seconds) after plugging the AC adapter into the outlet before playing a record.
Playing a record
Before playing a record
- Remove the cartridge’s protector.
• If the tonearm is fixed to the tonearm rest, unlatch the clamp.
- Place the record on the rubber mat so that the center hole aligns with the spindle.
• If playing a 45 RPM record, attach the 45 RPM adapter (see the diagram to the right below).
Playing a record
Lower the volume of the amplifier, speakers, etc., sufficiently.
- Use the control knob to set the platter rotation speed (33/45/78) to match that of the record.
• The platter begins to rotate. - Raise the tonearm by lifting the tonearm lift control lever to the UP position.

- Position the tonearm over the desired location (groove) on the record.

- Lower the tonearm by moving the tonearm lift control lever to the DOWN position. The tonearm descends slowly onto the record and play begins.
• Alternatively, you can skip steps 2 to 4, and use your fingers to lift the headshell, move the tonearm over the desired location on the record, and then place the headshell down to begin playing the record.
• Do not subject the product to a strong impact during playback.
Pausing the record
- After lowering the volume of the amplifier, speakers, etc., sufficiently, lift the tonearm with the tonearm lift control lever.
Stopping the record
- Lower the volume of the amplifier, speakers, etc. sufficiently.

- Lift the tonearm lift control lever.

- Return the tonearm to the tonearm rest and fix it with the clamp.

- Turn the control knob to the “STOP” position.
• The platter slows down and rotation stops.
- Remove the record after the platter has come to a complete stop.
- To prevent the record from becoming scratched or warped, remove it after use.
- Do not use a platter other than the one provided.
- The product is not intended for DJs. Do not touch the record or the platter while the record is playing.
- If the product is not used for more than 30 minutes, it will enter standby mode and the power indicator will light red. To exit standby mode, turn the control knob to the platter rotation speed (33/45/78) position. The power indicator will light blue again.
Care
Turntable body
- When the turntable body is dirty or dusty, first disconnect the AC adapter’s cord, and then wipe off the dirt and dust with a soft, dry cloth.
- Do not use benzenes, thinners, etc.
- When storing the product for a long time, disconnect the AC adapter’s cord from the outlet and wrap the equipment in plastic; do not allow it to become damp.
Stylus tip
- If dirt and grime are stuck to the stylus tip, clean it before each use.
- We recommend using a stylus cleaner (sold separately) if the stylus tip is considered dirty. Clean the stylus tip by moving the brush from the rear to the front of the stylus tip.

Replacing the stylus
Removing the stylus
- In addition to the deterioration of sound quality, records may also be damaged as the cartridge’s stylus tip wears down.
- As a rule of thumb, replace the stylus after 300 hours of use.
- Be sure to disconnect the product’s AC adapter from the outlet.
- Release the headshell from the tonearm.
• Fix the tonearm with the clamp and then remove the headshell gently. - After removing the cartridge’s protector, remove the stylus by pulling in the direction of the arrow without touching the cantilever, stylus tip, and magnets.

Installing a new replacement stylus
- Mount the new replacement stylus to the cartridge.

- Mount the headshell onto the tonearm.
Replacing a cartridge
Refer to the user manual for the cartridge that you will be using if you are replacing the cartridge (AT-VM95E) included with this product with another, commercially available cartridge. After you replace the old cartridge with a new one, you must readjust the overhang and the tonearm’s balance and tracking force.
- Release the headshell from the tonearm.
• Use the clamp to secure the tonearm and then remove the headshell gently. - Remove the stylus from the cartridge.
- Remove the lead tips.
• Be careful not to damage the lead tips. - Using a commercially sold, non-metallic slotted screwdriver, remove the installation screws, and then remove the cartridge from the headshell.
- Refer to the user manual for the new cartridge for mounting instructions and connecting to the lead tips.

- Using a commercially sold, non-metallic slotted screwdriver, tighten the screws in both places, and then adjust the overhang.
• After the adjustments are complete, tighten the screws securely. - Attach the headshell to the tonearm.
- Adjust the tonearm balance and tracking force.
• Refer to “Setting tonearm balance” and “Setting tracking force” on p. 7.
When the turntable is moved
Using the product’s original packing materials, wrap the turntable in the reverse order from when you unwrapped it. If you do not have the packaging materials, take the following measures:
- After unplugging the AC adapter from the outlet, remove the platter, and then wrap it so that it does not get damaged. If the product is moved while the platter is still seated, it may damage the spindle.
- Fix the tonearm with the clamp.
- Remove the counterweight.
- Remove the headshell from the tonearm with the cartridge’s protector attached, and then wrap the entire headshell assembly so that it does not get damaged.
- Wrap the turntable body with a soft cloth so that it does not get damaged.
Troubleshooting
| Problem | Solution |
| The platter does not spin. | • Is the AC adapter connected to the outlet? Connect AC adapter to the outlet. • Has the AC adapter’s plug come off? Check whether or not the plug is properly attached to the AC adapter. |
| The platter spins, but there is no sound or the volume is not loud enough. | • Is the cartridge’s protector still in place? Remove the cartridge’s protector. • Is the tonearm in the lift position? Lower the tonearm. • Are the function settings and input for connected equipment (amplifier, etc.) selected correctly? Check whether the settings for the connected equipment are correct. • Is the stylus damaged? Check the stylus and replace it, if necessary. • Is the stylus placed correctly on the body of the cartridge? Check the cartridge and adjust it, if necessary. • Are the setting positions for the pre-amplifier selector switch correct? Check that the pre-amplifier settings are correct, noting the following common problems and their causes: – If there is no sound, or if the volume is not loud enough, the product is set to the “PHONO” position and connected to the amplifier’s AUX/LINE input. – If the volume is too loud or is distorted, the product is set to the “LINE” position and connected to the amplifier’s PHONO input. • If using an MC cartridge and setting the MM (VM)/MC cartridge selector switch to the MM position, the volume becomes low. Set the switch to the MC position. • Is the tracking force set too heavy? Adjust the tracking force. |
| The stylus skips. | • Is the tracking force set too light or too heavy? Adjust the tracking force. • Is the anti-skate set improperly? Verify that anti-skate is set for the same value as cartridge tracking force. • Is the record warped? Check the record. • Is the record scratched? Check the record. |
| There is howling. | • Is the product picking up excessive vibrations from the floor, surfaces of the walls, or nearby speakers? Decrease the vibrations or mount the product on a surface that is not subject to the effects of vibrations. • Is the product mounted on an unstable surface? Check whether the surface on which the product is mounted is suitable. |
| There is noise when the record is playing. | • Is there dust on the cartridge’s stylus tip? If dust is stuck to the stylus tip, clean it with a commercially sold brush. |
| The sound when the record is playing is either too fast or too slow. | • Are the speed settings for the product correct? Use the control knob to select the correct speed for the type of record being played. |
| Humming is heard during playback. | • Is the ground line connected correctly? Make sure the ground line is properly connected. • Is the headshell attached to the tonearm firmly? Make sure the locking ring is tight. |
Dimensions

Specifications
| Turntable specifications | |
| Type | 3-speed, fully manual operation |
| Motor | DC servo motor |
| Drive method | Direct drive |
| Speeds | 33-1/3 RPM, 45 RPM, 78 RPM |
| Turntable platter | Die-cast aluminum |
| Starting Torque | > 1.0 kgf.cm |
| Braking System | Electronic brake |
| Wow and flutter | < 0.2% WRMS (33 RPM) at 3 kHz |
| Signal-to-noise ratio | > 50 dB |
| Output levels “PHONO” “LINE (MM)” | 4 mV nominal at 1 kHz, 5 cm/sec 250 mV nominal at 1 kHz, 5 cm/sec |
| Phono Pre-amp gain (MM) Phono Pre-amp gain (MC) | 36 dB nominal, RIAA equalized 56 dB nominal, RIAA equalized |
| Tonearm specifications | |
| Type | Static balanced J-shaped tonearm |
| Effective length | 247 mm |
| Overhang | 17 mm |
| Maximum tracking error angle | Less than 3° |
| Stylus pressure adjustment range | 0 to 4 g |
| Applicable cartridge weight range (including headshell) | 15 to 20 g |
| Cartridge and headshell specifications | |
| Cartridge Model | AT-VM95E |
| Cartridge Type | VM |
| Recommended load impedance | 47,000 ohms |
| Output voltage | 4.0 mV (1 kHz, 5 cm/sec) |
| Stylus | 0.3 × 0.7 mil bonded elliptical stylus |
| Cantilever | Aluminum pipe |
| Tracking force range | 1.8 to 2.2 g (2.0 g standard) |
| Cartridge weight | 6.1 g (0.22 oz) |
| Headshell model | AT-HS6 |
| Headshell weight | 9.3 g (0.33 oz) (including lead wire) |
| Headshell overhang adjustment | ± 5 mm |
| USB function | |
| A/D | 16 bit 44.1 kHz or 48 kHz USB selectable |
| Computer interface | USB 2.0 Compliant Windows 7 or above, or MAC OSX or above |
| General specifications | |
| Power supply requirements | 100 to 240 V, 50/60 Hz, 0.6 A Max. |
| Power consumption | 3 W |
| AC Adapter | 12 V, 2 A |
| Dimensions | 450.0 mm (17.72″) × 352.0 mm (13.86″) × 157.0 mm (6.18″)(W × D × H) |
| Weight | 7.3 kg (16.1 lbs) |
| Accessories | Dust cover, Rubber mat, Platter, Counterweight, Headshell (AT-HS6) with VM stereo cartridge (AT-VM95E), 45 RPM adapter, Dust cover hinges, USB cable (1.9 m (6.2′)), RCA audio cable (approx. 1.0 m (3.3′)), AC adapter (approx. 1.5 m (4.9′) |
| Replacement stylus (sold separately) | AT-VMN95E |
| Replacement headshell (sold separately) | AT-HS6 |
| Specifications are subject to change without notice due to improvements. | |
Audio-Technica Corporation
2-46-1 Nishi-Naruse, Machida, Tokyo 194-8666, Japan
©2021 Audio-Technica Corporation
Global Support Contact: www.at-globalsupport.com
TURNTABLE QUICK START GUIDE
AT-LP5X
INFORMATION 
CONTENTS

PREPARATION

CONNECTION

PLAY

STOP

CLEANING
For details about turntable and cartridge care accessories, visit www.audio-technica.com. 
Audio-Technica Corporation
2-46-1 Nishi-Naruse, Machida, Tokyo 194-8666, Japan
www.audio-technica.co.jp
2019 Audio-Technica Corporation
ver.1 2019.05.01
162501840-01-02 ver.2 2019.07.15
AT-LP5X
Thank you for purchasing this Audio-Technica product.
Before using the product, read through this caution guide to ensure that you will use the product correctly. Please keep this manual for future reference.
■Safety precautions
Although this product was designed to be used safely, failing to use it correctly may result in an accident. To ensure safety, observe all warnings and cautions while using the product.
■Important information
Warning:
To prevent fire or shock hazards, do not expose this apparatus to rain or moisture.
Caution:
- Do not expose this apparatus to drips or splashes.
- To avoid electric shock, do not open the cabinet.
- Refer servicing to qualified personnel only.
- Do not expose this apparatus to excessive heat such as sunshine, fire, or the like.
- Do not subject this apparatus to strong impact.
- This apparatus should be located close enough to the AC outlet so that you can easily grasp the AC adapter at any time.
- In case of emergency, disconnect the AC adapter quickly.
- Do not place any objects filled with liquids, such as vases, on this apparatus.
- To prevent fire, do not place any naked flame sources (such as lighted candles) on this apparatus.
- Do not install this apparatus in a confined space such as a bookcase or similar unit.
- Install this apparatus only in a place where ventilation is good.
■For customers in the USA
FCC Notice
Warning:
This device complies with Part 15 of the FCC Rules.
Operation is subject to the following two conditions:
- This device may not cause harmful interference, and
- this device must accept any interference received, including interference that may cause undesired operation.
Caution:
You are cautioned that any changes or modifications not expressly approved in this manual could void your authority to operate this equipment.
Note: This equipment has been tested and found to comply with the limits for a Class B digital device, pursuant to part 15 of the FCC Rules. These limits are designed to provide reasonable protection against harmful interference in a residential installation. This equipment generates, uses, and can radiate radio frequency energy and, if not installed and used in accordance with the instructions, may cause harmful interference to radio communications. However, there is no guarantee that interference will not occur in a particular installation. If this equipment does cause harmful interference to radio or television reception, which can be determined by turning the equipment off and on, the user is encouraged to try to correct the interference by one or more of the following measures:
- Reorient or relocate the receiving antenna.
- Increase the separation between the equipment and receiver.
- Connect the equipment into an outlet on a circuit different from that to which the receiver is connected.
- Consult the dealer or an experienced radio/TV technician for help.
■For customers in Canada
IC statement:
CAN ICES-3 (B)/NMB-3(B)
Disposal of Old Electrical & Electronic Equipment (Applicable in European countries with separation collection systems
This symbol on the product or on its packaging indicates that this product shall not be treated as household waste. Instead, it shall be handed over to the applicable collection point for the recycling of electrical and electronic equipment. By ensuring this product is disposed of correctly, you will help prevent potential negative consequences for the environment and human health, which could otherwise be caused by inappropriate waste handling of this product. The recycling of materials will help to conserve natural resources. For more detailed information about recycling this product, please contact your local city office, your household waste disposal service, or the shop where you purchased the product.
Importer for Europe
Audio- Technica Dutch Branch
Waardsedijk-Oost 7, 3417XJ Montfoort, The Netherlands
Manufactured by
Audio- Technica Corporation
2-46-1 Nishi-Naruse, Machida, Tokyo 194-8666, Japan
Audio-Technica Corporation
2-46-1 Nishi-Naruse, Machida, Tokyo 194-8666, Japan
©2019 Audio-Technica Corporation
Global Support Contact: www.at-globalsupport.com
162501880-01-03
ver.3 2019.08.01
ver.1 2019.05.15
TCF No. AEENLF-ACC1907001
SUPPLIER’S DECLARATION OF CONFORMITY
This device complies with Part 15 of the FCC Rules. Operation is subject to the following two conditions:
- This device may not cause harmful interference, and
- This device must accept any interference received, including interference that may cause undesired operation.
Responsible Company: Audio-Technica U.S., Inc.
Address: 1221 Commerce Drive, Stow, Ohio 44224, U.S.A.
Contact Person: Michael Edwards
Phone No.: 330-686-2600
Fax No.: 330-688-3752
Trade Name: audio-Technica
Model Number: AT-LP5X
We hereby declare that the equipment bearing the trade name and model number specified above was tested conforming to the applicable FCC Rules under the most accurate measurement standards possible and that all the necessary steps have been taken and are in force to assure that the production unit of the same equipment will continue to comply with the Commission’s requirements.
![]()
Date: July 26, 2019











































