MOOER X2 Series R7 X2 Stereo Reverb Pedal

Precautions
PLEASE READ CAREFULLY BEFORE PROCEEDING
Power Supply
Please connect the designated AC adapter to an AC outlet of the correct voltage. Be sure to only use an AC adapter which supplies 9V DC, 300mA. Unplug the AC power adapter when not in use or during electrical storms.
Location
To avoid deformation, discoloration, or other serious damage, do not expose this unit to the following conditions:
- Direct sunlight or other heat sources
- Excessively dusty or dirty locations
- High humidity or moisture
- Magnetic fields
- Strong vibrations or shocks
Radio Frequency Interference
Radios and televisions placed nearby may experience reception interference. Operate this unit at a suitable distance from radios and televisions.
Cleaning
Clean only with a soft, dry cloth. If necessary, slightly moisten the cloth. Do not use abrasive cleanser, cleaning alcohol, paint thinners, wax, solvents, cleaning fluids, or chemical-impregnated wiping cloths.
Feature
- 14 different types of high-quality stereo reverb.
- Storablep reset for each effect can be recalled quickly.
- “INFINITE”function for endless reverb tail, a perfect choice for creating atmosphere.
- Tap foots witch to change preset.
- Trail On function allows effects to fade out naturally. You can toggle between ON and OFF seamlessly.
Layout


- HC
Control high frequency cut of reverb. 2.2kHz for Off. Frequency Range (Hz) 20kHz~2.2kHz - MIX
Control the mix rate of dry signal and reverb. Minimum level : 100% dry signal ,0% reverb . Median level: 50% dry signal , 50% reverb. Maximum level(kill dry): 0%dry signal , 100% reverb. - LC
Control low frequency cut of reverb. 20Hz for Off.Frequency Range (Hz) 20Hz~520Hz - DECAY
Adjusts the length of the reverb decay. - SAVE
Press to cycle through preset slots. Press and hold SAVE to save current audio file. - PRE-DLY
Control reverb-delay ( at the preset slot of Spring reverb,the parameter simulates the length of the spring) - Left foots witch LED
Indicates the on/off of the INFINITE effect. When it is on, the indicator will flash. - Right foots witch LED
Indicates the on/off, trail on/off of the pedal, Blue: On; Red: OFF - Left foots witch
In normal mode, press and hold the foots witch to activate INFINITE mode. Roll up slots in preset select mode. - Right foots witch
Press to switch on/off. Roll down slots in preset select mode. - LED indicator
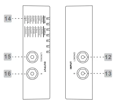
Indicates current preset bank, preset patch, changing/storing of presets. Yellow: Preset 1~7; Purple: Preset8~14 - INPUT (MONO) L
1/4” mono audio input. - INPUT R
1/4” mono audio input. - Effect list
Shows the 14 different effects name. - .OUTPUT (MONO) L
1/4″mono audio output. - OUTPUT R
1/4” mono audio input - DC IN
9V/300mA power supply (Center negative). Original power supply is recommended to avoid unexpected noise. - Effect list
Connections
MONO setup

MONO setup on the FX LOOP of amplifier

Stereo setup

Factory Reset
Stereo Setup with FX LOOP of amplifier

Instructions
Select effect
- Normal mode. Turn on the pedal and press the SAVE button to switch between each effect.
- Preset rolling mode. Turn the pedal on and press TAP and BYPASS simultaneously to enter preset switching mode which will be indicated by the foots witch LED and SAVE button blinking in red. In this mode, users can roll down/up through each effect by using the TAP and BYPASS foots witches. The pedal will exit rolling mode if the pedal is idle for 3 seconds.
Preset saving
The LED indicator will blink slowly when any parameter has been changed. Users can press and hold the SAVE button to store changes. The LED indicator will blink quickly for a short duration to confirm saving. Alternatively, users can quickly press the SAVE button again to cancel those changes.
Trail On/Off
After turning on the pedal, press and hold the BYPASS footswitch for 2 seconds. The BYPASS indicator will blink and change color to confirm. The blue LED indicates trail mode is on while Red indicates trail mode is off.
Factory reset
Unplug the power cord then press and hold the SAVE button while powering on the pedal again. The 7 LEDs will start to blink slowly. Release the SAVE button and the LED indicator will blink quickly to confirm a successful factory reset. You can unplug the power cord before releasing the SAVE button to cancel the factory reset.
* Factory reset will clear all presets stored by user.
Effect List

Specifications



















