defender 64346 Rock Gaming Chair User Manual
Attention!
- Verify all parts before assembly.
- The pictures in this guide may not look like your chair, but instruction guide is the same regardless of model.
- Do not use the chair unless all bolts and screws are tight.
- At least every six months check all bolts and screws to ensure they are tight, when the screws and bolts are in loose position. It may cause danger or making noise.
- Do not use the chair as a step stool/ladder.
- Do not use the water to clean the chair, only use dry clean to wipe the dust or use the professional leather clean tool.
| Model name | Rock |
| Chair color L | Black/Red |
| Weight capacity | <120kg |
| Height limit | <1.8m |
| Foam type | High density moulded foam |
| Frame type | Wooden + metal steel |
| Mechanism type | Double handle adjustment mechanism |
| Rocking mechanism | 3° -18° |
| Gas lift class & height | Level 4, max. 100mm |
| Base size & type | 350mm, nylon base |
| Caster size & material | 50mm, nylon |
| Cover material | PVC leather |
| Overall dimension (W x D x H) | 60x47x120-130cm |
| Backrest dimension (W x T x H) | 60x6x79.5cm |
| Seat dimension (W x D x H) | 48x47x43-53cm |
| Product weight | 16.2kg |
Chair Parts
- Part 1-Backrest x1

- Part 2 Seat x1

- Part 3 – armrest x2

- Part 4 modular star base x1

- Part 5- caster x5

- Part 6 gas lift and cover

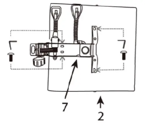
- Part 7 Butterfly mechanism x1

- Part 8 backrest mount x1

- Part 9 headrest x1

- Part 10 lumber pilllow x1

- Part 10- footrest x1

- Part 12- footrest mount x2

- Part 13- footrest support x1

- Mounting kit x1

Please check and ensure the following parts are in the package. If any parts are missing or not included, please call the local distributor for assistance.
How To Assemble
- Assemble The Star base 4

- Push and twist the caster A into the star base B.

- Place the gas lift 6 into the star base 4. Place the gas lift cover over the gas lift.

- Fasten the butterfly mechanism 7 over the seat 2. Use the screws and hex wrench.

- Place the seat 2 on the gas lift.

- Fasten the backrest mount 8 to the back of the backrest 1 with screws and shims.

- Insert the backrest mount to the hole in the butterfly mechanism and secure it by turning the handle.

- Fasten the armrests with screws. Close the screw holes with caps.

- Secure the footrest mounts 12 to the underside of the seat 2 with screws.

- Secure the footrest 11 the screws on the footrest support 13. Insert the footrest support into the footrest mounts 12.

Pull out the footrest.
Flip the foot pillow over.
Press the handle A to change the seat height. Press the handle B to change the angle of the backrest.
Manufacturer: Anji Mang Furniture Co.,Ltd Address: 4th Floor, Bada Logistics Building, Logistics Park, Sunshine Industrial Zone, Town, Anji County, Zhejiang Province, China. Made in China. IMPORTER in Ell / Importer / Defender Technology Op, 11, 11415, Tallinn, Estonia.
www.defender-globalcom









































