babo cush Ergonomic Baby Bouncer

IMPORTANT! KEEP FOR FUTURE REFERENCE
Read these instructions carefully before use.
Your child may be hurt if you do not follow the instructions.
CONTACT
- Compliant to BS EN 12790:2009 and ASTM F2167-19
- Customer care email: [email protected]
- Customer care telephone number: +44 (0) 207 298 2700
SAFETY INSTRUCTION
- WARNING!
Read these instructions carefully before use and keep them for future reference. Your baby may be hurt if you do not follow the instructions. - WARNING!
Your child’s safety is your responsibility. - WARNING!
Only use the bouncer on the floor. - WARNING!
Never Lift or carry your baby in the bouncer. - WARNING!
Never Leave your baby unattended. - WARNING!
Make sure older children are not allowed to rock the baby too Forcefully. - WARNING!
Child’s activity may move the bouncer. - WARNING!
Always use restraints and adjust to fit snug. - WARNING!
Chair can collapse if Latch is not Fully engaged. Moving parts might amputate child’s fingers. - WARNING!
Keep fingers away From moving parts. - WARNING!
Stop using bouncer when your baby starts trying to sit up or has reached 9 kg/20 Lbs, whichever comes first. Stop using chair when your baby has reached 9 kg/20 Lbs. - WARNING!
Do not use the bouncer if any components are broken or missing. Your baby may be hurt. Do not use bouncer once your child can sit unaided. Do not use near stair/ steps. Do not allow child to Fold or unfold the bouncer. Do not allow other children to play with the bouncer. Do not place the bouncer near open fires and hot surfaces. Your baby may burn itself. Do not position dose to items such as curtains and electrical flexes as they could pose a danger of suffocation and strangultion.
Features List

- A. Super soft double jersey Fabric
- B. Base
- C. Strong secure 3-point harness
- D. Metal Frame
- E. Secure loop holes For Comfort Cushion accessory
Installation
Setting up the bouncer
- Place the bouncer on the floor with the metal Frame side Facing down
- Reach under the Fabric cover and push the red button to release the Latch

- Lift Latch cover.

- Slide the Lock mechanism along to achieve the desired height and position of bouncer
- Close the Latch
- Confirm that the Latch has been securely Locked into position
Placing the baby in the bouncer
- Open the harness buckles
- Fold the harness down and out of the way
- Place the baby in the centre of the Fabric seat
- Lift the harness up positioning it in between the baby’s Legs
- Insert and Lock the buckles on each side of the baby
- Pull the buckle adjustment ribbon to tighten the harness to fit snug
- Make sure the harness is not over tightened and does not squeeze the baby

Removing the baby from the bouncer
- Open the buckle on each side of the harness
- Fold harness down and out of the way
- Remove the baby
- The babocush Ergonomic Baby Bouncer can be used as a bouncer or as a chair. It may be used as a bouncer From newborn until the child can sit up unaided. The bouncer is suitable For children up to 9 kg/20 lbs. Once the child can walk or sit up without help, you can turn the Fabric around to create a chair. The chair is suitable For children up to 9 kg/20 lbs or 2 years old.
- The babocush Ergonomic Baby Bouncer may be paired with the babocush Comfort Cushion For ultimate comfort and colic relief.
Attaching the babocush Comfort Cushion to the bouncer
- Place the babocush Comfort Cushion onto the bouncer with the control box end pointing up
- Fasten the straps of the Comfort Cushion around the underside of the bouncer, making use of the Four dips on the bouncer
- Tighten the straps Fully to ensure the Comfort Cushion is held in position

Position
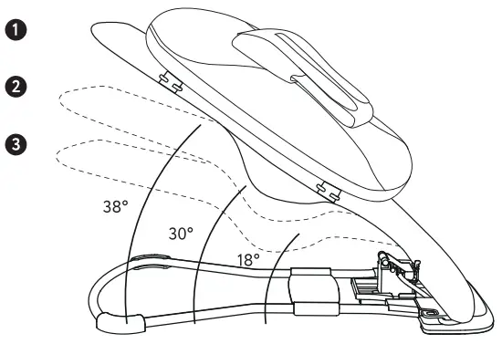
The babocush Ergonomic Baby Bouncer has three different recline positions. The lowest position is recommended For newborns sitting in the bouncer. The higher position is recommended For when the child can hold his or her back and head upright
- TYPE 1:

- Maximum weight For the highest position when the product is used as a bouncer: 9 kg/20 lbs
- Maximum weight For the medium position when the product is used as a bouncer: 9 kg/20 lbs
- Maximum weight For the lowest position when the product is used as a bouncer: 6 kg/13 lbs
- TYPE 2:

- Maximum weight For the highest 0 position when the product is used as a chair: 9 kg/20 Lbs
- Maximum weight For the medium position when the product is used as a chair: 9 kg/20 Lbs
- Maximum weight For the Lowest position when the product is used as a chair: 6 kg/13_Lbs
- TYPE 3:

- Maximum weight For the highest position when the product is paired with babocush Comfort Cushion: 9 kg/20 Lbs
- Maximum weight For the medium position when the paired with babocush Comfort Cushion: 9 kg/20 Lbs
- Maximum weight For the Lowest position when the product is paired with babocush Comfort Cushion: 5 kg/11 Lbs
Maximum weights according European Standard EN12790:2009
To change positions
- Reach under the Fabric cover and push the red button to release the Latch
- Lift Latch cover
- Raise the Fabric cover up to Lock into the positioning bar at your desired position
- Close the Latch
- Confirm that the Latch has been securely Locked into position
From bouncer to chair
- Set up the bouncer as mentioned in the installation steps
- Loosen the elastic Loops at the bottom of the Fabric cover
- Pull the Fabric cover off From the metal Frame
- Turn the Fabric cover over and slide it back onto the metal Frame
- The harness should now be Facing downwards
- Fasten the Fabric cover with the two elastic Loops at the bottom

Cleaning
To wash the Fabric, remove it from the frame. Machine washable at 30°C. Wash separately.Tumble dry on Low. Iron on medium heat. Suitable for dry deaning.

Technical information
- Weight: 3 kg/6.61 Lbs
- Height/Length/width
- Highest position: 52.5cm / 77cm / 41cm
- Lowest position: 24cm / 83.5cm / 41cm
- Storage position: 11.5cm / 87.5cm / 41cm
- Fabric Cover: 70% polyester, 24% rayon and 6% spandex
- Mesh: 100% polyester
Repair & Disposal
- Please dispose of packaging material.
- Plastic bags can be dangerous to you children. l<eep plastic bags away from babies and children.
WARNING
- FALL HAZARD: babies have suffered skull Fractures Falling while in and From bouncer.
- Use bouncer ONLY on floor.
- NEVER Lift or carry baby in bouncer.
- SUFFOCATION HAZARD: babies have suffocated when bouncers tipped over on soft surfaces.
- NEVER use on a bed, sofa, cushion or other soft surface.
- NEVER Leave baby unattended.
- To prevent Falls and suffocation:
- ALWAYS use restraints and adjust to fit snugly, even i F baby Falls asleep.
- STOP using bouncer when baby starts trying to sit up or has reached 9 kg/20 Lbs, whichever comes first.
- AMPUTATION HAZARD: Chair can fold or collapse if Lock is not fully engaged. Moving parts can amputate child’s fingers.
- Keep fingers away from moving parts.
- Completely unfold chair and fully engage Locks before allowing child to sit in chair.
- Never allow child to fold or unfold chair.
- WARNING
- This cradle IS NOT intended for prolonged periods of sleeping.
- This cradle DOES NOT replace a cot or a bed. Should your child need to sleep, then it should be placed in a suitable cot or bed.
ABOUT COMPANY
- Babocush Limited
3rd Floor, 9 Hatton Street London, NW8 8PL United Kingdom - Babocush Limited
26/27 Upper Pembroke Street Dublin, D02 X361 - United Kingdom
- babocush.com

























