IKEA 004.756.11 HYGIENISK Integrated Dishwasher

DIMENSION

SAFETY INSTRUCTION

Safety Information
Before the installation and use of the appliance, carefully read the supplied instructions. The manufacturer is not responsible for any injuries or damage that are the result of incorrect installation or usage. Always keep the instructions in a safe and accessible location for future reference.
SAFETY WARNINGS
- This appliance can be used by children aged from 8 years and above and persons with reduced physical, sensory or mental capabilities or lack of experience and knowledge if they have been given supervision or instruction concerning the use of the appliance in a safe way and understand the hazards involved. Children of less than 8 years of age and persons with very extensive and complex disabilities shall be kept away from the appliance unless continuously supervised. Do not let children play with the appliance. Keep children and pets away from the appliance when the door is open. Children shall not carry out cleaning and user maintenance of the appliance without supervision. Keep detergents away from children.
- WARNING: Knives and other utensils with sharp points must be loaded in the basket with their points down or placed in a horizontal position.
- WARNING: Do not leave the appliance with the open door unattended to avoid stepping accidentally onto it.
- This appliance is intended to be used in household and similar applications such as: staff kitchen areas in shops, offices and other working environments; farm houses; by clients in hotels, motels, bed & breakfast and other residential type environments.
- Do not change the specification of this appliance.
- The operating water pressure (minimum and maximum) must be between 0.5 (0.05) / 10 (1.0) bar (MPa).
- Follow the maximum number of 13 place settings.
- The appliance is to be connected to the water mains using the new supplied hose-sets. Old hose sets must not be reused.
- Before any maintenance operation, deactivate the appliance and disconnect the mains plug from the socket.
- If the supply cord is damaged, it must be replaced by the manufacturer, the Authorised Service Centre or similarly qualified persons in order to avoid a hazard.
- Make sure that there is access to the mains plug after the installation.
- If the appliance has ventilation openings in the base, they must not be covered e.g. by a carpet.
- Do not use high pressure water sprays or steam to clean the appliance.
Permitted use
- Do not use the appliance outdoors.
- Do not remove the dishes from the appliance until the programme is complete.
- Some detergent may remain on the dishes.
- Do not store items or apply pressure on the open door of the appliance.
- Do not put flammable products or items that are wet with flammable products in, near or on the appliance.
- Do not drink and play with the water in the appliance.
- The appliance can release hot steam if you open the door while a programme operates.
Installation
- The appliance must be handled and installed by two or more persons – risk of injury. Use protective gloves to unpack and install – risk of cuts. Always take care when move the appliance and use the enclosed footwear.
- Installation, including water supply and electrical connections, and repairs must be carried out by a qualified technician. Follow the installation instructions supplied with the appliance. Remove all the packaging and make sure that it has not been damaged during transport. In the event of problems, contact the dealer or your nearest Authorised Service Centre. Do not install or use a damaged appliance.
- Do not use the appliance before installing it in the built-in structure. The appliance must be disconnected from the power supply before any installation operation – risk of electric shock. During installation, make sure the appliance does not damage the power cable – risk of fire or electric shock. Only activate the appliance when the installation has been completed.
- Install the appliance in a safe and suitable place that meets installation requirements. Keep the minimum distance from other appliances and units. Do not install or use the appliance where the temperature is less than 0 °C. Carry out all cabinet cutting works before fitting the appliance in the furniture and remove all wood chips and sawdust.
- Do not cause damage to the water hoses. Before connection to new pipes, pipes not used for a long time, where repair work has been carried out or new devices fitted (water meters, etc.), let the water flow until it is clean and clear. Ensure that there are no visible water leaks during and after the first use of the appliance.
- Without electrical power, the water protection system is not active. In this case there is a risk of flooding.
- WARNING: Dangerous voltage. The water inlet hose has a safety valve and a sheath with an inner mains cable.

- If the water inlet hose is damaged, immediately close the water tap and disconnect the mains plug from the mains socket. Contact the Authorised Service Centre to replace the water inlet hose.
Electrical warnings
- Make sure that the parameters on the rating plate are compatible with the electrical ratings of the mains power supply.
- Do not use extension leads, multiple sockets or adapters. The appliance must be earthed. Always use a correctly installed shockproof socket. The electrical components must not be accessible to the user after installation. Do not operate this appliance if it has a damaged power cable or plug, if it is not working properly, or if it has been damaged or dropped.
- Connect the mains plug to the mains socket only at the end of the installation. Do not pull the mains cable to disconnect the appliance. Always pull the mains plug.
- This appliance is fitted with a 13 A mains plug. If it is necessary to change the mains plug fuse, use only a 13 A ASTA (BS 1362) fuse (UK and Ireland only).
- To replace the power cable or the internal lighting, contact the Authorized Service Centre.
- Concerning the lamp(s) inside this product and spare part lamps sold separately: These lamps are intended to withstand extreme physical conditions in household appliances, such as temperature, vibration, humidity, or are intended to signal information about the operational status of the appliance. They are not intended to be used in other applications and are not suitable for household room illumination.
Environmental concerns
SAFETY WARNINGS
- Dishwasher detergents are dangerous. Follow the safety instructions on the detergent packaging.
- Disconnect the appliance from the mains supply. Cut off the mains cable close to the appliance and dispose of it. Remove the door catch to prevent children and pets to get closed in the appliance.
DISPOSAL OF PACKAGING MATERIALS
Recycle materials with the symbol . Put the packaging in relevant containers to recycle it.
SCRAPPING OF HOUSEHOLD APPLIANCES
- This appliance is manufactured with recyclable or reusable materials. It is prohibited to dispose of equipment marked with the symbol along with household waste. Return the item to the local retailer in line with local legislation, collection point, or contact the competent municipal authorities to find out more.
- In order to preserve resources, ensure that discarded Electrical and Electronic Equipment, parts or materials are re-used or recycled according to the EU Directive on Waste of Electrical and Electronic Equipment 2012/19/EU.
- Some materials and substances in some discarded EEE can potentially have a negative impact on the environment and human health.
- This product does not contain hazardous substances as specified by the EU Directive on the Restriction of the use of certain Hazardous Substances in Electrical and Electronic Equipment 2011/65/EU and its amendments ; however, it may contain Substances of Very High Concern (SVHC) according to REACH Regulation EC No 1907/2006.
For Switzerland:
- Where should you take your old equipment?
- Anywhere that sells new equipment or hand it in to official collection points or official SENS recycling firms.
- The list of official SENS collection points can be found at www.erecycling.ch
SERVICE AND SPARE PARTS
- To repair the appliance contact the Authorised Service Centre. Use original spare parts only. Please note that self-repair or non-professional repair can have safety consequences and might void the guarantee.
- The following spare parts will be available for 7 years after the model has been discontinued: motor, circulation and drain pump, heaters and heating elements, including heat pumps, piping and related equipment including hoses, valves, filters and aquastops, structural and interior parts related to door assemblies, printed circuit boards, electronic displays, pressure switches, thermostats and sensors, software and firmware including reset software.
- Please note that some of these spare parts are only available to professional repairers, and that not all spare parts are relevant for all models.
- The following spare parts will be available for 10 years after the model has been discontinued: door hinge and seals, other seals, spray arms, drain filters, interior racks and plastic peripherals such as baskets and lids.
ENERGY SAVING TIPS
- Washing dishes in the dishwasher as instructed in the user manual usually consumes less water and energy than washing dishes by hand. Load the dishwasher to its full capacity to save water and energy. For best cleaning results, arrange items in the baskets as instructed in the user manual and do not overload the baskets.
- Do not pre-rinse dishes by hand. It increases the water and energy consumption. When needed, select a programme with a prewash phase. Remove larger residues of food from the dishes and empty cups and glasses before putting them inside the appliance. Soak or slightly scour cookware with firmly cooked-on or baked-on food before washing it in the appliance.
- Make sure that items in the baskets do not touch or cover each other. Only then can the water completely reach and wash the dishes. Select a programme according to the type of load and the degree of soil. ECO offers the most efficient use of water and energy consumption.
Care and cleaning
- Warning! Before any maintenance other than running the programme Machine Care, deactivate the appliance and disconnect the mains plug from the main socket.
- Dirty filters and clogged spray arms negatively affect the washing results. Check these elements regularly and, if necessary, clean them.
Machine Care
- Machine Care is a programme designed to clean the appliance interior with optimal results. It removes limescale and grease buildup.
- When the appliance senses the need for cleaning, the indicator
is on. Start the - Machine Care programme to clean the appliance interior.
How to start the Machine Care programme
Before starting the Machine Care programme, clean the filters and spray arms.
- Use a descaler or a cleaning product designed specifically for dishwashers. Follow the instructions on the packaging. Do not put dishes in the baskets.
- Press and hold simultaneously
and AUTO for about 3 seconds.
The indicator
and
flash. The display shows the programme duration. - Close the appliance door to start the programme.
When the programme is complete, the indicator
is off.
Internal cleaning
- Clean the appliance interior with a soft damp cloth.
- Do not use abrasive products, abrasive cleaning pads, sharp tools, strong chemicals, scourer or solvents.
- Wipe clean the door, including the rubber gasket, once a week.
- To maintain the performance of your appliance, use a cleaning product designed specifically for dishwashers at least once every two months. Carefully follow the instructions on the packaging of the product.
- For optimal cleaning results, start the programme Machine Care.
Removal of foreign objects
Check the filters and the sump after each use of the dishwasher. Foreign objects (e.g. pieces of glass, plastic, bones or toothpicks, etc) decrease the cleaning performance and can cause damage to the drain pump.
Caution! If unable to remove the foreign objects, contact an Authorised Service Centre.
- Disassemble the filters system as instructed in this chapter.
- Remove any foreign objects manually.
- Reassemble the filters as instructed in this chapter.
External cleaning
- Clean the appliance with a moist soft cloth.
- Only use neutral detergents.
- Do not use abrasive products, abrasive cleaning pads or solvents.
Cleaning the filters
- Make sure that there are no residues of food or soil in or around the edge of the sump.
- The filter system is made of three parts.

- To remove filters (B) and (C), turn the handle counterclockwise and pull it upwards. Remove the filter (C) out of filter (B). Wash the filters with water.
- Remove the flat filter (A). Wash the filter with water.

- Put the flat filter (A) back in place. Make sure that it is correctly positioned under the 2 guides (D).
- Reassemble the filters (B) and (C). Put them back in the filter (A). Turn the handle clockwise until it locks.

An incorrect position of the filters can cause bad washing results and damage to the appliance
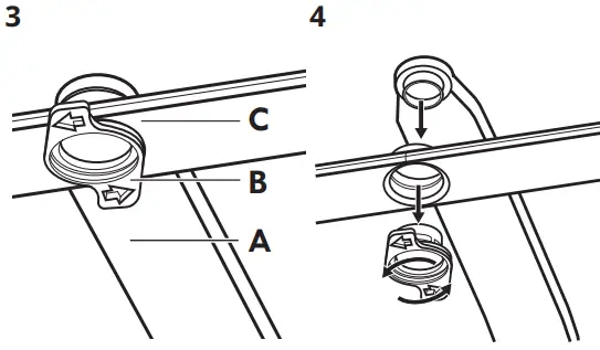
Cleaning the fiMtFr of the inlet hose
- Close the water tap.
- Disconnect the hose. Turn the fastener A clockwise.

- Clean the filter of the inlet hose.

Cleaning the lower spray arm
We recommend to clean the lower spray arm regularly to prevent soil from clogging the holes. Clogged holes can cause unsatisfactory washing results.
- To remove the lower spray arm, pull it upwards.
- Wash the spray arm under running water. Use a thin pointed tool, e.g. a toothpick, to remove particles of soil from the holes.

- To install the spray arm back, press it downwards.

Cleaning the ceiling spray arm
We recommend to clean the ceiling spray arm regularly to prevent soil from clogging the holes. Clogged holes can cause unsatisfactory washing results.
- The ceiling spray arm is placed on the ceiling of the appliance.
- Move the upper basket to the lowest level to reach the spray arm more easily.

- The spray arm (C) is installed in the delivery tube (A) with the mounting element (B).
- Turn the mounting element counterclockwise and pull the spray arm downwards.

- Wash the spray arm under running water. Use a thin pointed tool, e.g. a toothpick, to remove particles of soil from the holes. Run the water through the holes to wash soil particles away from the inside.
- Insert the mounting element in the spray arm and fix it in the delivery tube by turning it clockwise. Make sure the mounting element locks into place.

IKEA guarantee
- How long is the IKEA guarantee valid?
This guarantee is valid for 2 years from the original date of purchase of your appliance at IKEA. The original sales receipt is required as proof of purchase. If service work is carried out under guarantee, this will not extend the guarantee period for the appliance. - Who will execute the service?
IKEA service provider will provide the service through its own service operations or authorized service partner network. - What does this guarantee cover?
The guarantee covers faults of the appliance, which have been caused by faulty construction or material faults from the date of purchase from IKEA. This guarantee applies to domestic use only. The exceptions are specified under the headline “What is not covered under this guarantee?” Within the guarantee period, the costs to remedy the fault e.g. repairs, parts, labour and travel will be covered, provided that the appliance is accessible for repair without special expenditure. On these conditions the EU guidelines (Nr. 99/44/EG) and the respective local regulations are applicable. Replaced parts become the property of IKEA. - What will IKEA do to correct the problem?
IKEA appointed service provider will examine the product and decide, at its sole discretion, if it is covered under this guarantee. If considered covered, IKEA service provider or its authorized service partner through its own service operations, will then, at its sole discretion, either repair the defective product or replace it with the same or a comparable product. - What is not covered under this guarantee?
- Normal wear and tear.
- Deliberate or negligent damage, damage caused by failure to observe operating instructions, incorrect installation or by connection to the wrong voltage, damage caused by chemical or electro-chemical reaction, rust, corrosion or water damage including but not limited to damage caused by excessive lime in the water supply, damage caused by abnormal environmental conditions.
- Consumable parts including batteries and lamps.
- Non-functional and decorative parts which do not affect normal use of the appliance, including any scratches and possible color differences.
- Accidental damage caused by foreign objects or substances and cleaning or unblocking of filters, drainage systems or soap drawers.
- Damage to the following parts: ceramic glass, accessories, crockery and cutlery baskets, feed and drainage pipes, seals, lamps and lamp covers, screens, knobs, casings and parts of casings. Unless such damages can be proved to have been caused by production faults.
- Cases where no fault could be found during a technician’s visit.
- Repairs not carried out by our appointed service providers and/or an authorized service contractual partner or where nonoriginal parts have been used.
- Repairs caused by installation which is faulty or not according to specification.
- The use of the appliance in a nondomestic environment i.e. professional use.
- Transportation damages. If a customer transports the product to their home or other address, IKEA is not liable for any damage that may occur during transport. However, if IKEA delivers the product to the customer’s delivery address, then damage to the product that occurs during this delivery will be covered by this guarantee.
- Cost for carrying out the initial installation of the IKEA appliance. However, if an IKEA service provider or its authorized service partner repairs or replaces the appliance under the terms of this guarantee, the service provider or its authorized service partner will re-install the repaired appliance or install the replacement, if necessary.
This restriction do not apply to fault-free work carried out by a qualified specialist using our original parts in order to adapt the appliance to the technical safety specifications of another EU country.
- How country law applies
The IKEA guarantee gives you specific legal rights, which covers or exceed local demands. However these conditions do not limit in any way consumer rights described in the local legislation. - Area of validity
For appliances which are purchased in one EU country and taken to another EU country, the services will be provided in the framework of the guarantee conditions normal in the new country. An obligation to carry out services in the framework of the guarantee exists only if the appliance complies and is installed in accordance with:- the technical specifications of the country in which the guarantee claim is made;
- the Assembly Instructions and User Manual Safety Information;
- The dedicated After Sales Service for IKEA appliances:
Please do not hesitate to contact IKEA After Sales Service to:- make a service request under this guarantee;
- ask for clarification on installation of the IKEA appliance in the dedicated IKEA kitchen furniture. The service won’t provide clarifications related to:
- the overall IKEA kitchen installation;
- connections to electricity (if machine comes without plug and cable), to water and to gas since they have to be executed by an authorized service engineer.
- ask for clarification on user manual contents and specifications of the IKEA appliance.
To ensure that we provide you with the best assistance, please read carefully the Assembly Instructions and/or the User Manual section of this booklet before contacting us.
- How to reach us if you need our service
Please refer to the last page of this manual for the full list of IKEA appointed contacts and relative national phone numbers.- In order to provide you with a quicker service, we recommend that you use the specific phone numbers listed at the end of this manual. Always refer to the numbers listed in the booklet of the specific appliance you need an assistance for. Before calling us, assure that you have to hand the IKEA article number (8 digit code) and the Serial Number (8 digit code that can be found on the rating plate) for the appliance of which you need our assistance.
- SAVE THE SALES RECEIPT! It is your proof of purchase and required for the guarantee to apply. Note that the receipt reports also the IKEA article name and number (8 digit code) for each of the appliances you have purchased.
- Do you need extra help?
For any additional questions not related to After Sales of your appliances, please contact our nearest IKEA store call centre. We recommend you read the appliance documentation carefully before contacting us.
CONTACT LIST
| Country | Phone number | Call Fee | Opening time |
| België | 070 246016 | Binnenlandse gesprekskosten | 8 tot 20 Weekdagen |
| Belgique | Tarif des appels nationaux | 8 à 20. En semaine | |
| България | +359 2 492 9397 | Според тарифата на оператора за обаждания към стационарен номер | От 8:30 до 17:30 ч в работни дни |
| Česká Republika | 246 019721 | Cena za místní hovor | 8 až 20 v pracovních dnech |
| Danmark | 70 15 09 09 | Landstakst | man. – fre. 09.00 – 20.00 lør. – søn. 09.00 – 18.00 |
| Deutschland | +49 1806 33 45 32* | * 0,20 €/Verbindung aus dem Fest- netz max. 0,60 €/Verbindung aus dem Mobilfunknetz | Werktags von 8.00 bis 20.00 |
| Ελλάδα | 211 176 8276 | Υπεραστική κλήση | 8 έως 20 κατά τις εργάσιμες ημέρες |
| España | 91 1875537 | Tarifa de llamadas nacionales | De 8 a 20 en días laborables |
| France | 0170 36 02 05 | Tarif des appels nationaux | 9 à 21. En semaine |
| Hrvatska | 00385 1 6323 339 | Cijena ovisi o pružatelju telefonske usluge korisnika | radnim danom od ponedjeljka do petka od 08:00 do 16:00 |
| Ireland | 0 14845915 | National call rate | 8 till 20 Weekdays |
| Ísland | +354 5852409 | Innanlandsgjald fyrir síma | 9 til 18. Virka daga |
| Italia | 02 00620818 | a applicata alle chiamate nazionali | dalle 8 alle 20 nei giorni feriali |
| Κυπρος | 22 030 529 | Υπεραστική κλήση | 8.30 έως 16.30 κατά τις εργάσιμες ημέρες |
| Lietuva | 5 230 06 99 | Nacionalinių pokalbių tarifai | Pr. – Ketv.: 8:00 – 12:00, 12:45 – 17:00 Pnkt.: 8:00 – 12:00, 12:45 – 15:45 |
| Magyarország | 06-1-252-1773 | Belföldi díjszabás | Hétköznap 8.00 és 17.00 óra között |
| Nederland Luxembourg | 0900 – 235 45 32 (0900-BEL IKEA) 0031 – 50 316 8772 (internationaal) | Geen extra kosten. Alleen lokaal tarief. | ma-vr: 8.00 – 21.00 zat: 9.00 – 21.00 zon / pub. vakantie: 10.00 – 18.00 |
| Norge | 22 72 35 00 | Takst innland | 8 til 20 ukedager |
| Österreich | +43-1-2056356 | max. 10 Cent/min. | Mo – Fr 8.00 – 20.00 Uhr |
| Polska | 801 400 711 and +48 22 749 60 99 | Koszt zgodny z taryfą operatora | Od 8 do 20 w dni robocze |
| Portugal | 211557985 | Chamada Nacional | 9 às 21. Dias de Semana *excepto feriados |
| România | 021 211 08 88 | Tarif apel naţional | 8 – 20 în zilele lucrătoare |
| Россия | 8 495 6662929 | Действующие телефонные тарифы | с 8 до 20 по рабочим дням Время московское |
| Schweiz |
031 5500 324 | Tarif für Anrufe im Bundesgebiet | 8 bis 20 Werktage |
| Suisse | Tarif des appels nationaux | 8 à 20. En semaine | |
| Svizzera | a applicata alle chiamate nazionali | dalle 8 alle 20 nei giorni feriali | |
| Slovenija | +38618108621 | lokalni strošek je običajna tržna vred- nost, odvisna od ponudnika telefonije | 8.00 – 16.00 ob delavnikih |
| Slovensko | (02) 3300 2554 | Cena vnútroštátneho hovoru | 8 až 20 v pracovných dňoch |
| Suomi | 030 6005203 | pvm/mpm | Ma – To 8:00 -18:00 Pe 9:00 -16:00 |
| Sverige | 0775 700 500 | lokalsamtal (lokal taxa) | mån-fre 8.30 – 20.00 lör-sön 9.30 – 18.00 |
| United Kingdom | 020 3347 0044 | National call rate | 9 till 21. Weekdays |
| Србија | +381 11 7 555 444 (ако позивате изван Србије) 011 7 555 444 (ако позивате из Србије) | Цена позива у националном саобраћају | Понедељак – субота: 09 – 20 Недеља: 09 – 18 |
| Eesti, Latvija, Україна | www.ikea.com | ||































