BRIZO SH84100 Body Spray

Product Information
The product is a spray head for a trim kit model. It is available in different variations, including SH84100p, SH84101p, SH84102p, SH84103p, SH5003p, SH5005p, SH5002p, and SH5000p. The spray head is designed to be installed with the trim kit model and offers a full range of motion. It comes with a set screw (5) and a hex wrench (6) for secure installation. The product is manufactured by Brizo Kitchen and Bath Company.
Product Usage Instructions
- Installing the Spray Head:
- Apply the wrench (3) to the flats on the pop-out mechanism (1) and rotate it in one direction.
- Pull the sliding pop-out mechanism (1) out of the previously installed trim kit model (2) until fully extended.
- Insert and thread the spray head (4) into the pop-out mechanism (1) until it is tightly secured. Avoid over-tightening.
- Store the wrench (3) for future use.
- Securing the Spray Head:
- Secure the spray head (4) with the set screw (5) using the hex wrench (6).
- Checking Range of Motion:
- Swivel the spray head (4) to check its full range of motion.
- Recessing the Spray Head:
- Press the spray head (4) back into the pop-out mechanism until it is flush with the trim kit escutcheon (2).
Please note that the actual escutcheon and spray face may visually differ from the instructional views. For warranty service or replacement parts, you can contact Brizo Kitchen & Bath Company in the United States and Mexico or Masco Canada Limited in Canada. Proof of purchase is required for warranty claims.
For more information and support, you can visit the Brizo Customer Support page:
Some limitations and exclusions apply to the warranty. Please refer to the user manual for detailed warranty information.
Models
SH84100p, SH84101p, SH84102p, SH84103p, SH5003p, SH5005p, SH5002p, SH5000p Series.
ASSEMBLY INSTRUCTION
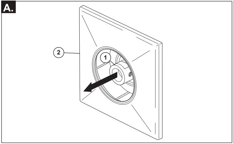
- A. Pull the sliding pop-out mechanism (1) out of the previously installed trim kit model (2) until fully extended.

Note: Depending on your trim kit and spray head model, the actual escutcheon and spray face may differ visually from instructional views. - B. Apply wrench (3) to flats on the pop-out mechanism (1), as shown, to top rotation during spray head installation. Note: The wrench will only properly fit the flats in one direction. Insert and thread spray head (4) into the pop-out mechanism (1) until threading tops.

Note: Take care not to over-tighten the spray head. Store wrench (3) for future use. - C. Secure spray head (4) with set screw (5) using a hex wrench (6)

- D. Swivel the spray head (4) to check the full range of motion.

- E. Press the spray head (4) back into the pop-out mechanism until flush with trim kit escutcheon (2).

Limited Warranty
Limited Warranty on Brizo® Faucets
Parts and Finish. All parts (other than electronic parts, air switch power modules, batteries, and parts not supplied by Brizo Kitchen and Bath Company) and finishes of Brizo® faucets purchased from authorized Brizo sellers are warranted to the original consumer purchaser to be free from defects in material and workmanship for as long as the original consumer purchaser owns the home in which the faucet was first installed. For commercial purchasers, (a) the warranty period is ten (10) years for multi-family residential applications and (b) five (5) years for all other commercial uses, in each case from the date of purchase. For purposes of this warranty, the term “multi-family residential application” refers to the purchase of the faucet from an authorized Brizo seller by a purchaser who owns but does not live in the residential dwelling in which the faucet is initially installed, such as in a rented or leased single unit or multi-unit detached home (duplex or townhome), or a condominium, apartment building or community living center. The following installations are not considered multi-family residential applications, are excluded from the 10-year warranty, and are subject to the 5-year warranty: industrial, institutional or other business premises, such as a dormitory, hospitality premises (hotel, motel, or extended stay location), airport, educational facility, long- or short-term healthcare facility (hospital, rehabilitation center, nursing, assisted or staged-care living unit), public space or common area.
Electronic Parts and Batteries (if applicable). Electronic parts (other than air switch power modules and batteries), if any, in Brizo® faucets purchased from authorized Brizo sellers are warranted to the original consumer purchaser to be free from defects in material and workmanship for five (5) years from the date of purchase or, for commercial users, for one (1) year from the date of purchase. No warranty is provided on batteries.
Air Switch Power Module. The electronic power module of Brizo® air switches purchased from authorized Brizo sellers is warranted to the original consumer purchaser to be free from defects in material and workmanship for two (2) years from the date of purchase or, for commercial users, for one (1) year from the date of purchase.
What We Will Do. Brizo Kitchen & Bath Company will repair or replace, free of charge, during the applicable warranty period (as described above), any part or finish that proves defective in material and/or workmanship under normal installation, use, and service. Brizo Kitchen & Bath Company may, in its sole discretion, use new, refurbished or recertified parts or products for such repair or replacement. If repair or replacement is not practical, Brizo Kitchen & Bath Company may elect to refund the purchase price in exchange for the return of the product. These are your exclusive remedies.
What Is Not Covered. Because Brizo Kitchen and Bath Company is unable to control the quality of Brizo products sold by unauthorized sellers, unless otherwise prohibited by law, this warranty does not cover Brizo products purchased from unauthorized sellers (visit Brizo.com to see a list of our Authorized Online Resellers). Any labor charges incurred by the purchaser to repair, replace, install or remove this product are not covered by this warranty. Brizo Kitchen & Bath Company shall not be liable for any damage to the product resulting from reasonable wear and tear, outdoor use, misuse (including use of the product for an unintended application), freezing water, abuse, neglect, or improper or incorrectly performed assembly, installation, maintenance or repair, including failure to follow the applicable care and cleaning instructions. Customized components purchased by the consumer or commercial user and installed into a Brizo product, and any damage resulting from removal or improper installation of such components, are not covered by this warranty. Brizo Kitchen & Bath Company recommends using a professional plumber for all installation and repair of faucets. We also recommend that you use only genuine Brizo® replacement parts.
What You Must Do To Obtain Warranty Service or Replacement Parts. A warranty claim may be made and replacement parts may be obtained by calling 1-877-345-BRIZO (2749) or by contacting us by mail or online as follows (please include your model number and date of purchase):
- In the United States and Mexico:
Brizo Kitchen & Bath Company
55 E. 111th Street
Indianapolis, IN 46280
Attention: Warranty Service
https://www.brizo.com/customer-support/contact-us - In Canada:
Masco Canada Limited, Plumbing Group Technical Service Centre
350 South Edgeware Road
St. Thomas, Ontario, Canada N5P 4L1
https://www.brizo.com/customer-support/contact-us
Proof of purchase (original sales receipt) from the original purchaser must be made available to Brizo Kitchen & Bath Company for all warranty claims unless the purchaser has registered the product with Brizo Kitchen & Bath Company. This warranty applies only to Brizo® faucets installed in the United States of America, Canada, and Mexico.
Limitation on Duration of Implied Warranties. Please note that some states/provinces (including Quebec) do not allow limitations on how long an implied warranty lasts, so the below limitations may not apply to you. TO THE MAXIMUM EXTENT PERMITTED BY APPLICABLE LAW, ANY IMPLIED WARRANTY, INCLUDING THE IMPLIED WARRANTIES OF MERCHANTABILITY AND OF FITNESS FOR A PARTICULAR PURPOSE, IS LIMITED TO THE STATUTORY PERIOD OR THE DURATION OF THIS WARRANTY, WHICHEVER IS SHORTER.
Limitation of Special, Incidental or Consequential Damages. Please note that some states/provinces (including Quebec) do not allow the exclusion or limitation of special, incidental, or consequential damages, so the below limitations and exclusions may not apply to you. TO THE MAXIMUM EXTENT PERMITTED BY APPLICABLE LAW, THIS WARRANTY DOES NOT COVER, AND BRIZO KITCHEN & BATH COMPANY SHALL NOT BE LIABLE FOR ANY SPECIAL, INCIDENTAL, OR CONSEQUENTIAL DAMAG-ES (INCLUDING LABOR CHARGES TO REPAIR, REPLACE, INSTALL OR REMOVE THIS PRODUCT), WHETHER ARISING OUT OF BREACH OF ANY EXPRESS OR IMPLIED WARRANTY, BREACH OF CONTRACT, TORT, OR OTHERWISE. BRIZO KITCHEN & BATH COMPANY SHALL NOT BE LIABLE FOR ANY DAMAGE TO THE FAUCET RESULTING FROM REASONABLE WEAR AND TEAR, OUTDOOR USE, MISUSE (INCLUDING USE OF THE PRODUCT FOR AN UNINTENDED APPLICATION, FREEZING WATER, ABUSE, NEGLECT OR IMPROPER OR INCORRECTLY PERFORMED ASSEMBLY, INSTALLATION, MAINTENANCE OR REPAIR, INCLUDING FAILURE TO FOLLOW THE APPLICABLE INSTALLATION, CARE AND CLEANING INSTRUCTIONS. Notice to residents of the State of New Jersey: The provisions of this warranty, including its limitations, are intended to apply to the fullest extent permitted by the laws of the State of New Jersey.
Additional Rights. This warranty gives you specific legal rights, and you may also have other rights which vary from state/province to state/province. This is Brizo Kitchen & Bath Company’s exclusive written warranty, and the warranty is not transferable. If you have any questions or concerns regarding our warranty, please contact us as provided above or visit our website at www.brizo.com.























