Whynter ARC-147WF 14,000 BTU (10,000 BTU SACC) Dual Hose Cooling
Portable Air Conditioner, Dehumidifier, and Fan with Remote Control,
HEPA and Carbon Filter, up to 500 sq. ft in White
ARC-147WF Portable Air
Conditioner Remote Control
Instruction Manual
Congratulations on your new Whiner product. To ensure proper operation, please read this Instruction Manual carefully before using this product. Keep this manual in a safe place for future reference.
Safety Precautions
Read Safety Precautions Before Operation and Installation To prevent death or injury to the user or other people and property damage, the following instructions must be followed. Incorrect operation due to ignoring of instructions may cause death, harm or damage.
WARNING
This symbol indicates the possibility of personnel injury or loss of life.
CAUTION
This symbol indicates the possibility of property damage or serious consequences.
WARNING
- Installation must be performed according to the installation instructions. Improper installation can cause water leakage, electrical shock, or fire.
- Use only the included accessories and parts, and specified tools for the installation. Using non-standard parts can cause water leakage, electrical shock, fire, and injury or property
- damage. Make sure that the outlet you are using is grounded and has the appropriate voltage.
The power cord is equipped with a three-prong grounding plug to protect against shock.
Voltage information can be found on the nameplate of the unit. - Your unit must be used in a properly grounded wall receptacle. If the wall receptacle you intend to use is not adequately grounded or protected by a time delay fuse or circuit breaker (the fuse or circuit breaker needed is determined by the maximum current of the unit. The maximum current is indicated on the nameplate located on unit), have a qualified electrician install the proper receptacle.
- Install the unit on a flat, sturdy surface. Failure to do so could result in damage or excessive noise and vibration.
- The unit must be kept free from obstruction to ensure proper function and to mitigate safety hazards.
- Donor modify the length of the power cord or use an extension cord to power the unit.
- Do not share a single outlet with other electrical appliances. Improper power supply can cause fire or electrical shock.
- Do not install your air conditioner in a wet room such as a bathroom or laundry room. Too much exposure to water can cause electrical components to short circuit.
- Ensure there is a minimum of 36″ clearance around the unit and is clear from any combustible items such as propane, fire extinguishers, fuel, etc.
- The exhaust hose should always be used and should never be covered or blocked which can become a fire hazard.
- The unit has wheels to facilitate moving. Make sure not to use the wheels on thick carpet or to roll over objects, as these could cause tipping.
- Do not operate a unit that it has been dropped or damaged.
- Do not place the portable air conditioner close to any other heat generating appliances
- Do not touch the unit with wet or damp hands or when barefoot.
If the air conditioner is knocked over during use, turn off the unit and unplug it from the main power supply immediately. Visually inspect the unit to ensure there is no damage. If you suspect the unit has been damaged, contact a technician or customer service for assistance. - Inathunderstorm, the power must be cut off to avoid damage to the machine due to lightning.
- Your air conditioner should be used in such a way that it is protected from moisture. e.g. condensation, splashed water, etc. Do not place or store your air conditioner where it can fall or be pulled into water or any other liquid. Unplug immediately if it occurs.
- All wiring must be performed strictly in accordance with the wiring diagram located inside of the unit.
- The unit’s circuit board (PCB) is designed with a fuse to provide overcurrent protection. The specifications of the fuse are printed on the circuit board, such as: T 3.15A/250V, etc.
- When the water drainage function is not in use, keep the lower drain plug firmly plugged into to the unit to prevent choking.
CAUTION
- This appliance is not intended for use by persons (including children) with reduced physical, sensory or mental capabilities or lack of experience and knowledge, unless they have been given supervision or instruction concerning use of the appliance by a person responsible for their safety. Children should be supervised to ensure that they do not play with the appliance.
- Children must be supervised around the unit at all times.
- If the supply cord is damaged, it must be replaced by the manufacturer, its service agent or similarly qualified persons in order to avoid a hazard.
- Prior to cleaning or other maintenance, the appliance must be disconnected from the supply mains.
- Do not remove any fixed covers. Never use this appliance if it is not working properly, or if it has been dropped or damaged.
- Do not run cord under carpeting. Do not cover cord with throw rugs, runners, or similar coverings. Do not route cord under furniture or appliances. Arrange cord away from traffic area and where it will not be tripped over.
- Do not operate unit with a damaged cord, plug, power fuse or circuit breaker. Return to an authorized service facility for examination and/or repair.
- To reduce the risk of fire or electric shock, do not use this fan with any solid-state speed control device.
- The appliance shall be installed in accordance with national wiring regulations.
- Contact the manufacturer or authorized service technician for repair or maintenance information of this unit.
- Contact the manufacturer or authorized installer for installation questions of this unit.
- Do not cover or obstruct the inlet or outlet grilles.
- Do not use this product for functions other than those described in this instruction manual.
- Before cleaning, turn off the power and unplug the unit.
- Disconnect the power if strange sounds, smells, or smoke come from it and contact the manufacturer or authorized service technician for assistance.
- Do not press the buttons on the control panel with anything other than your fingers.
- Do not remove any fixed covers without consent from Customer Support. Contact Whiner Customer Support if this unit is not working properly, or if it has been dropped or damaged.
- Do not operate or stop the unit by inserting or pulling out the power cord plug.
- Do not use hazardous chemicals to clean or come into contact with the unit. Do not use the unit in the presence of inflammable substances. Always transport your air conditioner in a vertical upright position and stand on a stable, level surface during use.
- Always contact Wynter Customer Support for replacement parts compatible with your unit. Hold the plug by the head of the power plug when removing it from a power outlet.
- Turn off the product when not in use.
WARNING
- The appliance should not be stored in a room without an ignition source (for example: open flames, a gas appliance that is in operation or an operating electric heater).
- Do not pierce or burn the unit.
- Be aware that the refrigerants may not contain an odor.
SAFETY COMPLIANCE
- Keep ventilation openings clear of obstruction.
- The appliance must be stored safely to prevent mechanical damage from occurring.
- A warning that the appliance shall be stored in a well-ventilated area where the room size corresponds to the room area as specified for operation.
Any person who is involved with working on or breaking into a refrigerant circuit should hold a current valid certificate from an industry-accredited assessment authority, which authorizes their competence to handle refrigerants safely in accordance with an industry recognized assessment specification.
Servicing shall only be performed as recommended by the equipment manufacturer. Maintenance and repair requiring the assistance of other skilled personnel shall be carried out under the supervision of the person competent in the use of flammable refrigerants. - Please follow all instructions carefully to handle and install the air conditioner to avoid any damage or hazard.
Flammable Refrigerant R32 is used within air conditioner. When maintaining or disposing of the air conditioner, the refrigerant (R32) should be recovered properly and should not be discharged directly into the air. - Avoid any open fire or device which may generate a spark/arcing around air conditioner to avoid igniting the flammable refrigerant.
Caution: Risk of fire/flammable materials
Explanation of symbols displayed on the unit:
| WARNING | This symbol shows that this appliance used a flammable refrigerant. If the refrigerant s leaked and exposed to an external ignition source, there is a risk of fire. | |
| CAUTION | This symbol shows that the operation manual should be read carefully. | |
| CAUTION | This symbol shows that a service personnel should be handling this equipment with reference to the installation manual. | |
| CAUTION | This symbol shows that information is available such as the operating manual or installation manual. |
- Transport of equipment containing flammable refrigerants.
See transport regulations - Marking of equipment using signs.
See local regulations - Disposal of equipment using flammable refrigerants.
See national regulations. - Storage of equipment/appliances.
The storage of the equipment should be in accordance with the manufacturer’s instructions.
Preparation
NOTE: All illustrations in the manual are for explanation purpose only. Your machine may be slightly different. The actual shape shall prevail. The unit can be controlled by the unit control panel alone or with the remote controller.

- Control Panel
- Air Outlet
- Temperature Display
- Handle (both sides)
- Wheel Casters
- Air Filter
- Air Intake
- Evaporator
- Air Exhaust
- Power Plug Socket
- Lower Manual Drain Port
- Power Supply Cold
Design Notice
In order to ensure the optimal performance of our products, the design specifications of the unit and remote control are subject to change without prior notice.
Exhaust Hose Installation
The exhaust hose and adapter must be installed or removed in accordance with the usage mode. For COOL mode, the exhaust hose must be installed. For FAN or DRY mode, the exhaust hose can optionally be removed.
Choosing The Right Location
Your installation location should meet the following requirements:
- Make sure that you install your unit on an even surface to minimize noise and vibration.
- The unit must be installed near a grounded plug, and the Lower Drain Port (found on the back of the snit) must be accessible.
- The unit should be located at least 31.5″ from the nearest wall to ensure proper air conditioning. The horizontal louver blade should be at least 20″ away from obstacles.
- DO NOT cover any vent or the remote signal receptor of the unit, as this could cause damage to the unit.
Energy Rating Information
We recommend that operating the unit at a room temperature below 95°F with the exhaust hose extended to the shortest length possible and ensuring the exhaust hose diameter is not blocked or covered. Extending the exhaust hose greater than 9′ or blocking the exhaust hose diameter or any of the vents on the unit will reduce its efficiency.
Ambient Temperature Range For Unit Operation
| MODE | Temperature Range |
| Cool | 61-95°F (16-35°C) |
| Dry | 61-89°F (16-32°C) |
What should I look for first when purchasing a portable air conditioner?
The right air conditioner helps you cool a room efficiently. An undersized unit won’t cool adequately while one that’s too large will not remove enough humidity, leaving the air feeling damp. To find the proper air conditioner, determine the square footage of the room you want to cool by multiplying the room length by its width. You also need to know the air conditioner’s BTU (British Thermal Unit) rating, which indicates the amount of heat it can remove from a room. A higher Why is the cooling capacity lower on newer models than on older units? number means more cooling power for a larger room.
(Be sure you are comparing only newer models to each other- older models may appear to have a higher capacity, but are actually the same). Be sure to “size up” if your portable air conditioner will be placed in a very sunny room, ina kitchen, or in a room with high ceilings. After you’ve found the right cooling capacity for your room, you can look at other features.
Why is the cooling capacity lower on newer models than on older units?
Federal regulations require manufacturers to calculate cooling capacity based on a specific test procedure, which was changed just this year. Models manufactured before 2017 were tested under a different procedure and cooling capacity is measured differently than in prior years’models. So, while the BTUs may be lower, the actual cooling capacity of the air conditioners has not changed.
What is SACC ?
SACC is the representative value of Seasonally Adjusted Cooling Capacity, in Btu/h, as determined in accordance with the DOE test procedure at title 10 Code of Federal Regulations (CFR) 430, subpart B, appendix CC and applicable sampling plans.
| TECHNICAL DATA | |
| Model: | ARC-147WF |
| Operational Modes: | Air conditioner, Fan, or Dehumidifier |
| Cooling Capacity: | ASHRAE: 14000 BTU / SACC: 1000OBTU |
| Coverage Area: | 500 sq. ft. |
| Dehumidifying Capacity: | 134 Pts / day |
| Fan Speed: | 3 Fan Speed |
| Filters: | HEPA and activated carbon filter |
| Thermostat Control Range: | Cooling: 61° – 89°F |
| Timer: | 24 hour programmable timer |
| Noise Level: | <54 dBA |
| Extendable Hose: | Length up to 59″ |
| Window Kit Length: | Minimum: 20″ Maximum: 46″ |
| Intake and Exhaust HoselHose connectors: | 5.9″ diameter |
| Refrigerant: | R32 |
| Air Flow (at high speed): | 460 m3/h / 270 CFM |
| Maximum Power Consumption: | 1341W/11.8A |
| Power Supply: | 115 V / 60Hz |
| CEER1EER: | 7.8318.86 |
| Unit Dimensions: | 17.7411 W x 15.81″ D x 30.87″ H |
| Net Weight: | 82 lbs |
| Gross Weight: | 95 lbs |
Accessories
| ACCESSORY IMAGE | ACCESSORY DESCRIPTION | QUANTITY |
![]() | 1.Exhaust/ Intake Hose (2 pieces) 2.Hose Connector to Unit (2 pieces) 3.Hose Connector to Window Kit (2 pieces) | 6 pieces |
![]() | Covers | 2 pieces |
![]() | Window slider kit | 1 set |
![]() | Remote control | 1 piece |

Control Panel

Swing Control ![]()
The SWING button moves the air louver, evenly distributing the air into the room. When the SWING button is pressed, the flap will begin to move forwards and backwards alternatively. If pressed again, the flap will be locked into its current position. When the button is next pressed, the flap will start to move forwards and backwards again.
NOTE: in order to avoid damaging the internal mechanisms, the flap must not be moved manually.
Mode Control ![]()
Press to change modes. Controls the 3 function modes: COOL, FAN, and DRY.
Lamp On/Off Control ![]()
Press to turn on or off the front and top panel lights.
Timer ![]()
Auto turn off and on
With the air conditioner operating in any function mode, press the TIMER button. The TIMER light will come on. Set the desired time delay OFF or ON hours by pressing the UP and DOWN buttons. The time increments are followed by 1 hour increment up to 24 hours. When the delay time set has elapsed, the air conditioner either switches on or off (depending on which auto function is chose). To cancel the delayed switch off function, turn off the air conditioner or adjust the time setting to 0.0,
Temperature Controls ![]()
- Press to adjust the temperature setting.
- The default display is room temperature.
- In cooling mode, when + or – button is pressed, the set temperature is displayed and may be adjusted. After a few seconds the display will revert back to room temperature. Temperature is only adjustable in cool mode.
Note : By pressing both + /- buttons at the same time, the display will switch between Celsius and Fahrenheit.
Fan Speed Control ![]()
The Fan Speed Control has 3 settings: Low, Medium, High. Fan speed indicator illuminates according to the selected fan speed.
Power Control ![]()
Press to turn the air conditioner on and off.
Cooling Mode ![]()
In this mode, the air conditioner cools and dehumidifies the room. To activate this function mode, press the MODE button until the COOL indicator light comes on. When the cooling mode is set, the compressor will start in approximately 3 minutes. In cooling mode, hot air is exhausted from the outdoor exhaust port and the exhaust hose must be connected to exhaust out the hot air. Note : The air exchange hoses must vent outside the room when using cool mode.

Dehumidify Mode ![]()
In this mode, the air conditioner only dehumidifies the room, the compressor will activate intermittently depending on the ambient temperature and the fan speed is set to LOW. To activate this function mode, press the MODE button until the DRY indicator light is displayed. Please note that when switching function mode, there will be an approximately 3 minute transition time. In dehumidifying mode, the exhaust hose does not need to be vented. If the exhaust hose is vented, the room will be cooled as it dehumidifies. To prevent cooling, remove the exhaust hose from the window kit and allow the warm air from the rear to be re-circulated into the room. If room temperature is higher than 77°F, the fan speed can be adjusted. If room temperature is lower than 77°F, the fan speed is set at Low. Note: When using dehumidifying mode, venting the exhaust hose to the outside is not required. If vented, the warm air is exhausted to the outside and cooling within the room may occur. If the exhaust hose is not vented, the unit may require more frequent draining. Additionally, the air conditioner does not have a humidistat in which specific humidity level can be set.
Fan Mode ![]()
In this mode, only the fan of the air conditioner runs and circulates the air in the room. To activate this function mode, press the MODE button until the FAN indicator light comes on. In this function mode, the temperature cannot be set.
Note : Unit does not need to be vented in Fan mode.
acted to exhaust the cold air produced by the unit. If outside temperature is lower than room temperature, the air intake hose should be removed, and the included cover placed onto the air intake fixture. The unit will take in air from the room air filter.
Filter Timer ![]()
After 250 hours of operation, the indicator light will glow to remind you to clean the filter. Remove the filter and clean it.
Note : After switching the air conditioner off, you must wait 3 minutes before switching it back.
Tank Full ![]()
If the internal tank becomes full, the Tank Full indicator will illuminate and the unit will not operate until the unit has been drained.
Remote Control

Notes:
- Do not drop the remote control.
- Do not place the remote control ins location exposed to direct sunlight.
- The remote control should be placed about 3 feet or more away from any appliances.
Battery Placement:
Remove the cover on the back of the remote control and insert the batteries with the ( + ) and (-) poles pointing in the proper direction.

CAUTION:
Use only AAA batteries.
Remove the batteries if the remote control is not used for a month or longer.
Do not attempt to recharge the supplied batteries.
All batteries should be replaced at the same time, do not mix old battery .
Do not dispose of the batteries in a fire as the batteries may explode.
BEFORE USING YOUR APPLIANCE
- Remove the exterior and interior packing.
- Before connecting the appliance to the power source, let it stand upright for approximately 4 hours.
This will reduce the possibility of a malfunction in the cooling system from handling during transportation.
Installation
- Slide each hose assembly with the hose connector t o unit into the exhaust and intake ports of the rear panel firmly in place.

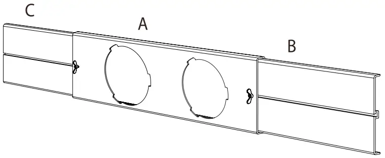
- Insert window panels B and C to each end of the main panel A with the exhaust and intake port cut outs. Adjust the length of the window panel kit by using the screws and nuts mounted on the two ends of the main panel A.

- Open the window and place the window panel kit into the window. Adjust the extension panels B and C to fit width or height of window using the screw and nut sets mounted on the main panel A.

- Insert the other end of exhaust and intake hose assembly with the hose connector to the window kit onto the window panel kit and turn counterclockwise to secure.

- Plug the power cord into the wall outlet and press the “Reset” button.
- Please allow 20” of space around the unit for proper air circulation.
- When removing the portable air conditioner for storage, the window panel may be left in place. Simply place the included cover to cover the hole on the window panel.
Cleaning the Air Filter

This unit includes three air filters: a washable pre-filter, an activated carbon filter and HEPA filter.
To ensure the air intake is filtered properly and to assure that your air conditioner runs efficiently, it is recommended that the pre-filter is washed at least once every two weeks depending on use.
- Switch off the air conditioner.
- Pull the pre-filter frame from the unit.
- Remove the activated carbon filter from the pre-filter.
- Use a vacuum cleaner or tap lightly to remove loose dust and dirt from the pre-filter,
- Rinse the pre-filter thoroughly under warm running water (no hotter than 100° F,)
- Dry thoroughly before re-inserting the filters.
NOTE: The activated carbon filter and HEPA filters are not washable. They are optional filters and should be replaced every 2-3 months or as needed if used.
Please contact [email protected] for retail sales information or visit whynter.com for a list of optional accessories
Unit Cleaning
- Always switch off the air conditioner and disconnect the plug from the power supply outlet before cleaning the air conditioner.
- Usea soft damp cloth to wipe the body of the unit.
- Never use harsh chemicals, oil-based products, detergents, chemically treated cloths or other cleaning solutions. These could possibly damage the body of the air conditioner.
End of Season Storage
This portable air conditioner comes with one end of season storage cover.
- Switch off the air conditioner and disconnect the power plug from the power supply outlet before cleaning the air conditioner.
- Clean the pre-filter.
- Drain the condensed water completely,
- Ona warm day, set the unit to Fan only mode for half a day to dry the unit internally.
- Gather the power cord and bundle it.
- Remove the batteries from the remote.
- If leaving the window kit in place, disconnect the exhaust and intake hose from the window slider kit and place the included covers on the kit. Otherwise, remove the window kit from the window opening.
Note: Depending on use, it is recommended that the air conditioner be cleaned internally annually, Please contact Whynter at [email protected] for internal maintenance cleaning instructions
Water Drainage
The air conditioner has the capacity to dehumidify up to 134 pints per day. The patented self evaporating function of the unit fully exhausts all condensation automatically in most environments when humidity is less than 70%. Areas with more than 70% humidity, the self-evaporating function can still exhaust about 98% of the moisture and the remaining 2% of moisture will be collected in the water tank of the air conditioner.
When there is excess water condensation inside the unit, the air conditioner stops running and the TANK FULL indicator illuminates notifying that the water condensation needs to be drained.

- Turn off the unit.
- Carefully roll the unit to a drain location or position a flat container, dish or optional drain bucket accessory (sold separately) under the drain area of the lower drain port.
- Remove the drain cover and rubber plug and the condensed water will drain out automatically.
- Once all the condensed water is drained, replace the drain rubber plug and cover into the drain firmly.
Note: Please contact [email protected] for retail sales information or visit whynter.com for a list of optional accessories
Tips
- Keep the exhaust hose as short and straight as possible
The exhaust hose removes heat from the room. It should remain as short and straight as possible without sharp bends or twists to maximize efficiency. If the exhaust hose must be extended, do not exceed 9. - Turn the air conditioner on early
Turning the air conditioner on early instead of waiting until the hottest point of the day will allow the unit to be more effective. The air conditioner will not have to work as hard to cool the room down and maintain the set temperature. - Reduce heat sources
Direct sunlight, televisions, computers and other heat generating appliances work against the air conditioner by introducing heat into the space.
Close window curtains and blinds to keep direct sunlight out
Close doors and windows
Keep ovens and stoves off
Turn off unused lights
Add weather stripping around windows and doors - Keep the air filter clean
Regular cleaning will help keep your air conditioner working properly. Dusty filters and vents greatly reduce the airflow and efficiency of the unit.
Clean the washable pre-filter regularly
Replace the activated carbon filter and Help filter every XX depending on use
Vacuum any accumulated dust from around all vents - Remove the intake hose
Remove the intake hose to prevent the unit from over-working when the outdoor humidity or temperature is high.
Troubleshooting Tips
Many common portable air conditioner problems are easily resolved. Try the troubleshooting suggestions below to see if the problems can be resolved before having to contact the service department.
| Problem | Possible Causes | Solutions |
| The portable air conditioner does not turn on | Power failure / outage The automatic switch, line fuse, or breaker has been tripped The power supply voltage is too low The power cord is damaged The L.C.D.I. power plug for the unit is tripped The internal water reservoir is full and the TANK FULL indicator appears on the display | Restore the power supply Flip the switch / change the fuse / turn the breaker back on. Also note that you may have too many appliances drawing power on one circuit, you may need to move the other appliances to another circuit Move the unit onto another circuit with the correct voltage Call for service. Only authorized personnel should replace damaged power cord or power plug Press the Reset button on the L.C.D.I. power plug Drain water from the air conditioner Possible loose internal connection. Please contact Wynter for service |
| The unit turns on but the com-pressor does not turn on (the fan runs but the unit is not cooling) | The room temperature is outside of the operational tolerances of the unit The Cooling mode is not on The compressor has not turned on yet because of its time delay The set temperature is too high The internal water reservoir is full and the TANK FULL indicator appears on the display | This unit is designed to work in ambient temperatures of 61°F to 95°F Press the MODE button until the COOL light is shown on the display Give the compressor 3 minutes to turn on after the Cooling mode has been selected Set the air conditioner to a lower tem perature. It is recommended to set the temperature to at least 5°F of the ambient temperature Either manually drain the water by removing the drain plug or allow the unit to exhaust the water itself by running the fan only mode. Then cooling will resume Possible loose internal connection. Please contact Whiner for service |
| The air coming out of the unit is not very cold, or the airflow volume is weak | The filters are dirty or obstructed The air intake or exhaust is ob.- structed The unit is set in DRY or FAN mode The unit is set to low fan speed | Clean the air filters Make sure there is at least 20″ of clearance from the air intake. Make the length of the exhaust hose is as short as possible Set the unit to the cooling mode Set the unit to a higher fan speed |
Many common portable air conditioner problems are easily resolved. Try the troubleshooting suggestions below t o see if the problems can be resolved before having to contact the service department.
| Problem | Possible Causes | Solutions |
| The unit has worked for a long time, but the room is not cold enough | Windows or doors are open There are too many people in the room There is direct sunshine into the room The room is a kitchen or with many heat-producing appliances There is a server in the room The room is too large | Close all windows and doors You may need additional cooling or another air conditioner Close curtains or blinds and try to minimize the amount of direct sunlight into the room You may need additional cooling or another air conditioner |
| The unit is very noisy | The unit is not level The surface underneath the unit is uneven Low power voltage | Make sure the unit is on hard, level and stable surface Move the unit to a location with a level and hard floor Make sure the wall outlet and support the required power consumption of the air conditioner and do not use an extension cord |
| The unit leaks water | The unit is tilted or not leveled The water tank is full | Make use the unit is leveled Drain water from the drain plug at the back of the air conditioner |
| Fan speed cannot be changed | Fan speed differences are not very noticeable | The fan speed difference is not very noticeable when the compressor is on. Try setting the unit to Fan only mode, you should be able to hear the difference between high and low fan speed settings. |
| LED display “El” | Temperature sensor error | Please contact Whynter Customer Support |
| LED display “E2” | Coil sensor error | Please contact Whynter Customer Support |
The design and specifications are subject to change without prior notice for product improvement. Any updates t o the manual will be uploaded to the service website, please check for the latest version.
ONE YEAR LIMITED WARRANTY & THREE YEAR WARRANTY ON COMPRESSOR
This WHYNTER product is warranted to the original owner, purchased from an authorized Whynter dealer within the 48 U.S. continental states, for one year from the original purchase date against defects in material and workmanship under normal residential usage. Should your WHYNTER product prove defective within one year from the date of purchase, contact Whynter’s Customer Support team with the serial number and proof of purchase to make a warranty claim. A Return Authorization number must be issued before returning any parts or products. Parts or products received without a Whynter issued Return Authorization number will be refused. Under this warranty, Whynter will repair or replace any parts found defective with new or remanufactured parts or exchange the defective product with a new, refurbished, or remanufactured product at our discretion. All defective products and parts covered by this warranty will be repaired or replaced on a mail-in basis to Wynter’s Service Center.
This warranty is not transferable. After the expiration of the warranty, the cost of labor and parts will be the re- sponsibility of the original owner.
The compressor of portable air conditioners is warranted for an additional two years after the one year limited warranty expires from the date of purchase.
Return freight is prepaid by Whynter within two months of purchase. After two months to one year, the customer will be responsible for the return freight cost to Wynter’s Service Center. Please package the product carefully in its original packaging to avoid damage in transit. Whynter is not responsible for damage resulting from shipper mishandling or improper packaging. Please retain the original box and packaging materials.
THIS WARRANTY DOES NOT COVER:
- Acts of God, such as fire, flood, hurricanes, earthquakes and tornadoes.
- Improper power supply such as power surge, low voltage, defective household wiring or inadequate fuses.
- Use in commercial or industrial applications.
- Damage, accidental or otherwise, to the product while in the possession of a consumer not caused by a defect in material or workmanship.
- Damage caused by consumer misuse, tampering, lack of maintenance or failure to follow the care and special handling provisions in the instructions.
- Damage to the finish of the case, or other appearance parts caused by wear.
- Damage caused by repairs or alterations to the product by anyone other than authorized by the manufacturer.
- Removal, Replacement Packaging, Freight and Insurance cost for the warranty service.
- Products sold AS IS or from an unauthorized reseller.
- Products that have had their serial numbers removed or defaced.
DISCLAIMER OF IMPLIED WARRANTIES; LIMITATION OF REMEDIES
CUSTOMER’S SOLE AND EXCLUSIVE REMEDY UNDER THIS LIMITED WARRANTY SHALL BE PRODUCT REPAIR OR REPLACEMENT AS PROVIDED HEREIN. CLAIMS BASED ON IMPLIED WARRANTIES, INCLUDING WARRANTIES OF MERCHANTABILITY OR FITNESS FOR A PARTICULAR PURPOSE, ARE LIMITED TO ONE YEAR OR THE SHORTEST PERIOD ALLOWED BY LAW, BUT NOT LESS THAN ONE YEAR. WHYNTER SHALL NOT BE LIABLE FOR CONSEQUENTIAL OR INCIDENTAL DAMAGES SUCH AS PROPERTY DAMAGE AND INCIDENTAL EXPENSES RESULTING FROM ANY BREACH OF THIS WRITTEN LIMITED WARRANTY OR ANY IMPLIED WARRANTY. SOME STATES AND PROVINCES DO NOT ALLOW THE EXCLUSION OR LIMITATION OF INCI DENTAL OR CONSEQUENTIAL DAMAGES, OR LIMITATIONS ON THE DURATION OF IMPLIED WARRANTIES, SO THESE LIMITATIONS OR EXCLUSIONS MAY NOT APPLY TO YOU. THIS WRITTEN WARRANTY GIVES YOU SPECIFIC LEGAL RIGHTS. YOU MAY ALSO HAVE OTHER RIGHTS THAT VARY FROM STATE TO STATE.
The warranty, product contents and specifications are subject to change at any time without notice; please refer to www.whynter.com for the most current information
To register your warranty, please visit www.whynter.com and fill out the online Warranty Registration form. Please be sure to include a copy of your purchase invoice.
To obtain service o r information, contact Whynter LLC via email at [email protected] or call 866-WHYNTER (866-949-6837).
Product contents and specifications may change without notice.
Copyright © 2023 Whynter LLC
WWW.WHYNTER.COM













![Whynter 14,000 Btu Portable Air Conditioner [arc-148ms] Instruction Manual Whynter 14,000 Btu Portable Air Conditioner [arc-148ms] Instruction Manual](https://static-data1.manualsee.com/1/img/334/18026/2020/12/Whynter-14000-BTU-Portable-Air-Conditioner-ARC-148MS.jpg)
![Whynter 10,000 Btu Portable Air Conditioner [arc-102cs] Instruction Manual Whynter 10,000 Btu Portable Air Conditioner [arc-102cs] Instruction Manual](https://static-data1.manualsee.com/1/img/324/18012/2020/12/Whynter-10000-BTU-Portable-Air-Conditioner-ARC-102CS-featured.png)







