E-flite EFL23850 Basic Electric Airplane Instruction Manual
Scan the QR code and select the Manuals and Support quick links from the product page for the most up-to-date manual information. Scannen Sie den QR-Code und wählen Sie auf der Produktseite die Quicklinks Handbücher und Unterstützung, um die aktuellsten Informationen zu Handbücher.

NOTICE
All instructions, warranties and other collateral documents are subject to change at the sole discretion of Horizon Hobby, LLC. For up-to-date product literature, visit horizonhobby.com or towerhobbies.com and click on the support or resources tab for this product.
MEANING OF SPECIAL LANGUAGE
The following terms are used throughout the product literature to indicate various levels of potential harm when operating this product:
WARNING: Procedures, which if not properly followed, create the probability of property damage, collateral damage, and serious injury OR create a high probability of superficial injury.
CAUTION: Procedures, which if not properly followed, create the probability of physical property damage AND a possibility of serious injury.
NOTICE: Procedures, which if not properly followed, create a possibility of physical property damage AND little or no possibility of injury.
WARNING: Read the ENTIRE instruction manual to become familiar with the features of the product before operating. Failure to operate the product correctly can result in damage to the product, personal property and cause serious injury. This is a sophisticated hobby product. It must be operated with caution and common sense and requires some basic mechanical ability. Failure to operate this Product in a safe and responsible manner could result in injury or damage to the product or other property. This product is not intended for use by children without direct adult supervision. Do not use with incompatible components or alter this product in any way outside of the instructions provided by Horizon Hobby, LLC. This manual contains instructions for safety, operation and maintenance. It is essential to read and follow all the instructions and warnings in the manual, prior to assembly, setup or use, in order to operate correctly and avoid damage or serious injury.
AGE RECOMMENDATION: Not for children under 14 years. This is not a toy.
Safety Precautions and Warnings
As the user of this product, you are solely responsible for operating in a manner that does not endanger yourself and others or result in damage to the product or the property of others.
- Always keep a safe distance in all directions around your model to avoid collisions or injury. This model is controlled by a radio signal subject to interference from many sources outside your control. Interference can cause momentary loss of control.
- Always operate your model in open spaces away from full-size vehicles, traffic and people.
- Always carefully follow the directions and warnings for this and any optional support equipment (chargers, rechargeable battery packs, etc.).
- Always keep all chemicals, small parts and anything electrical out of the reach of children.
- Always avoid water exposure to all equipment not specifically designed and protected for this purpose. Moisture causes damage to electronics.
- Never place any portion of the model in your mouth as it could cause serious injury or even death.
- Never operate your model with low transmitter batteries.
- Always keep aircraft in sight and under control.
- Always use fully charged batteries.
- Always keep transmitter powered on while aircraft is powered.
- Always remove batteries before disassembly.
- Always keep moving parts clean.
- Always keep parts dry.
- Always let parts cool after use before touching.
- Always remove batteries after use.
- Always ensure failsafe is properly set before flying.
- Never operate aircraft with damaged wiring.
- Never touch moving parts.
WARNING AGAINST COUNTERFEIT PRODUCTS: If you ever need to replace your Spektrum receiver found in a Horizon Hobby product, always purchase from Horizon Hobby, LLC or a Horizon Hobby authorized dealer to ensure authentic high-quality Spektrum product. Horizon Hobby, LLC disclaims all support and warranty with regards, but not limited to, compatibility and performance of counterfeit products or products claiming compatibility with DSM or Spektrum technology.
Registration
Register your product today to join our mailing list and keep up to date with product updates, offers and E-flite® news.
Specifications
| Wingspan | 63.58in (1615mm) |
| Length | 43.0in (1092mm) |
| Weight | Without Battery: 79.65oz (2258g)With Recommended 4S 3200mAh Flight Battery: 91.29oz (2588g) |
Included Equipment
| Receiver | Spektrum™ AR637TA 6CH SAFE® and AS3X® Telemetry Receiver (SPMAR637TA) |
| ESC | Avian Dual 40-Amp Smart Lite ESC (SPMXAE0240B) |
| Motors | 3536-750KV Brushless Motor, 14-Pole (SPMXAM0750) |
| Propellers | 3-Blade Propeller, 10x7CW, 10x7CCW (EFLP10073B, EFLP10073BCC) |
| Servos | A332 9g Sub-Micro Metal-Geared Servo (SPMSA332) |
Recommended Equipment
| Transmitter | NX6 6 Ch DSMX Transmitter Only (SPMR6775) |
| Flight Battery | 3200mAh 4S 14.8V Smart G2 50C LiPo Battery: IC3 (SPMX324S50) |
| Battery Charger | Smart S1100 G2 AC Charger, 1x100W (SPMXC2080) |
Optional Accessories
| EFL5261 | Float Set:Timber |
| SPMXCA200 | Avian Firma Smart ESC Programmer |
| SPMR8200 | NX8 8 Ch DSMX Transmitter Only |
| SPMXC2010 | Smart S2200 G2 AC Charger,2x200W |
| SPMX27004S30 | 2700mAh 4S 14.8V Smart 30C LiPo Battery; IC3 |
| SPMX32004S100 | 3200mAh 4S 14.8V Smart 100C LiPo Battery; IC3 |
| SPMX32004S30 | 3200mAh 4S 14.8V Smart 30C LiPo Battery; IC3 |
| SPMX324S100 | 3200mAh 4S 14.8V Smart G2 100C LiPo Battery; IC3 |
| SPMX40004S30 | 4000mAh 4S 14.8V Smart 30C LiPo Battery; IC3 |
Required Tools
- Phillips Screwdrivers (PH#0, PH#1)


- 2mm Hex Driver

- 10mm or Adjustable Wre

Transmitter Setup
IMPORTANT: After you set up your model, always rebind the transmitter and receiver to set the desired failsafe positions.
IMPORTANT: Flap to elevator mix values, control throws, dual rates, exponential,
CG range are recommended as STARTING POINTS and should be adjusted for personal preference as/if needed after making initial flights.
If your transmitter allows it, enable the throttle cut feature. Always engage throttle cut before approaching the aircraft.
Dual Rates
Low rate is recommended for the initial flights
NOTICE: To ensure AS3X® technology functions properly, do not lower rate values below 50%. If lower rates are desired, manually adjust the position of the pushrods on the servo arm.
NOTICE: If oscillation occurs at high speed, refer to the Troubleshooting Guide for more information.
Exponential
After first flights, you may adjust exponential in your transmitter.
Transmitter Telemetry Setup
If the transmitter that you intend to use with this aircraft is not displaying telemetry data, visit Spektrumrc.com and update your firmware. With the latest firmware installed on your transmitter the telemetry option should now be functional on your transmitter.
| Computerized Transmitter Setup (DX6e‡, DX6‡, DX7, DX7S, DX8, DX8e, DX9, DX10t, DX18, DX20, iX12, iX14, iX20, NX6, NX8, and NX10) | |||
| Start all transmitter programming with a blank ACRO model (do a model reset), then name the model. | |||
| Set Aileron, Elevator and Rudder Dual Rates to: | HIGH 100% | Expo 10% | |
| LOW 70% | Expo 5% | ||
| Set Servo Travel to: | 100% | ||
| Set Throttle Cut to | -130% | ||
| DX7S DX8 | 1. Go to the SYSTEM SETUP | ||
| 2. Set MODEL TYPE: AIRPLANE | |||
| 3. Set AIRCRAFT TYPE: 1 AIL 1 FLAP | |||
| 4. Go to the FUNCTION LIST | |||
| 5. Set FLAP SYSTEM: Choose FlapNORM: 0% FLAP 0% ElevatorMID: -50% FLAP 5% ElevatorLAND: -100% FLAP 6% Elevator SPEED 2.0S: SWITCH = FLAP | |||
| DX6e‡DX6 (Gen2)‡ DX7 (Gen2) DX8 (Gen2) DX8eDX9 DX10t DX18 DX20iX12† iX14† iX20† NX6 NX8 NX10 | 1. Go to the SYSTEM SETUP (Model Utilities)† | ||
| 2. Set MODEL TYPE: AIRPLANE | |||
| 3. Set AIRCRAFT TYPE (Model Setup, Aircraft Type)†: WING: 1 AIL 1 FLAP | |||
| 4. Go to the FUNCTION LIST (Model Adjust)† | |||
| 5. Set FLAP SYSTEM: SELECT SWITCH D:POS 0: 0% FLAP 0% ElevatorPOS 1:-50% FLAP 5% ElevatorPOS 2: -100% FLAP 6% ElevatorSPEED 2.0 | |||
† Some of the terminology and function locations used in the iX series programming may be slightly different than other Spektrum™ AirWare™ radios. The names given in parenthesis correspond to the iX series programming terminology. Consult your transmitter manual for specific information about programming your transmitter.
‡ The settings provided above for the DX6 and DX6e do not allow for the use of a SAFE® Select switch. To use a SAFE Select switch on these systems see the SAFE Select Switch Designation section for transmitter setup and operation information.
Aircraft Assembly
Landing Gear Installation
- Insert the left landing gear assembly into the pocket on the side of the fuselage as shown. The landing gear legs mount to the flat spot of the aluminum block which can pivot in the pocket.
- Use a #1 Phillips screwdriver to install two M2.5 x 8mm machine screws through the landing gear leg into the threaded holes in the aluminum pivot block.

- The landing gear springs mount to the plastic bracket in the fuselage between the landing gear legs. Align the looped end of the spring with the mounting hole in the fuselage.
- Use a #1 Phillips screwdriver to install a M3 x 16mm self tapping screw and 10mm stepped washer to anchor the landing gear spring in place.
- Repeat steps 1 thru 4 to install the right landing gear assembly

Horizontal Stabilizer Installation
- Slide the 4mm x 300mm (0.60mm wall) horizontal stabilizer tube through the hole in the rear of the fuselage, approximately centering the tube side to side.
TIP: Flex the elevators up and down several times to loosen the hinge. - Install the left and right horizontal stabilizers onto the tube and into the pocket in the fuselage. Ensure the control horn on the right elevator is facing toward the bottom of the aircraft, and the elevator torque tube aligns correctly. The right side of the torque tube slips into the left side, ensuring the elevator halves move in unison.

- Using a PH#1 Phillips screwdriver, secure the horizontal stabilizer halves in place using two M2.5 x 12mm self tapping screws.

Pushrod Keeper Installation
- Insert the end of the elevator pushrod with the 90° bend in the middle hole of the elevator control horn and into the hole of the pushrod keeper.
- Rotate the pushrod keeper and press until it clicks into position around the pushrod, capturing the pushrod in the control horn.

Propeller Adapter and Propeller Installation
The Twin Timber uses counter-rotating propellers. The propeller adapters are threaded in opposite directions and are color-coded to ensure they are installed on the correct motor.
- The red anodized propeller adapter is threaded normally and must be installed on the left motor.
- The green anodized propeller adapter is reverse-threaded and must be installed on the right motor.
- 1. Install each propeller adapter with a 2mm hex driver and four M2.5 x 10mm
hex head cap screws, ensuring the adapters are installed on the correct side,
as described above. - Using a 10mm wrench, prop washer, and 10mm nut, install the propellers onto the propeller adapters, with the embossed size on the propeller hub facing forward.
- The propeller marked CW must be installed on the left side (red anodized adapter).
IMPORTANT: The red anodized adapter is conventionally threaded and requires the standard threaded nut. The standard threaded propeller nut tightens in a clockwise direction. If the nut does not thread on easily, try the other propeller nut. - The propeller marked CCW must be installed on the right side (green anodized adapter).
IMPORTANT: The green anodized adapter is reverse threaded and must use the reverse threaded nut. The reverse threaded propeller nut tightens in a counter-clockwise direction. If the nut does not thread on easily, try the other propeller nut.
- The propeller marked CW must be installed on the left side (red anodized adapter).
- Using a PH#1 Phillips screwdriver and an M2.5 x 8mm machine screw, install the spinner onto the propeller adapter. Use the illustration to determine which spinner to install on each motor

Wing Assembly
The wing may be assembled with or without the included optional leading edge slats. The slats improve the slow speed performance of the Twin Timber but have minimal effect on the high speed performance.
Assembling the Optional Leading Edge Slats
- Carefully apply medium CA to each slat pocket.
- Mount the slat onto the wing with the rounded edge facing forward.

Wing Installation
- Insert the 12.8mm x 500mm (2.5mm wall) wing joiner tube and slide the left and right wing halves together, as shown.
- Secure the wing together using the wing bracket.
TIP: If it is necessary to remove the wing from the aircraft during transportation or storage, you can seperate the wing panels and store the wing tube in the storage clip between the motor connectors inside the fuselage. When inserting the wing tube in the clip, be careful not to damage any wiring within the fuselage.
- Insert the motor wire connectors in the sockets in the fuselage.
IMPORTANT: The motor wires and sockets are color-coded red and green; red on the left, green on the right. The motor wires must be connected to the matching socket. - Insert the connectors from the wing servos into the sockets in the fuselage.
IMPORTANT: The servo wire connectors and sockets are color-coded red and green; red on the left, green on the right. The servo wires must be connected to the matching socket. - Insert the leading edge of the wing into the wing saddle, and then tighten the two M6 x 30mm nylon wing screws to secure the wing in place.
CAUTION: DO NOT crush or otherwise damage the wiring when attaching the wing to the fuselage.
Battery Installation and ESC Arming

The E-flite® Twin Timber is compatible with a range of LiPo batteries, from 3S 11.1V or 4S 14.8V, and 2200-5000mAh, with an EC3™ or IC3® connector. The optimum range is a LiPo battery of 3S or 4S and 3200-4000mAh.
IMPORTANT: When using smaller 2200mAh batteries it is critical to check the center of gravity before attempting flight, as well as to monitor the current draw. Additional nose weight may be required to achieve the correct center of gravity. Depending on the condition of the battery, it may be necessary to adjust your flying style to achieve adequate performance. For best performance and overall handling, the Spektrum™ Smart 3200mAh 4S 50C Li-Po battery (SPMX324S50) is recommended. Refer to the Optional Parts List for other recommended batteries. If using a battery other than those listed, the battery should be within the range of capacity, dimensions and weight of the Spektrum Li-Po battery pack to fit in the fuselage. Be sure the model balances at the recommended CG before flying.
WARNING: Always keep hands away from the propellers. When armed, the motor will turn the propellers in response to any throttle movement. If your transmitter supports it, always engage throttle cut before approaching the aircraft any time a battery is connected
- Lower the throttle and throttle trim to the lowest settings. Power on the transmitter, then wait 5 seconds.
- Lift up on the rear of the hatch up to remove the hatch from the fuselage.
- Install the fully charged battery in the battery compartment, as shown. Secure using the two included hook and loop straps.
- Connect the battery to the ESCs.
- Keep the aircraft immobile and away from wind or the system will not initialize.
IMPORTANT: The aircraft must be bound to your transmitter to complete initialization. If you have not completed the binding procedure, see the Transmitter and Receiver Binding section.- The ESCs will sound a series of tones (the ESCs are now armed).
- An LED will light on the receiver.
IMPORTANT: If the ESCs sound a continuous double beep after the flight battery is connected, recharge or replace the battery.
- Reinstall the canopy hatch.
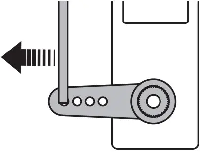
Center of Gravity (CG)

The CG location is measured from the leading edge of the wing (without slats installed) The recommended CG is 92mm (+/- 7mm) back from the leading edge. TIP: Measure the CG at the furthest forward point of the wing leading edge, between the fuselage and motor nacelles, as shown by the arrow in the illustration.
NOTICE: Install the battery and hatch but do not arm the ESC while checking the center of gravity. Personal injury may result.
General Binding Tips and Failsafe BNF
- The included receiver has been specifically programmed for operation of this aircraft. Refer to the receiver manual for correct setup if the receiver is replaced.
- Keep away from large metal objects while binding.
- Do not point the transmitter’s antenna directly at the receiver while binding.
- The orange LED on the receiver will flash rapidly when the receiver enters bind mode.
- Once bound, the receiver will retain its bind settings for that transmitter until you re-bind.
- If the receiver loses transmitter communication, the failsafe will activate. Failsafe moves the throttle channel to low throttle. Pitch and roll channels move to actively stabilize the aircraft in a descending turn.
- If problems occur, refer to the troubleshooting guide or if needed, contact the appropriate Horizon Product Support office.
Transmitter and Receiver Binding / Enabling and Disabling SAFE Select BNF
The BNF Basic version of this airplane includes SAFE Select technology, enabling you to choose the level of flight protection. SAFE mode includes angle limits and automatic self leveling. AS3X mode provides the pilot with a direct response to the control sticks. SAFE Select is enabled or disabled during the bind process. With SAFE Select disabled the aircraft is always in AS3X mode. With SAFE Select enabled the aircraft will be in SAFE Select mode all the time, or you can assign a switch to toggle between SAFE Select and AS3X modes. Thanks to SAFE Select technology, this aircraft can be configured for full-time SAFE mode, full-time AS3X mode, or mode selection can be assigned to a switch.
IMPORTANT: Before binding, read the transmitter setup section in this manual and complete the transmitter setup table to ensure your transmitter is properly programmed for this aircraft.
IMPORTANT: Move the transmitter flight controls (rudder, elevators, and ailerons) and the throttle trim to neutral. Move the throttle to low before and during binding. This process defines the failsafe settings.
You can use either the bind button on the receiver case or the conventional bind plug to complete the binding and SAFE Select process.
TIP: An extension is installed in the receiver bind port, extending into the battery compartment. Insert the bind plug in the extension labeled “BIND” in the battery compartment if using the bind plug to complete the binding and SAFE Select process
Using The Bind Button…
To Enable SAFE Select
SAFE SELECT ENABLED: The control surfaces cycle back and forth twice with a slight pause at neutral position every time the receiver is powered on
To Disable SAFE Select
SAFE SELECT DISABLED: The control surfaces cycle back and forth once every time the receiver is powered on.
Using The Bind Plug…
To Enable SAFE Select
SAFE SELECT ENABLED: The control surfaces cycle back and forth twice with a slight pause at neutral position every time the receiver is powered on.
To Disable SAFE Select
SAFE SELECT DISABLED: The control surfaces cycle back and forth once every time the receiver is powered on
Integrated ESC Telemetry
BNF: This aircraft includes telemetry between the ESC and receiver, which can provide information including RPM, voltage, motor current, throttle setting (%), and FET (speed controller) temperature.
PNP: The ESC in this aircraft is capable of delivering telemetry information over the throttle connection when paired with a Smart compatible Spektrum telemetry receiver. It will function with a normal PWM servo signal for common radio control systems. For more information about compatible transmitters, firmware updates, and how to use the telemetry technology on your transmitter, visit www.SpektrumRC.com.
| Telemetry Setup | |
| DX series, NX series, iX series | 1. Begin with the transmitter bound to the receiver. |
| 2. Power ON the transmitter. | |
| 3. Set switch H (throttle cut) to prevent accidental motor operation. | |
| 4. Power ON the aircraft. A signal bar appears on your transmitter’s main screen when the telemetry information is being received. | |
| 5. Go to the FUNCTION LIST (Model Setup) | |
| 6. Select TELEMETRY; Smart ESC | |
| 7. Set Total Cells: 4 | |
| 8. Set LVC Alarm: 3.4V Set Alarm; Voice/Vibe | |
| 9. Set pole count; 14 pole | |
SAFE® Select Switch Designation BNF
Once SAFE Select is enabled, you can choose to fly in SAFE mode full-time, or assign a switch. Any switch on any channel between 5 and 9 can be used on your transmitter. If the aircraft is bound with SAFE Select disabled, the aircraft will be in AS3X mode exclusively.
CAUTION: Keep all body parts well clear of the propeller and keep the aircraft securely restrained in case of accidental throttle activation.
IMPORTANT: To be able to assign a switch, first verify:
- The aircraft was bound with SAFE Select enabled.
- Your choice for the SAFE Select switch is assigned to a channel between 5 and 9 (Gear, Aux1-4), and travel is set at 100% in each direction.
- The aileron, elevator, rudder and throttle direction are set to normal, not reverse.
- The aileron, elevator, rudder and throttle are set to 100% travel. If dual rates are in use, the switches need to be in the 100% position.
See your transmitter manual for more information about assigning a switch to a channel.
Assigning a Switch with Stick Inputs
- Power on the transmitter.
- Power on the aircraft.
- Hold both transmitter sticks to the inside bottom corners, and toggle the desired switch 5 times quickly (1 toggle = full up and down).

Assigned Switch
TIP: Use the channel monitor to verify channel movement.*
* This example of the channel monitor shows the stick positions for assigning a switch, the switch selection on Aux2, and +/- 100% travel on the switch.
- The control surfaces of the aircraft will move, indicating the switch has been selected. Repeat the process to assign a different switch or to deactivate the current switch.
Forward Programming
Assign the SAFE Select channel through forward programming on your compatible Spektrum transmitter
| Forward Programming SAFE Select Setup | |
| DX series, NX series, iX series | 1. Begin with the transmitter bound to the receiver. |
| 2. Power ON the transmitter. | |
| 3. Assign a switch for SAFE Select that is not already in use for another function. Use any open channel between 5 and 9 (Gear, Aux1-4). | |
| 4. Set switch H (throttle cut) to prevent accidental motor operation. | |
| 5. Power ON the aircraft. A signal bar appears on your transmitter’s main screen when the telemetry information is being received. | |
| 6. Go to the FUNCTION LIST (Model Setup) | |
| 7. Select Forward Programming; Select Gyro Settings, Choose SAFE Select to enter the menu. | |
| 8. Set SAFE Select Ch: To the channel you have chosen for SAFE Select. | |
| 9. Set AS3X and SAFE On or Off as desired for each switch position. | |
Control Surface Centering
After assembly and transmitter setup, confirm that the control surfaces are centered. The model must be powered on and bound to the transmitter, with the throttle at the lowest setting.
IMPORTANT: Control surface centering must be done with SAFE mode OFF.
- Verify the trims and subtrims on your transmitter are set to zero.
- Power on the model with SAFE mode OFF and the throttle at the lowest setting.
- If any of the control surfaces are not centered, loosen the screw in the quick connector linkage on the servo arm for the control surface that requires adjustment.
- Slide the pushrod in or out through the quick connector to center the control surface.
- Apply a small amount of removable thread lock compound to the screw threads.
- Tighten the screw to secure the pushrod.

Control Surface Direction
WARNING: Always keep hands away from the propellers. When armed, the motors will turn the propellers in response to any throttle movement. If your
transmitter supports it, always engage throttle cut before conducting control direction tests. Switch on the transmitter and connect the battery. Use the transmitter to operate the aileron, elevator, rudder and flap controls. View the aircraft from the rear when checking the control directions.
Elevator
- Pull the elevator stick back. The elevators should move up, which will cause the aircraft to pitch up.
- Push the elevator stick forward. The elevators should move down, which will cause the aircraft to pitch down.
Ailerons
- Move the aileron stick to the left. The left aileron should move up and the right aileron down, which will cause the aircraft to bank left.
- Move the aileron stick to the right. The right aileron should move up and the left aileron down, which will cause the aircraft to bank right.
Rudder
WARNING: When the ESCs are armed, the motors may turn the propellers in response to rudder movement. If your transmitter supports it, always engage throttle cut before conducting control direction tests.
- Move the rudder stick to the left. The rudder should move to the left, which will cause the aircraft to yaw left.
- Move the rudder stick to the right. The rudder should move to the right, which will cause the aircraft to yaw right.
Flaps
- Move your flap control switch down to the partial position.
- Confirm that the wing flaps move down.
- Move flap control switch to the full flap position.
- Confirm the flaps move farther down than in step two.
| Transmitter command Control Surface Response | ||
| Elevator | ![]() | ![]() |
![]() | ![]() | |
| Ailerons | ![]() | ![]() |
![]() | ![]() | |
| Rudder | ![]() | ![]() |
![]() | ![]() | |
| Flaps | ![]() | |
Dual Rates and Control Throws
Program your transmitter to set the rates and control throws to the values given. These values have been tested and are a good starting point to achieve successful flight. After flying, you may choose to adjust the values for the desired control response.
NOTICE: Do not use flap control throws greater than those provided in the table. The aircraft has been extensively flight tested, and these values provide the safest performance. Using greater values can induce pitch over with rapid throttle changes and cause a crash
| High Rate (100%) | Low Rate (70%) | |||
| Travel (mm) | Expo | Travel (mm) | Expo | |
| Aileron | ▲ = 65mm▼ = 65mm | 10% | ▲ = 45mm▼ = 45mm | 5% |
| Elevator | ▲ = 35mm▼ = 35mm | 10% | ▲ = 25mm▼ = 25mm | 5% |
| Rudder | ▶ = 40mm◀ = 40mm | 10% | ▶ = 25mm◀ = 25mm | 5% |
| Flaps | Mid = 25mm | Speed = 2.0 seconds | ||
| Landing = 45mm | Speed = 2.0 seconds | |||
In Flight Trimming BNF

During your first flight, trim the aircraft for level flight at 3/4 throttle with flaps up. Make small trim adjustments with your transmitter’s trim switches to straighten the aircraft’s flight path. After adjusting the trim, do not touch the control sticks for 3 seconds. This allows the receiver to learn the correct settings to optimize AS3X performance. Failure to do so could affect flight performance.
Differential Thrust
The Twin Timber BNF Basic version is equipped with differential thrust. When the rudder is applied one motor will increase speed and the other will decrease speed to assist with yaw control. This assists in ground handling, takeoff and landing. For maximum control during takeoff and landing we recommend increasing the throttle trim (about 3-5 trim clicks), until the motors just start spinning. Then reduce the trim until the motors stop. With the trim set in this position rudder input will allow one motor to spin to maintain directional control even with the throttle at idle.
CAUTION: With the trim set in this position, throttle cut must be activated. If the aircraft is picked up and yawed without the trim lowered or throttle cut activated, a motor may power on unexpectedly, possibly causing injury or damage to the aircraft or property. Always make sure everything is clear of the propellers before handling the aircraft.
Flying Tips and Repairs
Range Check your Radio System
Before you fly, range check the radio system. Refer to your specific transmitter instruction manual for range test information.
Oscillation
Once the AS3X system is active (after advancing the throttle for the first time), you will normally see the control surfaces react to aircraft movement. In some flight conditions you may see oscillation (the aircraft rocks back and forth on one axis due to overcontrol). If oscillation occurs, refer to the Troubleshooting Guide for more information.
Takeoff
Place the aircraft facing into the wind. Set your transmitter in low rate and use your flaps switch to drop the flaps to takeoff or “half position”. Gradually increase the throttle to ¾ and steer with the rudder. Flaps make takeoffs shorter. As the tail comes off the ground, pull back gently on the elevator. Climb to a comfortable altitude and then flip your flaps switch to level the flaps.
Flying
For your first flights with the recommended battery pack (SPMX324S50), set your transmitter timer or a stopwatch to 4 minutes, land the aircraft. Adjust your timer for longer or shorter flights once you have flown the model. If at any time the motor power reduces, land the aircraft immediately to recharge the flight battery. See the Low Voltage Cutoff (LVC) section for more details on maximizing battery health and run time.
Landing
Land the aircraft into the wind. Use high rate elevator for landings. Use a small amount of throttle for the entire descent. Lower the throttle to ¼ and select your flap switch to deploy the flaps to the landing, or full down position. Flaps will make the landing approach steeper and slower, and allow for a smoother landing. This will slow the aircraft further. Keep the throttle on until the aircraft is ready to flare.
During flare, keep the wings level and the aircraft pointed into the wind. Gently lower the throttle while pulling back on the elevator to bring the aircraft down on its wheels. If landing on grass, it is best to hold full up elevator after touchdown and when taxiing to prevent nosing over. Once on the ground, avoid sharp turns until the plane has slowed enough to prevent scraping the wingtips.
NOTICE: If a crash is imminent, reduce the throttle and trim fully. Failure to do so could result in extra damage to the airframe, as well as damage to the ESC and motor.
NOTICE: After any impact, always ensure the receiver is secure in the fuselage. If you replace the receiver, install the new receiver in the same orientation as the original receiver or damage may result.
NOTICE: Crash damage is not covered under warranty.
NOTICE: When you are finished flying, never leave the aircraft in direct sunlight or in a hot, enclosed area such as a car. Doing so can damage the aircraft.
Low Voltage Cutoff (LVC)
When a Li-Po battery is discharged below 3V per cell, it will not hold a charge. The ESC protects the flight battery from over-discharge using Low Voltage Cutoff (LVC). Before the battery charge decreases too much, LVC removes power supplied to the motor. Power to the motor reduces, showing that some battery power is reserved for flight control and safe landing. Disconnect and remove the Li-Po battery from the aircraft after use to prevent trickle discharge. Charge your Li-Po battery to about half capacity before storage. During storage, make sure the battery charge does not fall below 3V per cell. LVC does not prevent the battery from over-discharge during storage.
NOTICE: Repeated flying to LVC will damage the battery.
TIP: Monitor your aircraft battery’s voltage before and after flying by using a Li-Po Cell Voltage Checker (SPMXBC100, sold separately).
Repairs
Thanks to the EPO material in this aircraft, repairs to the foam can be made using virtually any adhesive (hot glue, regular CA, epoxy, etc). When parts are not repairable, see the Replacement Parts List for ordering by item number. For a listing of all replacement and optional parts, refer to the list at the end of this manual.
NOTICE: Use of CA accelerant on your aircraft can damage paint. DO NOT handle the aircraft until accelerant fully dries.
Post Flight
| 1. Disconnect the flight battery from the ESC | 5. Repair or replace all damaged parts | |
| 2. Power OFF the transmitter | 6. Store the flight battery apart from the aircraft and monitor the battery charge | |
| 3. Remove the flight battery from the aircraft | 7. Make note of the flight conditions and flight plan results, planning for future flights | |
| 4. Recharge the flight battery | ||
SAFE Select Flying Tips BNF
When flying in SAFE Select mode the aircraft will return to level flight any time the aileron and elevator controls are at neutral. Applying aileron or elevator control will cause the airplane to bank, climb or dive. The amount the stick is moved will determine the attitude the airplane flies. Holding full control will push the aircraft to the pre-determined bank and roll limits, but it will not go past those angles. When flying with SAFE Select, it is normal to hold the control stick deflected with moderate aileron input when flying through a turn. To fly smoothly with SAFE Select, avoid making frequent control changes and don’t attempt to correct for minor deviations. Holding deliberate control inputs will command the aircraft to fly at a specific angle, and the model will make all corrections to maintain that flight attitude. When flying with SAFE Select, throttle will make the aircraft climb or descend. Full throttle will cause the aircraft to pitch up and climb slightly. Mid throttle will keep the airplane flying level. Low throttle will cause the airplane to descend slightly nose-down. Return the elevator and aileron controls to neutral before switching from SAFE Select mode to AS3X mode. If you do not neutralize controls when switching into AS3X mode, the control inputs used for SAFE Select mode will be excessive for AS3X mode and the aircraft will react immediately
Differences between SAFE Select and AS3X modes
This section is generally accurate but does not take into account flight speed, battery charge status, and other limiting factors.
| SAFE Select | AS3X | ||
| Control Input | Control stick is neutralized | Aircraft will self level | Aircraft will continue to fly at its present attitude |
| Holding a small amount of control | Aircraft will bank or pitch to a moderate angle and maintain the attitude | Aircraft will continue to pitch or roll slowly | |
| Holding full control | Aircraft will bank or pitch to the predetermined limits and maintain the attitude | Aircraft will continue to roll or pitch rapidly | |
| Throttle | Full throttle: Climb Neutral: Level flight Low throttle: Descend | Throttle will not affect flight response. |
Receiver Selection and Installation PNP
The recommended receiver for this aircraft is the Spektrum AR637T. If you choose to install a different receiver, ensure that it is at least a 6-channel full range receiver. Refer to the manual of your chosen receiver for correct installation and operation instructions.
AR637T Installation
- Attach the appropriate control surfaces to the their respective ports on the receiver using the table at the right.
- Using high quality double-sided servo tape,(not included) mount the receiver to the flat area behind the battery compartment, as shown. The receiver should be mounted in the orientation shown, parallel to the length of the fuselage, with the label facing up and the servo ports facing the front of the aircraft. The orientation of the receiver is critical for all AS3X and SAFE technology setups.
CAUTION: Incorrect installation of the receiver could cause a crash.
Antenna Installation
The AR637T receiver has a coaxial style antenna. We recommend installing the antennas into the provided antenna tubes to maximize signal reception performance. The left antenna is directed down, and the right antenna is directed aft.
NOTICE: Do not cut, kink, or modify the antenna. Damage to the coaxial portion of an antenna will reduce the performance of the antenna. Shortening or cutting off the 31mm tip will reduce the rang
AR637T Port Assignments Bind/Prog/SRXL2
- Throttle
- Ailerons
- Elevator
- Rudder
- Lights
- Flaps

Control Horn and Servo Arm Settings
The table to the right shows the factory settings for the control horns and servo arms. Fly the aircraft at factory settings before making changes.
NOTICE: If control throws are changed from the factory settings, the AR637T gain values may need to be adjusted. Refer to the Spektrum AR637T manual for adjustment of gain values.
After flying, you may choose to adjust the linkage positions for the desired control response. See the table to the right.
More control throw

Less control throw

| Control Horns | Servo Arms |
Elevator ![]() | ![]() |
![]() Ailerons | ![]() |
![]() Rudder | ![]() |
![]() Flaps | ![]() |
Motor Service
Disassembly
- Using a PH#1 Phillips screwdriver, remove the M2.5 x 8mm spinner screw (A) and spinner (B) from the propeller shaft.
- Using an adjustable wrench, remove the spinner nut (C) and prop washer (D).
- Remove the propeller (E) from the propeller shaft.
- Using a PH#0 Phillips screwdriver, remove the two M2.0 x 10mm self tapping screws (F) from the cowling (G) to remove the cowling from the motor nacelle.
- Using a 2.0mm hex driver, remove the four M2.5 x 10mm socket head cap screws (H) to remove the propeller adapter (I) from the motor.
- Using a PH#1 Phillips screwdriver, remove the three M3 x 35mm self tapping screws (J) to remove the motor (K) from the motor nacelle.
- Disconnect the motor wires from the ESC wires.
- Using a PH#1 Phillips screwdriver, remove the four M3 x 6mm Phillips head machine screws (L) and motor from the Y-mount (M).

Float Installation (Optional)
Float Assembly
- Install the 2 cross members (A) to the left and right floats as shown.
- Install the front and rear float struts to the floats and secure the assembly together using the included 4 float plates (B) and M2.5 x 25mm machine screws (C). The front strut has slightly more of an angle than the rear strut (Figure 1).
- Install the front support members (D) as shown using the included self tapping screws (E).

Float Assembly Installation
- Align and mount the float set assembly to the bottom of the fuselage.
- Secure the back section of the floats to the fuselage using the included bracket (F) and two 3mm x 10mm self tapping screws (G).
- Secure the front section of the floats using the two included 3mm x 10mm self tapping screws (H) to secure the front support members to the bottom of the fuselage.
- Attach the included wires from each float rudder (I) to the quick connectors in the pull–pull horn (J) using the two included pins (K) and (2) M2.5 x 4mm machine screws.



Flying Off Water
Flying off water poses a higher risk because piloting errors or water conditions can cause the aircraft to become stranded. Only fly from the water when a level of comfort has been achieved flying the aircraft from the ground.
Pre-Flight
Ensure the optional floats are secure on the fuselage and the water rudders are correctly connected and operating with the main rudder before putting the aircraft in the water. Select an area to fly that does not have water currents, salt water, or debris. Look around the flight area and be aware of trees, docks, buoys, or other obstacles. Always fly with a spotter and avoid swimmers, boaters, people fishing, and people on the beach.
Taxiing
When taxiing, use low throttle settings and the rudders to steer. Hold up elevator to help keep the rudders in the water and the nose of the floats above the surface. Steer into the wind when turning, and crab into the wind if crosswind taxiing is required. When turning or crabbing into the wind, apply aileron against the wind to keep the upwind side of the wing down and prevent the aircraft from being flipped over. Do not apply down elevator when the airplane is taxiing or during the takeoff run.
On Step
When speed increases with throttle, the floats will rise out of the water and begin to plane on the surface of the water, riding “on step.” The floats will come on step at a speed below flight speed, this is a transitional phase when the aircraft is not up to flight speed yet. This is considered a high speed taxi. Do not attempt to take off as soon as the aircraft comes on step. Use low to medium throttle and hold up elevator to manage speed on the water during a high speed taxi.
Takeoff
To lift off from the water, set the flaps to the takeoff position, hold up elevator and accelerate the aircraft to bring it on step. Relax the up elevator as the airplane comes on step and accelerate to flight speed with full throttle. When the aircraft is travelling at a sufficient speed, pull back slightly on the elevator to rotate for liftoff.
Landing
To land on the water, set the flaps to the landing position, and fly into the wind. Reduce the throttle to a low setting but keep some power during the approach. As the aircraft settles into ground effect, reduce the throttle fully and hold up elevator to flare. Hold up elevator through the touch down and as the airplane decelerates on the water.
WARNING: Never attempt to retrieve a downed aircraft by swimming.
CAUTION: Have a plan for retrieval in the event the airplane becomes stranded. Never attempt to retrieve a downed model from the water alone.
CAUTION: If water splashes in the fuselage during the flying session, bring the airplane to shore, open the battery hatch and immediately dry any water that may have gotten in the fuselage. Leave the battery hatch open overnight to dry the inside and prevent moisture damage to the electronic components. Failure to do so could cause electronic components to fail, which could result in a crash.
TIP: Use a fishing pole with heavy line as a retrieval tool. Attach a tennis ball to the line, and throw the ball past a stranded aircraft to retrieve it.
Thrust Reversing (Optional)
The Avian™ Smart Lite ESC in this aircraft is equipped with thrust reversing, but it must be enabled before it will function. Reversing the motors can be helpful when taxiing or for shortening ground roll after a landing. Flipping the designated switch reverses motor rotation, throttle will still control motor speed.
WARNING: Never attempt to use thrust reversing in flight. Applying reverse thrust while in flight will result in loss of control and possibly a crash. Crash damage is not covered under warranty.
IMPORTANT: The motor will draw more current in reverse as the propeller becomes less efficient and creates more drag. This can reduce flight time.
IMPORTANT: Thrust reversing requires a Spektrum receiver with Smart Throttle (including the AR637TA and AR631) and a Spektrum transmitter with a minimum of 7 channels. The Avian ESC is also backwards compatible with conventional receivers (PWM output signal) for normal operation, but reversing functions are only available with Smart Throttle technology.
Thrust Reversing Setup
Transmitter
On the transmitter, select an open channel (not already in use), and assign it to an open switch. Use a different channel for thrust reversing and SAFE Select. Motor reversing is assigned to Aux 2/Channel 7, by default, in the Smart ESC. If SAFE Select and the ESC are assigned to the same channel, the motor will reverse in flight.
WARNING: Do not assign thrust reversing and SAFE Select to the same channel. Doing so will reverse the motor when SAFE Select is enabled during flight, resulting in a crash.
ESC
Set up the transmitter according to the setup chart, and bind your transmitter to the airplane. The airplane must be powered on and bound to the transmitter to access the Smart ESC programming. As an alternative, it is possible to program the ESC with the Smart ESC Programming Box (SPMXCA200, optional, not included).
| ESC Reversing Setup | |
DX series, NX series, iX series | 1. Begin with the transmitter bound to the receiver. |
| 2. Power ON the transmitter. | |
| 3. Set switch H (throttle cut) to prevent accidental motor operation. | |
| 4. Set elevator and aileron to high rate. | |
| 5. Set Flight Mode to AS3X (The menu will not open if the Flight Mode is set to SAFE). | |
| 6. Power ON the aircraft. A signal bar appears on the transmitter main screen when the telemetry information is being received. | |
| 7. From the main screen navigate to the last screen past the telemetry screens, the Avian Programming menu (Avian Prog). | |
| 8. All configuration in the Avian Programming menu is done by moving the elevator and aileron stick. Follow the on-screen prompts to access the menu. Move the stick up or down to move the cursor, left or right to select a value or return to the cursor, and up or down to change a value when it is selected. | |
| 9. Set BRAKE TYPE: Reverse | |
| 10. Set BRAKE FORCE: 7 | |
| 11. Set THRUST REV: Select the channel you designated for thrust reversing in your transmitter. CH7 is the selection by default, but do not use this default option if you are using Aux2/Ch7 for SAFE Select. | |
| 12. Select EXIT W/ SAVE to save your selections | |
Troubleshooting Guide AS3X BNF
| Troubleshooting Guide | ||
| Problem | Possible Cause | Solution |
| Aircraft will not respond to throttle but responds to other controls | Throttle not at idle and/or throttle trim too high | Reset controls with throttle stick and throttle trim at lowest setting |
| Throttle servo travel is lower than 100% | Make sure throttle servo travel is 100% or greater | |
| Throttle channel is reversed | Reverse throttle channel on transmitter | |
| Motor disconnected from ESC | Make sure motor is connected to the ESC | |
| Extra propeller noise or extra vibration | Damaged propeller and spinner, collet or motor | Replace damaged parts |
| Propeller is out of balance | Balance or replace propeller | |
| Prop nut is too loose | Tighten the prop nut | |
| Reduced flight time or aircraft underpowered | Flight battery charge is low | Completely recharge flight battery |
| Propeller installed backwards | Install propeller with numbers facing forward | |
| Flight battery damaged | Replace flight battery and follow flight battery instructions | |
| Flight conditions may be too cold | Make sure battery is warm before use | |
| Battery capacity too low for flight conditions | Replace battery or use a larger capacity battery | |
Aircraft will not Bind (during binding) to transmitter | Transmitter too near aircraft during binding process | Move powered transmitter a few feet from aircraft, disconnect and reconnect flight battery to aircraft |
| Aircraft or transmitter is too close to large metal object, wireless source or another transmitter | Move aircraft and transmitter to another location and attempt binding again | |
| The bind plug is not installed correctly in the bind port | Install bind plug in bind port and bind the aircraft to the transmitter | |
| Flight battery/transmitter battery charge is too low | Replace/recharge batteries | |
| Bind switch or button not held long enough during the bind process | Power off transmitter and repeat bind process. Hold transmitter bind button or switch until receiver is bound | |
Aircraft will not connect (after binding) to transmitter | Transmitter too near aircraft during connecting process | Move powered transmitter a few feet from aircraft, disconnect and reconnect flight battery to aircraft |
| Aircraft or transmitter is too close to large metal object, wireless source or another transmitter | Move aircraft and transmitter to another location and attempt connecting again | |
| Bind plug left installed in bind port | Rebind transmitter to the aircraft and remove the bind plug before cycling power | |
| Aircraft bound to different model memory (ModelMatchTM radios only) | Select correct model memory on transmitter | |
| Flight battery/Transmitter battery charge is too low | Replace/recharge batteries | |
| Transmitter may have been bound to a different aircraft using different DSM protocol | Bind aircraft to transmitter | |
Control surface does not move | Control surface, control horn, linkage or servo damage | Replace or repair damaged parts and adjust controls |
| Wire damaged or connections loose | Do a check of wires and connections, connect or replace as needed | |
| Transmitter is not bound correctly or the incorrect airplanes was selected | Re-bind or select correct airplanes in transmitter | |
| Flight battery charge is low | Fully recharge flight battery | |
| BEC (Battery Elimination Circuit) of the ESC is damaged | Replace ESC | |
| Controls reversed | Transmitter settings are reversed | Perform the Control Direction Test and adjust the controls on transmitter appropriately |
| Motor power pulses then motor loses power | ESC uses default soft Low Voltage Cutoff (LVC) | Recharge flight battery or replace battery that is no longer performing |
| Weather conditions might be too cold | Postpone flight until weather is warmer | |
| Battery is old, worn out, or damaged | Replace battery | |
| Battery C rating might be too small | Use recommended battery | |
Replacement Parts
| Part # Description | |
| EFL105255 | Landing Gear Retainer |
| EFL23876 | Fuselage |
| EFL23877 | Wing Set |
| EFL23878 | Wing Slat Set |
| EFL23879 | Stab Set |
| EFL23880 | Battery Hatch |
| EFL23881 | Cowl Set |
| EFL23882 | Landing Gear |
| EFL23883 | Laning Gear Spring Set |
| EFL23884 | Spinner Black LH |
| EFL23885 | Spinner Black RH |
| EFL23886 | Prop Adapter LH |
| EFL23887 | Prop Adapter RH |
| EFL23888 | Motor Mount |
| EFL23889 | Motor Plug Set |
| EFL23890 | Wing Plug Set |
| EFL23891 | Wing & Stab Tubes |
| EFL23892 | Pushrod Set |
| EFL23893 | Pushrod Keepers |
| EFL23894 | Hardware Set |
| EFL23895 | Plastic Part Set |
| EFL23896 | LED Controller |
| EFL23897 | Decal Set |
| EFL5258 | Wheel Set |
| EFLP10073B | 3-Blade Propeller 10×7 CW |
| EFLP10073BCC | 3-Blade Propeller 10×7 CCW |
| SPMAR637T | AR637T 6CH SAFE and AS3X TelemRX |
| SPMSA332 | A332 9g Sub-Micro Metal-Geared Servo |
| SPMXAE0240B | Avian 40 Amp Dual Smart Lite ESC |
| SPMXAM0750 | 3536-750KV Brushless Motor 14-Pole |
Recommended Items
| Part # | Description |
| SPMX324S50 | 3200mAh 4S 14.8V Smart G2 50C; IC3 |
| SPMR6775 | NX6 6 Ch Transmitter Only |
| SPMXC2080 | Smart S1100 G2 AC Charger, 1x100W |
Optional Items
| Part # | Description |
| EFL5261 | Float Set:Timber |
| ONXT1000 | Ultimate Air/Surface Startup Tool Set |
| SPMXCA200 | Avian/Firma Smart ESC Programmer |
| SPMR8200 | NX8 8 Ch DSMX Transmitter Only |
| SPMXC2010 | Smart S2200 G2 AC Charger,2x200W |
| SPMXC2020 | Smart S1200 G2 AC Charger; 1x200W |
| SPMX27004S30 | 2700mAh 4S 14.8V Smart 30C LiPo Battery; IC3 |
| SPMX32004S100 | 3200mAh 4S 14.8V Smart 100C LiPo Battery; IC3 |
| SPMX32004S30 | 3200mAh 4S 14.8V Smart 30C LiPo Battery; IC3 |
| SPMX324S100 | 3200mAh 4S 14.8V Smart G2 100C LiPo Battery; IC3 |
| SPMX40004S30 | 4000mAh 4S 14.8V Smart 30C LiPo Battery; IC3 |
Important Federal Aviation Administration (FAA) Information
Use the QR code below to learn more about the Recreational UAS Safety Test (TRUST), as was introduced by the 2018 FAA Reauthorization Bill. This free test is required by the FAA for all recreational flyers in the United States. The completed certificate must be presented upon request by any FAA or law enforcement official.
If your model aircraft weighs more than .55lbs or 250 grams, you are required by the FAA to register as a recreational flyer and apply your registration number to the outside of your aircraft. To learn more about registering with the FAA, use the QR code below.
AMA National Model Aircraft Safety Code
Effective January 1, 2018
A model aircraft is a non-human-carrying device capable of sustained flight within visual line of sight of the pilot or spotter(s). It may not exceed limitations of this code and is intended exclusively for sport, recreation, education and/or competition. All model flights must be conducted in accordance with this safety code and related AMA guidelines, any additional rules specific to the flying site, as well as all applicable laws and regulations. As an AMA member I agree:
- I will not fly a model aircraft in a careless or reckless manner.
- I will not interfere with and will yield the right of way to all human-carrying aircraftusing AMA’s See and Avoid Guidance and a spotter when appropriate.
- I will not operate any model aircraft while I am under the influence of alcohol or any drug that could adversely affect my ability to safely control the model.
- I will avoid flying directly over unprotected people, moving vehicles, and occupied structures.
- I will fly Free Flight (FF) and Control Line (CL) models in compliance with AMA’s safety programming.
- I will maintain visual contact of an RC model aircraft without enhancement other than corrective lenses prescribed to me. When using an advanced flight system, such as an autopilot, or flying First-Person View (FPV), I will comply with AMA’s Advanced Flight System programming.
- I will only fly models weighing more than 55 pounds, including fuel, if certified through AMA’s Large Model Airplane Program.
- I will only fly a turbine-powered model aircraft in compliance with AMA’s Gas Turbine Program.
- I will not fly a powered model outdoors closer than 25 feet to any individual, except for myself or my helper(s) located at the flightline, unless I am taking off and landing, or as otherwise provided in AMA’s Competition Regulation.
- I will use an established safety line to separate all model aircraft operations from spectators and bystanders.
Limited Warranty
What this Warranty Covers
Horizon Hobby, LLC, (Horizon) warrants to the original purchaser that the product purchased (the “Product”) will be free from defects in materials and workmanship at the date of purchase.
What is Not Covered
This warranty is not transferable and does not cover (i) cosmetic damage, (ii) damage due to acts of God, accident, misuse, abuse, negligence, commercial use, or due to improper use, installation, operation or maintenance, (iii) modification of or to any part of the Product, (iv) attempted service by anyone other than a Horizon Hobby authorized service center, (v) Product not purchased from an authorized Horizon dealer, or (vi) Product not compliant with applicable technical regulations, or (vii) use that violates any applicable laws, rules, or regulations. OTHER THAN THE EXPRESS WARRANTY ABOVE, HORIZON MAKES NO OTHER WARRANTY OR REPRESENTATION, AND HEREBY DISCLAIMS ANY AND ALL IMPLIED WARRANTIES, INCLUDING, WITHOUT LIMITATION, THE IMPLIED WARRANTIES OF NON-INFRINGEMENT, MERCHANTABILITY AND FITNESS FOR A PARTICULAR PURPOSE. THE PURCHASER ACKNOWLEDGES THAT THEY ALONE HAVE DETERMINED THAT THE PRODUCT WILL SUITABLY MEET THE REQUIREMENTS OF THE PURCHASER’S INTENDED USE.
Purchaser’s Remedy
Horizon’s sole obligation and purchaser’s sole and exclusive remedy shall be that Horizon will, at its option, either (i) service, or (ii) replace, any Product determined by Horizon to be defective. Horizon reserves the right to inspect any and all Product(s) involved in a warranty claim. Service or replacement decisions are at the sole discretion of Horizon. Proof of purchase is required for all warranty claims. SERVICE OR REPLACEMENT AS PROVIDED UNDER THIS WARRANTY IS THE PURCHASER’S SOLE AND EXCLUSIVE REMEDY.
Limitation of Liability
HORIZON SHALL NOT BE LIABLE FOR SPECIAL, INDIRECT, INCIDENTAL OR CONSEQUENTIAL DAMAGES, LOSS OF PROFITS OR PRODUCTION OR COMMERCIAL LOSS IN ANY WAY, REGARDLESS OF WHETHER SUCH CLAIM IS BASED IN CONTRACT, WARRANTY, TORT, NEGLIGENCE, STRICT LIABILITY OR ANY OTHER THEORY OF LIABILITY, EVEN IF HORIZON HAS BEEN ADVISED OF THE POSSIBILITY OF SUCH DAMAGES. Further, in no event shall the liability of Horizon exceed the individual price of the Product on which liability is asserted. As Horizon has no control over use, setup, final assembly, modification or misuse, no liability shall be assumed nor accepted for any resulting damage or injury. By the act of use, setup or assembly, the user accepts all resulting liability. If you as the purchaser or user are not prepared to accept the liability associated with the use of the Product, purchaser is advised to return the Product immediately in new and unused condition to the place of purchase.
Law
These terms are governed by Illinois law (without regard to conflict of law principals). This warranty gives you specific legal rights, and you may also have other rights which vary from state to state. Horizon reserves the right to change or modify this warranty at any time without notice.
WARRANTY SERVICES
Questions, Assistance, and Services
Your local hobby store and/or place of purchase cannot provide warranty support or service. Once assembly, setup or use of the Product has been started, you must contact your local distributor or Horizon directly. This will enable Horizon to better answer your questions and service you in the event that you may need any assistance.
Inspection or Services
If this Product needs to be inspected or serviced and is compliant in the country you live and use the Product in, please use the Horizon Online Service Request submission process found on our website or call Horizon to obtain a Return Merchandise Authorization (RMA) number. Pack the Product securely using a shipping carton. Please note that original boxes may be included, but are not designed to withstand the rigors of shipping without additional protection. Ship via a carrier that provides tracking and insurance for lost or damaged parcels, as Horizon is not responsible for merchandise until it arrives and is accepted at our facility. An Online Service Request
is available at http://www.horizonhobby.com/content/service-center_render servicecenter. If you do not have internet access, please contact Horizon Product Support to obtain a RMA number along with instructions for submitting your product for service. When calling Horizon, you will be asked to provide your complete name, street address, email address and phone number where you can be reached during business hours. When sending product into Horizon, please include your RMA number, a list of the included items, and a brief summary of the problem. A copy of your original sales receipt must be included for warranty consideration. Be sure your name, address, and RMA number are clearly written on the outside of the shipping carton.
Contact Information
| Country of Purchase | Horizon Hobby | Contact Information | Address |
United States of America | Horizon Service Center (Repairs and Repair Requests) | servicecenter.horizonhobby.com/RequestForm/ | 2904 Research RdChampaign, Illinois, 61822 USA |
| Horizon Product Support (Product Technical Assistance) | [email protected] | ||
| 877-504-0233 | |||
| Sales | [email protected] | ||
| 800-338-4639 | |||
| European Union | Horizon Technischer Service | [email protected] | Hanskampring 9D 22885 Barsbüttel, Germany |
| Sales: Horizon Hobby GmbH | +49 (0) 4121 2655 100 |
FCC Information
FCC ID: BRWTIARLGTNG1
This equipment complies with FCC and IC radiation exposure limits set forth for an uncontrolled environment. This equipment should be installed and operated with minimum distance 20cm between the radiator and/or antenna and your body (excluding fingers, hands, wrists, ankles and feet). This transmitter must not be colocated or operating in conjunction with any other antenna or transmitter.
Supplier’s Declaration of Conformity Twin Timber 1.6m BNF Basic (EFL23850)
This device complies with part 15 of the FCC Rules. Operation is subject to the following two conditions: (1) This device may not cause harmful interference, and (2) this device must accept any interference received, including interference that may cause undesired operation.
CAUTION: Changes or modifications not expressly approved by the party responsible for compliance could void the user’s authority to operate the equipment.
NOTE: This equipment has been tested and found to comply with the limits for a Class B digital device, pursuant to part 15 of the FCC Rules. These limits are designed to provide reasonable protection against harmful interference in a residential installation. This equipment generates, uses and can radiate radio frequency energy and, if not installed and used in accordance with the instructions, may cause harmful interference to radio communications. However, there is no guarantee that interference will not occur in a particular installation. If this equipment does cause harmful interference to radio or television reception, which can be determined by turning the equipment off and on, the user is encouraged to try to correct the interference by one or more of the following measures:
- Reorient or relocate the receiving antenna.
- Increase the separation between the equipment and receiver.
- Connect the equipment into an outlet on a circuit different from that to which the receiver is connected.
- Consult the dealer or an experienced radio/TV technician for help
IC Information
IC: 6157A-TIARLGTNG1
CAN ICES-3 (B)/NMB-3(B)
This device contains license-exempt transmitter(s)/receivers(s) that comply with Innovation, Science, and Economic Development Canada’s license-exempt RSS(s). Operation is subject to the following 2 conditions:
- This device may not cause interference.
- This device must accept any interference, including interference that may cause undesired operation of the device.
Compliance Information for the European Union
EU Compliance Statement:
Twin Timber 1.6m BNF Basic (EFL23850); Hereby, Horizon Hobby,
LLC declares that the device is in compliance with the following: EU Radio Equipment Directive 2014/53/EU; RoHS 2 Directive 2011/65/EU; RoHS 3 Directive – Amending 2011/65/EU Annex II 2015/863. Twin Timber 1.6m PNP (EFL23875); Hereby, Horizon Hobby, LLC declares that te device is in compliance with the following: EU EMC Directive 2014/30/EU; RoHS 2 Directive 2011/65/EU; RoHS 3 Directive – Amending 2011/65/EU Annex II 2015/863
WEEE NOTICE:
This appliance is labeled in accordance with European Directive 2012/19/EU concerning waste of electrical and electronic equipment (WEEE). This label indicates that this product should not be disposed of with household waste. It should be deposited at an appropriate facility to enable recovery and recycling.
© 2023 Horizon Hobby, LLC.
E-flite, Avian, DSM, DSM2, DSMX, Bind-N-Fly, BNF, the BNF logo, Plug-N-Play, AS3X, SAFE, the SAFE logo, ModelMatch, IC3, EC3, and the
Horizon Hobby logo are trademarks or registered trademarks of Horizon Hobby, LLC.
The Spektrum trademark is used with permission of Bachmann Industries, Inc.
All other trademarks, service marks and logos are property of their respective owners.
US 8,672,726. US 9,056,667. US 9,753,457. US 9,930,567. US 10,078,329. US 10,419,970. US 10,849,013. Other patents pending.
https://www.horizonhobby.com/content/e-flite-rc
References
RC Airplanes and Helicopters, RC Cars and Trucks, RC Boats, RC Radios | Horizon Hobby
Horizon Hobby Service Center
Spektrum RC Transmitters and RC Electronics | Spektrum
RC Cars, RC Trucks, RC Airplanes, Model Trains, and Slot Cars at Tower Hobbies
RC Airplanes and Helicopters, RC Cars and Trucks, RC Boats, RC Radios | Horizon Hobby
RC Airplanes and Helicopters, RC Cars and Trucks, RC Boats, RC Radios | Horizon Hobby
RC Airplanes and Helicopters, RC Cars and Trucks, RC Boats, RC Radios | Horizon Hobby
Spektrum RC Transmitters and RC Electronics | Spektrum
E-Flite | Horizon Hobby RC Airplanes and RC Airplane Accessories
Horizon Hobby Compliance Information


























































