
USB
Solar Panel
User Manual
This solar panel is designed to work with USB-powered café lights and pendant lights.
IMPORTANT: BEFORE INSTALLING, READ ALL SAFETY INSTRUCTIONS LISTED AT THE END OF THIS MANUAL.
See reverse for easy-to-follow instructions and exclusive deals.
INSTALLATION
INCLUDED PARTS:
SURFACE MOUNTING:
- Mark the mounting locations of either the short or longarm base using the screw holes as guides.
- Before drilling, check that the marked areas are clear of obstacles such as cables and electrical lines.
- If mounting with screws, drill into wood or other composite materials using a 3/32in. drill bit. Then secure the base in place with screws.
- If mounting with wall anchors drill into masonry or other composite materials using a 7/32in. drill bit. Then insert the wall anchors, and secure the base in place with the screws.
- Align solar panel with the top of mounting arm and adjust the angle for optimum sunlight exposure. Secure to arm with a wing nut.

- Combine stake with the long-arm base.
- Carefully, but firmly, place a stake in the ground.
- Align the solar panel with the top of the mounting arm and adjust the angle for optimum sunlight exposure. Secure to arm with a wing nut.

Note: If the stake requires more than a firm push to be inserted into the ground, please loosen soil or remove obstacles to ensure the stake is not damaged.
ZIP-TIE MOUNTING:
- For mounting to round poles, utilize the rounded top and bottom features of the short-arm base.
- Loop zip ties through screw holes and fasten in place as shown below.

OPERATION
CHARGING THE SOLAR PANEL:
- Ensure your solar panel is placed so that its exposure to the sun is optimized. Be aware of objects such as trees or property overhangs that may impede the panel’s ability to generate a charge.
- A full charge (up to seven hours) offers six hours of operation while your lights are on maximum brightness.
- To adjust the solar panel, loosen the wing nut and position the panel. When the desired position is achieved, tighten wing nut until secure.

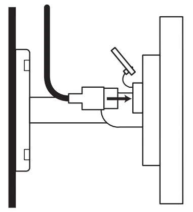
- Once the solar panel has been mounted, remove the USB cover located on the back of the panel, and insert the USB plug from your USB-powered lights.
- Press the POWER button on the back to supply power to the connected USBpowered lights.

TROUBLESHOOTING
| PROBLEM | POSSIBLE CAUSE | SOLUTION |
| SHORT LIGHTING TIME | The panel is not properly exposed to sunlight | When using solar power ensure the solar panel is located in an area where it can receive the maximum amount of full, direct sunlight every day. If the solar light does not receive enough sunlight during the daytime the battery will be recharged on the next sunny day and resume normal operation. Keeping the solar panel clean is equally important to ensure maximum charging performance. |
| Failing battery life | The internal battery is non-serviceable, and the solar panel should be replaced. Contact Jasco Products to get a new solar panel. | |
| Timer setting | Select a longer timer setting using the in-line controller for your USBpowered cafe lights. | |
| NO LIGHTS OR FLICKERING LIGHTS | Poor USB connection | Check the USB plug and socket for dirt or foreign matter, and ensure that the plug is properly inserted. |
| The POWER button hasn’t been pressed | Press the button on the back of the solar panel to ensure that power is being supplied to the café lights and press the POWER button on the café light’s in-line controller. | |
| The solar panel is over-exposed at night | When the light exposure reaches a certain intensity, the product may not automatically light up. The product needs to be installed in a dark place at night. | |
| Insufficient power supply | When using solar power, make sure the product is charged for more than 3 hours under strong sunlight before testing. |
Thank you for your purchase!
| Instructions made easy | Exclusive deals |
![]() | ![]() |
| Read instructions or watch the easy-to-follow video. Scan code or visit byjasco.com/64620i | For deals, to register your purchase and to tell us how we’re doing, simply scan the code or visit byjasco.com/deals |
Like our product? Leave a review on your favorite retailer website or amazon.com
Having problems? Let us know how we can help. Call 1-800-654-8483 between 7 AM-8 PM, M-F, Central Time
Home automation is in your palm with Wi-Fi smart devices and accessories at byjasco.com/ultrapro
WARNING: Read all safety precautions and installation instructions carefully before installing or operating this fixture.
- Do not expose the solar panel to fire or intense heat.
- Do not immerse in water.
BATTERY INSTRUCTIONS:
This product contains a rechargeable lithium battery. The battery is nonserviceable, please contact Jasco Products for a replacement solar power unit.
CARE AND MAINTENANCE:
- The solar panel is not allowed to dip into water or any other liquid. The water-resistant function is limited to correct installation or within a certain angle in rain.
- To optimize the effectiveness of your solar panel, do the following:
Choose a location for your solar panel that gets the most sunlight throughout the year. Wipe the panel every few months to remove dust or debris that might affect the solar energy harvesting efficiency of the panel.
WARNING
RISK OF ELECTRIC SHOCK
- DO NOT SUBMERGE.
- DO NOT USE AROUND AQUARIUMS.
- SOLAR PANEL IS A WET LOCATION PRODUCT AND HAS NO SERVICEABLE PARTS.
- KEEP SOLAR PANEL AT LEAST 16FT. FROM POOLS AND SPAS.
- AVOID DAMAGE TO SOLAR PANELS. INSPECT THE SOLAR PANEL FOR PHYSICAL DAMAGE OR OTHER DAMAGE CAUSED BY OUTDOOR EXPOSURE TO THE ELEMENTS.
- REPLACE THE SOLAR PANEL IS DAMAGED.
- DO NOT INSTALL IN LOCATIONS WHERE SOLAR PANELS CAN BE STEPPED ON.
- CHILDREN SHOULD NOT PLAY WITH SOLAR PANELS.
- ONLY USE SOLAR PANELS WITH USB POWERED CAFÉ LIGHTS.
MADE IN CHINA
Distributed by Jasco Products Company LLC,
10 E. Memorial Rd., Oklahoma City, OK 73114.
This Jasco product comes with a three-year
limited warranty. Visit www.byjasco.com for warranty details.
Questions? Contact our U.S.-based
Consumer Care at 1-800-654-8483 between
64620 v1 05/06/21
7 AM-8 PM, M-F, Central Time.
![]()























