MINRX H10 Electronic Watch

Please read the manual carefully before use and keep it properly for future use
Packing List
- Host machine for the watch x1
- Rubber watchband x1
- Charger x1
- Quick tour x1
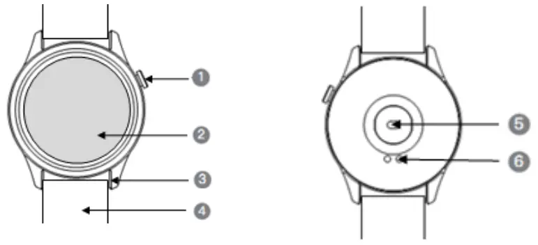
Product Overview

- Power switch
- TFT display
- Watchband card
- Wristband
- Sensor
- Charging port
To make the measurement more accurate, please wear the watch on your wrist away from the carpus. Please attach it to your skin but not too tightly
- Slide downward: call the control center
- Slide upward: call the notification center
- Slide right: call the function menu
- Slide left: call the quick function
- Long press: call the display switch

- Power on: long press for 3s until the display is on.
- Power off: long press for 3s and select [power off].
- Short press to make the screen on/off.

If you fail to start the watch after long pressing the power switch for 3s, please charge the watch and try again.
Connect the mobile phone
Scan the QR code, download and install the App

Download the App: for mobile phone with IOS, search ‘FitCloudPro’ in the App store. For mobile phone with Android, please search ‘FitCloudPro’ in other application stores (such as My app), and then download and install the App; or scan the QR code to download and install the App. Pair and connect with the mobile phone
Pair and connect with the mobile phone

- Please ensure that the battery level is over 20% before pairing, so as to prevent failure in pairing due to insufficient battery level.
- During the pairing and connecting process, please ensure that the blue teeth of your mobile phone is opened and is within the effective connection distance from the watch.
- The device requires Android 5.1 and above, I0S 9.0 and above.
Charging

- Attach the magnetic charging wire to the metal contact of the charging port until the charging indication appears on the watch display.
- The device is an all-in-one machine. The back cover and the battery cannot be disassembled.
- Meanwhile, please pay attention to the following matters:
- Don’t open or bash the back cover.
- Don’t disassemble, replace or open the battery.
- The disposal of the device and battery shall accord with the local environmental protection law.
- An adapter with rated output voltage of 5V=1A/5V=2A shall be used.
- Please keep the charging port clean and dry before charging, so as to prevent corrosion or other risk to the metal contact.
Function Introduction
- Dial switch

- Long press for 2s on the home screen to enter the dial switch interface. Slide right and left to switch the dial for selection, and click to select the dial.
- The first dial in APP dial library can be customized
- Control panel

- Function overview: Do not disturb, setting, search for mobile phones, system information, brightness adjustment.
- Slide downward on the home screen to enter such function.
- Movement data

It displays the step number, distance and calorie on the same day. You can set a goal on the App. - Sport

- Options for sport patterns: walking, running, mountain climbing, cycling, badminton, basketball and round-belly machine;
- Click the icon to start exercising.
- Heart rate

- You can open the regular detection on the App. The interface displays your heart rate on the same day;
- Enter this interface and it will automatically measure your single heart rate.
- Enter this interface and swipe up to display the heart rate data of the day
- Sleep

The interface displays the monitoring result of your sleep on the same day. The data is updated every day. Connect it to the APP and you can upload and save the data synchronously. - Blood pressure

- Enter the interface for blood pressure measurement. When the green light at the bottom is on, it will start measurement.
- The measurement will be completed within 30~60s. The measurement is based on PPG technology.
- Blood oxygen

- Enter the interface for blood oxygen measurement.
- When the green light at the bottom is on, it will start measurement. The measurement will be completed within 30~60s. The measurement is based on PPG technology.
- Music

Bluetooth connection controls the music on the phone. - Weather

After you connect your watch with the APP and open the location permission, the weather interface will display the real-time temperature and weather type. - Stop watch

The interface is stop watch function. You can also set split time. - Information

- Open information push on the App and the watch can receive the corresponding message. It can save up to 15 pieces of messages. If the number exceeds the upper limit, it will automatically cover the oldest one.
- You can slide on the home screen to enter such function.
- Find my phone

- Keep the watch connected to the APP, and click “Find my phone”. The bell rings on your mobile phone and the watch shows that you have successfully found your mobile phone;
- If the watch is not connected to the APP, the watch will indicate that it is not connected.
- Setting

Setting functions include screen display (dial switch, brightness control, duration of screen brightening, duration of screen brightening through palming), vibration strength, language, QR code and system setting. - Notification function
- Drinking reminder

You can open this function through [device>drinking reminder] on the App. After it is opened, you can set the start time, end time and reminder interval. - Sedentary lifestyle reminder

You can open this function through [device>sedentary lifestyle reminder] on the App. After it is opened, you can set the start time, end time and the period for Do Not Disturb. - Alarm clock reminder

You can set and open the alarm clock reminder.
- Drinking reminder
Notes
- Please do not disassemble, repair or retrofit the product without authorization.
- Please do not crash the product with force, or else the product may be damaged.
- Please keep it away from high-intensity magnetic field, direct sun light or high temperature.
- The product shall not be used for diagnosis, treatment and prevention of diseases.
- The waterproofing grade of the product is IP68. Please do not immerse it in water for long time.
- Please do not keep the watchband too tight. Please keep it clean where the watch contacts your skin.
- In order to prevent damage, children should use the product under the guidance of parents.
Performance Parameters
- Product name: Electronic watch
- Model: H10
- Display screen: 1.28TF color screen, 240×240 pixel resolution
- Waterproofing grade: IP68
- Sensor: triaxial G-sensor
- Maximum endurance: 5-7 days
- Operating temperature: -10℃~50℃
- Battery type: polymer lithium battery
- Battery capacity: 200mAh
- Compatible system: Android 5.1 and above, IOS 9.0 and above
Frequently Asked Questions and Trouble Shooting
- Fail to start the watch
- Press the power switch for more than 3s.
- Maybe the battery level is too low. Please charge the battery timely.
- The blue teeth is not connected or cannot be connected
- Please restart the watch and connect again.
- Please restart the mobile phone blue teeth and connect again.
- Do not connect your mobile phone to other blue teeth device at the same time.
- The measurement of heart rate/blood oxygen/ECG is inaccurate
- General, it is caused by poor contact between the watch sensor and human body.
- Please ensure that the sensor contacts the wrist well during measurement.
- Please keep your body still and the watch attached to your wrist tightly during measurement.
- For people who have dark skin color and have thick hair on the arm, please open intensified measurement through [device>intensified measurement] on the App.
- Sleep data is not accurate enough
- Sleep monitoring simulates the status of natural sleep and getting up of human, and you should wear it as usual.
- If you sleep too late or you do not wear the watch until you go to sleep, there may be some error.
- It does not monitor the sleep data during daytime. The default time for sleep monitoring is from 9:30 in the evening to 12:00 at noon on the next day.
- For more frequently asked questions, please view [My>FAQ] on the App.
Why does the bracelet not receive notifications ?
- Android phone :
When the user turns on the notifications switch for the first time , the App will ask for the corresponding permissions . Activate all the permissions needed . - IOS phone :
when the user turns on the call or message notifications switch , the system will automatically pop up the pairing request . The user needs to confirm the pairing






































