BERNSTEIN SHOWER ENCLOSURE EX506

TOOLS REQUIRED

INCLUDED IN THE DELIVERY
NOTE:
Please fix the screws on the surface of the glass manually, not by power drill.
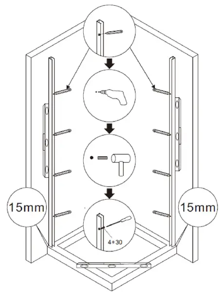
Wall profiles should be arranged 15 mm to the external border of the shower tray, or according to the approximate value of the segment A (see image below)
WARNING
Please carefully consider that some of our shower enclosures are reversible.
In these cases no label will show the internal and external parts.
ASSEMBLY:
Arrange the profiles (see image). Mark holes position by means of a sprit level and a pencil.
Drill the holes and fix the profiles by means of the wall plugs. Please use wall plugs compatible with your wall.

Secure the aluminium profile to the rail with some screws 4*30. (As showed in the image)
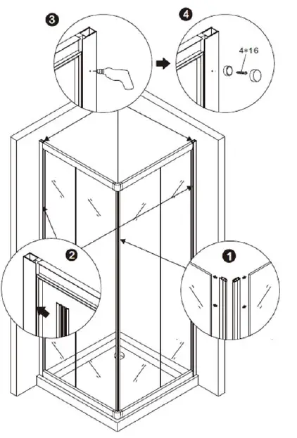
Insert the glass elements in the aluminium rail. (See image below)
Make sure to place the glass in the wall profile and, only later, place the joints between the glass and the profile, sliding them from the upper to the downer side.
Insert the corner in the wall profile (See image)
Connect the two elements by means of the plastic supports. (See image below)
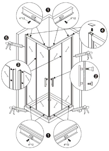
Install the wheels with the button downside and without button upside.
NOTE:
The upside wheels are adjustable. They can be adjusted by means of a hex screwdriver if they were not sliding correctly.
Place the door on the aluminium rail.
- Fix the magnetic joints to the door
- Place the joints between the door and the aluminium profile
- Drill the holes and connect the glass segment to the wall profile, by means of the screws 4×16
- Place the cover on the screws

- Fix the wheels block on the rail
- Screw the door handle
- Install the joints to the fixed panel and the door
- Put the protection cover on the aluminium profile.
- Apply silicone sealant























