IKEA 904.316.32 FRIHULT Wall Lamp 
Instructions

Overview
Guidelines

IMPORTANT
Always shut off power to the circuit before starting installation work. In some countries, electrical installation work may only be carried out by an authorized electrical contractor. Contact your local electricity authority for advice.

INSTALLATION IN BATHROOMS
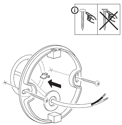
The installation shall be carried out by an authorized electrical contractor. The luminaire must be permanently installed in the electric system and placed in the correct zone. Different materials require different types of fittings. Always choose screws and plugs that are especially suited to the material.






























