BRAYER BR1103 Coffee Maker
OVERVIEW
SAFETY MEASURES AND COFFEE MAKER OPERATION RECOMMENDATIONS
- Use the coffee maker for its intended purpose only, as specified in this manual.
- Mishandling the coffee maker can lead to its breakage and cause harm to the user or damage to his/her property and it is not covered by warranty.
- The coffee maker is intended for making espresso and cappuccino coffee and warming up ready drinks. Do not warm any other liquids.
- Make sure that the operating voltage of the coffee maker indicated on the label corresponds to your home mains voltage.
- The power plug is equipped with a grounding contact, plug it into the socket with reliable grounding contact. In case of short circuit the grounding reduces the risk of electric shock.
- Contact an electrical technician, if you are not
sure that your sockets are installed properly and grounded. - To prevent fire do not use adapters designed for connecting the power plug to the mains socket without grounding contact.
- In case of sparking in the mains socket and occurrence of smell of burning, unplug the unit and apply to the organization maintaining your home mains.
- If smoke appears from the unit body, unplug the unit and take measures to prevent fire spreading. Apply to the service center for repairing the coffee maker.
- Always drain the remaining water from the water tank. Do not store the coffee maker with the filled water tank at temperature below 0°C.
- Do not use the coffee maker outdoors.
- It is not recommended to use the unit during lightning storms.
- Protect the unit from impacts, falling, vibrations and other mechanical stress.
- Never leave the plugged-in coffee maker unattended.
- To avoid fire, electric shock or physical injuries, do not immerse the power plug, the power cord or the coffee maker body into water or any other liquids.
- Do not use the coffee maker in proximity to the kitchen sink, in bathrooms, near swimming pools or other containers filled with water.
- If the unit is dropped into water, unplug it immediately, and only then you can take the unit out of water.
- Do not use the coffee maker near heating appliances, heat sources or open flame.
- Do not use the unit in places where aerosols are used or sprayed, and in proximity to inflammable liquids.
- Place the coffee maker on a flat stable surface; do not place it on the edge of a table. Do not let the power cord hang from the edge of the table and make sure it does not touch hot surfaces or sharp edges of furniture.
- Do not place the coffee maker on hot surfaces.
- Do not touch the power cord and the power plug with wet hands.
- Use only the coffee maker parts and accessories supplied with the unit.
- Before switching the coffee maker on, make sure that all removable parts are installed properly.
Do not switch the coffee maker on if the water tank is empty. - Handle the glass coffee flask with care to avoid damaging it!
- Do not use the flask for other purposes, do not place it on electric and gas cookers and do not use the flask in microwave ovens.
- Use the coffee maker only with the coffee flask installed.
- Do not remove the flask during coffee making.
- Avoid sharp temperature difference. Otherwise the glass flask may crack.
- Do not put a hot glass flask on a cold surface.
- Do not use the coffee maker if the glass flask is damaged.
- To avoid burns, do not touch hot surfaces of the coffee maker during coffee making and right after switching it off. Let the coffee maker cool down.
- Let the unit cool down completely before cleaning and removing the accessories.
- Unplug the coffee maker before cleaning or when you are not using it. When unplugging the coffee maker hold only the power cord plug and carefully remove it from the mains socket, do not pull the power cord — this can lead to damage of the power cord or the socket or cause short circuit.
- For children safety reasons do not leave polyethylene bags, used as a packaging, unattended.
- The coffee maker is not intended for usage by children.
- Do not leave children unattended to prevent using the unit as a toy.
- Do not allow children to touch the unit and the power cord during the coffee maker operation.
- Place the unit out of reach of children during the operation and cooling down.
- This unit is not intended for usage by physically or mentally disabled persons (including children) or by persons lacking experience or knowledge if they are not under supervision of a person who is responsible for their safety or if they are not instructed by this person on the usage of the unit.
- From time to time check the power cord and the power plug integrity.
- If the power cord is damaged, it should be replaced by the manufacturer, a maintenance service or similar qualified personnel to avoid danger.
- Do not repair the unit by yourself. Do not disassemble the unit by yourself, if any malfunction is detected, and after it was dropped, unplug the unit and apply to the service center.
- Transport the coffee maker in the original package.
- Keep the unit out of reach of children and disabled persons.
COFFEE MAKER IS INTENDED FOR HOUSEHOLD USE ONLY, DO NOT USE THE COFFEE MAKER FOR COMMERCIAL OR LABORATORY PURPOSES.
BEFORE USING THE COFFEE MAKER
After unit transportation or storage at low temperature, it is necessary to keep it for at least three hours at room temperature.
- Unpack the coffee maker and remove all the packaging materials.
- Keep the original package.
- Read the safety measures and operating recommendations.
- Check the delivery set.
- Examine the coffee maker for damages, in case of damage do not plug it into the mains.
- Make sure that the specifications of power supply voltage specified on the lower panel of the unit correspond to the specifications of your mains.
- Wipe the surface of the coffee maker body with a clean, slightly damp cloth to remove dust.
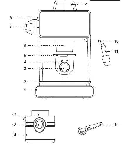
- Wash all removable parts in warm water with a neutral detergent: the flask lid (12), the coffee flask (14), the filter holder (5), the filter (6), the grid (2) and the tray (1), rinse them and dry.
- Install the tray (1) and the grid (2) back to their places.
- Make sure that the power plug is not inserted into the mains socket, and the operation mode switch (7) is set to the position « ».
- Remove the water tank lid (9) turning it counterclockwise and fill the water tank, using the flask (14). Do not exceed the maximal capacity of the water tank.
• Install the lid (9) back to its place and thread it rotating clockwise. - Put the filter (6) into the holder (5), do not add ground coffee into the filter (6).
- Set the filter holder (5) to the position « », the filter holder (5) ledges should match the grooves in the boiler. Turn the filter holder (5) counterclockwise to the position « » (pic. 1).
- Place the flask (14) on the grid (2).
- Insert the power plug into the mains socket.
- Set the operation mode switch (7) to the position « », the light indicator (8) will light up, the heating
brew
element will switch on and water will start pouring into the flask (14) under pressure. - After water pouring set the operation mode switch (7) to the position « », and the indicator (8) will go out.
- Pour the water out of the flask (14).
- If necessary, repeat the washing cycle of the coffee maker 2-3 times.
- To wash the cappuccinator pipe (10), remove the water tank lid (9) by turning it counterclockwise
and pour some water into the tank using the flask
(14). Install the lid (9) back to its place and thread it rotating clockwise until fixed. - Put the filter (6) into the holder (5), do not add ground coffee into the filter (6).
Set the filter holder (5) to the position « », turn the filter holder (5) counterclockwise to the position « - Place the flask (14) under the cappuccinator pipe
(10) tip (11). - Insert the power plug into the mains socket.
- Set the operation mode switch (7) to the position « , the light indicator (8) will light up, the heating element will switch on and steam under pressure will be released into the flask (14).
- After steam release set the operation mode switch
(7) to the position « » to switch the coffee maker off, and the indicator (8) will go out. - The coffee maker is ready for usage.
MAKING ESPRESSO
- Use ground coffee for espresso coffee makers or freshly ground coffee beans.
- Slightly tamp the ground coffee in the filter (6) with the back side of the measuring spoon (15).
- The taste of ready coffee depends on the quality and grinding degree of coffee beans. If coffee is pouring out too long, this means the coffee powder is too fine or it is tamped too strongly.
ATTENTION!
- Do not remove the filter holder (5) during coffee maker operation.
- When making coffee do not leave the operating coffee maker unattended, as it is necessary to watch the flask (14) being filled with ready coffee!
- Make sure that the power plug is not inserted into the mains socket, and the operation mode switch (7) is set to the position « ».
- Remove the water tank lid (9) turning it counterclockwise and fill the water tank, using the flask (14). Do not exceed the maximal capacity of the water tank.
- Install the lid (9) back to its place and thread it rotating clockwise.
- Put the filter (6) into the holder (5), add ground coffee
- Set the filter holder (5) to the position « », the filter holder (5) ledges should match the grooves in the boiler. Turn the filter holder (5) counterclockwise to the position « » (pic. 1).
- Place the flask (14) on the grid (2).
- Insert the power plug into the mains socket.
- Set the operation mode switch (7) to the position « », the light indicator (8) will light up, the heating brew
element will switch on and the ready coffee will start pouring into the flask (14). - After making coffee set the operation mode switch (7) to the position « » to switch the coffee maker off, and the indicator (8) will go out.
- Pour the ready coffee into cups.
- Remove the filter holder (5) by turning it clockwise, wash the filter (6). Use the filter retainer (4) to avoid the filter (6) dropping.
- Control the tray (1) filling, when the tray (1) is full, remove the grid (2) and the tray (1), pour the liquid out of the tray (1). Wash the tray (1) and the grid (2), dry them and install the tray (1) and the grid (2) back to their places.
MAKING CAPPUCCINO
- Make coffee, as described in the chapter «MAKING ESPRESSO», pour coffee in the cup with enough capacity to add frothed milk.
- Milk for making foam must be cold, fresh and without additives. Use whole milk with fat content from 4% to 6%, the cream fat content should be not less than 10%.
- Set the operation mode switch (7) to the position « » to switch the coffee maker off and release the pressure, then unplug the unit.
- Remove the water tank lid (9) turning it counterclockwise and pour some water into the tank using the flask (14). Install the lid (9) back to its place and thread it rotating clockwise.
- Place a cup with cold milk or cream under the tip
(11). - Switch the coffee maker on by setting the operation mode switch (7) to the position «steam», the indicator (8) will light up, the heating element will switch on and the steam under pressure will be released from the tip (11).
- Put the tip (11) into the cup with cold milk or cream.
- The tip (11) should not touch the bottom of the cup, as this can prevent the steam release.
- The outgoing steam creates whirls which froth milk; from time to time lift and lower the cup with milk or cream against the tip (11) to make the milk foam.
- If you cannot make frothed milk, don’t worry and experiment until you achieve good results. Try making frothed milk with the removed tip (11).
- Set the operation mode switch (7) to the position «
» to switch the coffee maker off and to release the - Add frothed milk to the ready espresso, add sugar to taste. You can decorate the frothed milk with cocoa powder.
- After frothing the milk clean the cappuccinator pipe
(10) and wash the tip (11). - Remove the tip (11), wash it under a warm water jet, then dry it.
- Immerse the cappuccinator pipe (10) into a container with water, switch the steam supply on by setting the operation mode switch (7) to the position «steam». In
10- 15 seconds set the operation mode switch (7) to the position « » to switch the coffee maker off.
DESCALING
For effective operation of the coffee maker it is necessary to clean (descale) the coffee maker from mineral deposits every 2-3 months.
- Make sure that the power plug is not inserted into the mains socket, and the operation mode switch
(7) is set to the position « ». - Remove the water tank lid (9) turning it counterclockwise and pour the descaling agent into the water tank, using the flask (14). Do not exceed the maximal capacity of the water tank.
- Install the lid (9) back to its place and thread it rotating clockwise.
- Put the filter (6) into the holder (5), do not add ground coffee into the filter (6).
- Set the filter holder (5) to the position « », the filter holder (5) ledges should match the grooves in the boiler. Turn the filter holder (5) counterclockwise to the position « » (pic. 1).
- Place the flask (14) on the grid (2).
- Insert the power plug into the mains socket.
- Set the operation mode switch (7) to the position « », the light indicator (8) will light up, the heating brew
element will switch on and water will start pouring into the flask (14) under pressure. - In 10-15 seconds set the operation mode switch
(7) to the position « », and the indicator (8) will go out. - Place the flask (14) under the tip (11) and set the operation mode switch (7) to the position «steam», in 5 seconds set the operation mode switch (7) to the position « ».
- Set the flask (14) on the grid (2), wait for 10-15 minutes and switch the water supply on by setting the switch (7) to the position « brew », wait until the cleaning agent release stops completely.
- Set the operation mode switch (7) to the position «
» to switch the coffee maker off and to release the pressure. Unplug the unit, unscrew the lid (9) and fill the tank with clean water. Insert the power plug into the mains socket. - Set the flask (14) under the tip (11) and switch the steam supply on «steam», in 15 seconds switch the steam supply off and place the flask (14) on the grid (2). Switch the water supply on and wait until the water release stops completely.
- 14. Set the operation mode switch (7) to the position « » to switch the coffee maker off and to release the pressure.
- If necessary, repeat the washing of the coffee maker
CLEANING AND CARE
- Always switch the coffee maker off and unplug it before cleaning.
- Let the coffee maker cool down completely and clean the outer surfaces of the unit body with a soft, slightly damp cloth, then wipe dry.
- Use soft detergents to remove dirt; do not use metal brushes, abrasive detergents and solvents.
- Remove the water tank lid (9) by turning it counterclockwise, turn the coffee maker upside down and drain the remaining water from the water tank, screw the lid (9).
- If the filter (6) openings are blocked with the ground coffee, clean them with a small brush.
- Remove the grid (2) and the tray (1), pour the water out, wash the tray (1) and the grid (2), rinse them and dry. Install the tray (1) and the grid (2) back to their places.
- Wash the removable parts (5, 6, 12, 14) with warm water and a neutral detergent, then rinse and dry, insert the filter (5) into the holder (6), install the filter holder (5) back to its place, turn the funnel to the operating position « » (pic. 1).
- Do not immerse the coffee maker, the power cord and the power plug into water or any other liquids.
STORAGE
- Before taking the coffee maker away for long storage, unplug it and let it cool down completely.
- Clean the coffee maker.
- Always drain the remaining water from the water tank. Do not store the coffee maker with the filled water tank at temperature below 0°C.
- Keep the coffee maker in a dry cool place out of reach of children and disabled persons.
Troubles and troubleshooting
| Malfunction | Cause | Solution |
| The coffee maker can’t be switched on | The power plug is not connected to the mains, the malfunction of the mains socket | Insert the power plug into the mains socket. Make sure that the mains socket is working properly by connecting another known good electric appliance to it. |
| If the coffee maker does not switch on, contact the service center | ||
| Coffee leakage from the flask | The flask is installed improperly | Make sure that the flask is set properly on the removable tray grid |
| Water is leaking | The tray is full | Remove the tray and |
| from the bottom part | pour out the liquid | |
| of the coffee maker | ||
| body | The coffee maker is | Apply to the service |
| malfunctioning | center for testing or | |
| repairing the coffee | ||
| maker | ||
| Water is leaking from the outer side of the filter holder | Ground coffee on the edges of the coffee filter | Make sure that there is no ground coffee on the edges of the coffee filter |
| Ready coffee has some foreign taste | There is some cleaning detergent left after descaling | Wash the coffee maker with clean water several times |
| Used ground coffee is of low quality | Use freshly ground coffee beans. | |
| Keep ground coffee in a hermetic container in a dry cool place | ||
| Milk or cream does | The container for | Use a high and narrow |
| not foam | milk or cream is | container for milk or |
| too large or does | cream | |
| not have a suitable | ||
| shape | ||
| You have used non- | Milk or cream used for | |
| fat or warm milk | making foam should be | |
| cold, fresh and without | ||
| additives. Use whole | ||
| milk with fat content from | ||
| 4% to 6%, the cream fat | ||
| content should be not | ||
| less than 10% |
DELIVERY SET
- Coffee maker — 1 pc.
- Filter holder – 1 pc.
- Coffee filter – 1 pc.
- Flask – 1 pc.
- Measuring spoon – 1 pc.
- Instruction manual — 1 pc.
TECHNICAL SPECIFICATIONS
- Power supply: 220-240 V, ~ 50 Hz
- Rated input power: 800-950 W
- Water tank capacity: 0,24 l
RECYCLING
For environment protection apply to the specialized centers for further recycling after the service life expiration of the unit. The waste generated during the disposal of the unit is subject to mandatory collection and consequent disposal in the prescribed manner. For further information about recycling of this product apply to a local municipal administration, a disposal service or to the shop where you purchased this product. The manufacturer reserves the right to change the design, structure and specifications not affecting general principles of the unit operation, without prior notice.
The unit operating life is 3 years The manufacturing date is specified in the serial number. In case of any malfunctions promptly apply to the authorized service center.





















