
STEERING SYSTEMS STEERING ACCESSORIES
INSTALLER: THESE INSTRUCTIONS CONTAIN IMPORTANT SAFETY INFORMATION
AND MUST BE FORWARDED TO MARINE CRAFT OWNER.
XPA1012B, XPA1012P EN
XPA Xtreme Electronic Power Assist
XPA1012B Xtreme Power Assist with 12 Ft harness
Service Center & Dealer Locations
Visit: www.dometic.com
Please read these instructions carefully and follow all instructions, guidelines, and warnings included in this product manual in order to ensure that you install, use, and maintain the product properly at all times. These instructions MUST stay with this product.
By using the product, you hereby confirm that you have read all instructions, guidelines, and warnings carefully and that you understand and agree to abide by the terms and conditions as set forth herein. You agree to use this product only for the intended purpose and application and in accordance with the instructions, guidelines, and warnings as set forth in this product manual as well as in accordance with all applicable laws and regulations. A failure to read and follow the instructions and warnings set forth herein may result in an injury to yourself and others, damage to your product, or damage to other property in the vicinity. This product manual, including the instructions, guidelines, and warnings, and related documentation, may be subject to changes and updates. For up-todate product information, please visit www.dometic.com.
Explanation of Symbols and Safety Instructions
This manual has safety information and instructions to help you eliminate or reduce the risk of accidents and injuries.
Recognize Safety Information
This is the safety alert symbol. It is used to alert you to potential physical injury hazards. Obey all safety messages that follow this symbol to avoid possible injury or death.
Understand Signal Words
A signal word will identify safety messages and property damage messages, and also will indicate the degree or level of hazard seriousness.
WARNING Indicates a hazardous situation that, if not avoided, could result in death or serious injury.
NOTICE: Used to address practices not related to physical injury.
Indicates additional information that is not related to physical injury.
Supplemental Directives
To reduce the risk of accidents and injuries, please observe the following directives before proceeding to install this device:
- Read and follow all safety information and instructions.
- Read and understand these instructions before installing this product.
- The installation must comply with all applicable local or national codes, including the latest edition of the following standards:
U.S.A.
- ANSI/NFPA70, National Electrical Code (NEC)
- American Boat and Yacht Council (ABYC)
General Safety Messages
WARNING: ELECTRICAL SHOCK, FIRE, AND/ OR EXPLOSION HAZARD. Failure to obey the following warnings could result in death or serious injury:
- Use care when diagnosing and/or adjusting components on a powered unit.
- Use only Dometic replacement parts and components that are specifically approved for use with the appliance.
- All steering components including the XPA must be compatible with, and rated for, the engine installed on the boat.
- The use of a transom saver device is strongly recommended with the XPA when trailering your boat.
- Avoid improper installation, adjustment, alterations, service, or maintenance of the appliance. Service and maintenance must be done by a qualified service person only.
- Do not modify this product in any way. Modification can be extremely hazardous.
Intended Use
The XPA Xtreme Power Assist steering system (hereinafter called XPA) is designed to help reduce the effort required to steer single outboard powered boats.
The power assist is only suitable for outboard powered boats up to a maximum of 200 hp and only those with starboard cable routing.
Model XPA1012B is intended for OEM boat builders. Model XPA1012P is intended for aftermarket customers. The XPA is only suitable for the intended purpose and application in accordance with these instructions.
This manual provides information that is necessary for proper installation of the XPA. Poor installation and/or improper operating or maintenance will result in unsatisfactory performance and a possible failure. The manufacturer accepts no liability for any injury or damage to the product resulting from:
- Incorrect assembly or connection, including excess voltage
- Incorrect maintenance or use of spare parts other than original spare parts provided by the manufacturer
- Alterations to the product without express permission from the manufacturer
- Use for purposes other than those described in this manual
Dometic reserves the right to change product appearance and product specifications.
General Information
NOTICE: To avoid excessive steering loads, and to get the best steering performance, the outboard motor, tilt position, or trim tabs must be adjusted as instructed in the motor manufacturer’s operation manual.
Where BRP is noted in this manual, it includes BRP, Evinrude, and Johnson outboard engines.
A four-bolt hole mounting pattern is required on the outboard engine.
The XPA is designed to accept all single cable Dometic rotary or rack and pinion steering cables.
This section provides general information, recommended tools, and the XPA dimensions and clearances required for installation.
The images used in this document are for reference purposes only. Components and component locations may vary according to specific product models. Measurements may vary ±0.38 in. (10 mm).
Tools and Materials
Dometic recommends that the following tools be used while installing the XPA.
Recommended Tools
| 1-1/4” in. Open or Adjustable Wrench | 1-1/8 in. Open or Adjustable Wrench |
| Drill | 11/16 in. drill bit |
| Heat Gun | Torque Wrench |
| 7/16 in. Socket | Wire Stripper |
| 1/2 in. Socket | Wire Crimping Tool |
| 9/16 in. Socket |
| Optional Parts | Part Number 1 |
| Body Spacer Plate Kit for BRP Engines | SA27715P |
| XPA Fuse Holder Kit | SA7698144P |
1 These parts are not included.
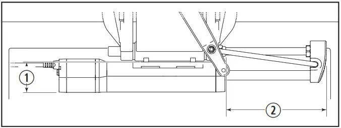
XPA Dimensions and Clearances

1 XPA Length at Full Extension
- 12.0 in. (30 cm)
- Shown with a 33.0 in. (84 cm) Width Transom
- 16.5 in. (42 cm) at Full Extension

2 XPA Clearances
- 3.3 in. (8 cm) from the Engine Mounting Point to the Front of the Actuator
- Tilt Tube to the End of the XPA = Dimension X
Installation Requirements
This section provides information relevant to installing the XPA based on the engine model. The table continues on the next page.
| Manufacturer | Year | Model | Cable Adapter | Split Plastic Cable Spacer | Body Spacer Shims | Bracket Fasteners | Dimension X | Retraction Spacers | Clevis Sleeve |
| Evinrude/BRP | – | E75 (DPL, DPX, DSL) | Required | – | Body Spacer Kit 1 | 1/4-20 1/2 in. x 4 | 9.6 in. (24 cm) | 0 | Green |
| – | E90 (DPL,DPX,DSL) | ||||||||
| – | E115 (DBX, DCX, DHL, DPL, DHX, DPX,DSL, HSL) | ||||||||
| – | E130 (DCX, DPL, DPX, DSL) | ||||||||
| – | DE150/E150 (DCX, DPX, DBX, DCX, DHL, DPL, DPX, DSL, HSL) | ||||||||
| – | E175 (DCX, DPL, DPX, DSL) | ||||||||
| – | DE200/E200 (2.6L – CX, PX, DCX, DPX, DSL) | ||||||||
| Honda | 2015 – Current | BF100 | Required | – | None | 1/4-28 3/4 in. x 4 | 10.2 in. (26 cm) | 2 | Green |
| 2004 – Current | BF150 | – | None | 1/4-28 3/4 in. x 4 | 10.2 in. (26 cm) | 2 | Black | ||
| BF135 | |||||||||
| 2002 – Current | BF200 | ||||||||
| 1999 – Current | BF115 | ||||||||
| 1995 – Current | BF90 | Required | – | None | 1/4-28 3/4 in. x 4 | 10.2 in. (26 cm) | 2 | Green | |
| BF75 | |||||||||
| Mercury | 2014 – Current | 75/90/115 Four Stroke | Required | Required | Thick x 4 | 1/4-28 7/8 in. x 4 | 10.2 in. (26 cm) | 0 | Green |
| 2015 – Current | 70/90/115 SeaPro | ||||||||
| 2016 – Current | 115 ProXS | ||||||||
| 2015 – Current | 135/150 SeaPro | Required | Required | Thick x 4 | 1/4-28 7/8 in. x 4 | 10.6 in. (27 cm) | 0 | Green | |
| 150 ProXS | |||||||||
| 2011 – Current | 135/150 Four Stroke | ||||||||
| 2018 – Current | 175/200/225 Four Stroke | Required | Required | Thick x 4 | 1/4-28 7/8 in. x 4 | 10.2 in. (26 cm) | 0 | Green | |
| 175 ProXS | |||||||||
| 200 SeaPro | |||||||||
| Suzuki | 2019 – Current | DF150A | – | Required | Thin x 2 | 1/4-28 7/8 in. x 4 | 10.2 in. (26 cm) | 1 | Black |
| DF175A | |||||||||
| 2015 – Current | DF200A | ||||||||
| 2013 – Current | DF100A | ||||||||
| DF115A | |||||||||
| DF140A | |||||||||
| 2009 – Current | DF70A | ||||||||
| DF80A | |||||||||
| DF90A | |||||||||
| Yamaha | 2020 – Current | F75F | Required | – | Thin x 2 | M6 x 1 mm 20 mm x 4 | 10.2 in. (26 cm) | 0 | Green |
| 2016 – Current | F90C/D | ||||||||
| F100F/G | |||||||||
| 2015 – Current | F130A | ||||||||
| 2014 – Current | F115B | ||||||||
| F150A/B | – | – | Thick x 4 | M6 x 1 mm 20 mm x 4 | 10.0 in (25 cm) | 0 | Black | ||
| F185A | |||||||||
| 2013 – Current | F150C/D/F | ||||||||
| F165A | |||||||||
| F175A/B | |||||||||
| 2012 – Current | F200F/G | ||||||||
| 2007 – 2019 | F75C | – | – | Thin x 2 | M6 x 1 mm 20 mm x 4 | 10.2 in. (26 cm) | 0 | Black | |
| 2004 – 2017 | F75B | – | – | Thick x 4 | M6 x 1 mm 25 mm x 4 | 10.2 in. (26 cm) | 0 | Black | |
| 2004 – 2018 | F80B | ||||||||
| 2004 – 2019 | F90B | ||||||||
| 2004 – 2019 | F100D | ||||||||
| 2001 – Current | F100B | – | – | Thin x 2 | M6 x 1 mm 20 mm x 4 | 10.2 in. (26 cm) | 0 | Black | |
| 1999 – 2017 | F115A | ||||||||
1 See “Optional Parts” on page 4. Torx head screws are included in the kit.
Preinstallation
This section describes how to prepare for installation and verify that there is sufficient clearance in the splashwell for the XPA to operate.
- Determine the engine model, year, and which parts are required for the installation. See “Installation Requirements” on page 5. Record the information below.
| Engine Model | ||
| Year | ||
| Dimension X | ||
| Cable Adapter | Ye s | No |
| Split Plastic Cable Spacer | Ye s | No |
| Mounting Bracket Shims (Type and Quantity) or Body Spacer Plate Kit for BRP Engines | Thick (black) | Thin (gray) |
| Mounting Bracket Fasteners (Size and Quantity) | ||
| Torque | ||
| Retraction Spacers (Quantity) | ||
| Clevis Sleeve | Black | Green |
2. Pull the parts from the multi-engine hardware bag included with the XPA.
3. Verify that there is adequate space in the splashwell to install and operate the XPA. See “XPA Dimensions and Clearances” on page 4.
- Determine the correct distance between the tilt tube and the end of the XPA (dimension X). See “Installation Requirements” on page 5.
- Verify that there is sufficient clearance to ensure that there is no interference throughout the full steering and tilt range.
Installation
WARNING: ELECTRICAL SHOCK, AND/OR LOSS OF STEERING CONTROL HAZARD. Failure to obey the following warnings could result in death or serious injury:
- Turn off all power to the boat before installing the XPA.
- When replacing an existing steering system, it is recommended that you stay with the same style (rack or rotary) the boat manufacturer installed.
- Never change your steering from a dual cable to a single cable system, as this could cause an unsafe boating condition.
- Helms and cable assemblies are supplied lubricated for installation, do not add any lubricant to either assembly. Use of other lubricants can cause damage
to the steering cable, resulting in the cable seizing or premature wear. Keep the cable and drive assembly clean during installation. Dirt will damage the system and cause premature wear. Do not take the plastic sleeve off the end of the cable until you are ready to install it into the helm. This warning does not include the steering cable ram. - Do not use a wheel-mounted trim switch with a coiled cord. The cord can wrap around the steering wheel shaft and inhibit steering.
This section describes how to prepare the steering assembly and install the XPA on the engine.
Preparing the Steering Assembly
WARNING: IMPACT AND/OR PINCH HAZARD.
When the link arm of the engine is detached, the engine can swing freely. Use caution when detaching the link arm and anytime the link arm is not connected. Failure to obey this warning could result in death or serious injury.
- Tilt the engine down.
- Disconnect the boat battery, or turn off the boat’s battery switch.
- Remove the engine link arm from the steering cable.
- Remove the steering cable from the engine tilt tube.
- Check the steering cable for stiffness, cracks, or other damage. If found, replace the steering cable.
- Clean and grease the steering cable ram and the engine tilt tube with a good quality waterproof marine grease.
- Determine if a cable adapter or split plastic cable spacer is required. See “Installation Requirements” on page 5.
– If a cable adapter is required, go to “Connecting a Cable Adapter” on page 8.
– If a split plastic cable spacer is required, go to “Attaching the Split Plastic Cable Spacer” on page 8.
– If neither an adapter nor spacer is required, go to “Attaching the Mounting Bracket” on page 8.
Connecting a Cable Adapter

3 Connecting a Cable Adapter
- Cable Adapter
- Tilt Tube
Connect the cable adapter and tighten to the tilt tube.
Torque to 25 lb ft (33.9 Nm).
Attaching the Split Plastic Cable Spacer

4 Attaching the Split Plastic Cable Spacer
- Split Plastic Cable Spacer
- Steering Cable Ram
Carefully push the split plastic cable spacer over the steering cable ram.
Attaching the Mounting Bracket
WARNING: LOSS OF STEERING CONTROL HAZARD.
If fasteners do not fully seat against the mounting bracket, stop installation and contact Dometic Technical Support. Failure to obey this warning could result in death or serious injury.
Some engines may require body spacer shims to extend the mounting bracket forward. Two types of body spacer shims are included with the XPA.
| Body Spacer Shim Type | Color | Thickness |
| Thick | Black | 0.129 in. (3.276 mm) |
| Thin | Gray | 0.081 in. (2.057 mm) |
BRP engines require a unique body spacer plate. Honda outboard engines do not require body spacer shims.
- Determine the mounting bracket fasteners required for the engine. See “Installation Requirements” on page 5.
- Determine if body spacer shims or a body spacer plate is required for the engine. See “Installation Requirements” on page 5.
- Attach the mounting brackets according to the engine model.
– For BRP engines, go to “Attaching the Mounting Bracket on BRP Engines” on page 9.
– For all other engines, go to “Attaching the Mounting Bracket on non-BRP Engines” on page 9.
Attaching the Mounting Bracket on non-BRP Engines
5 Attaching Mounting Brackets on non-BRP Engines
1. Mounting Bracket Fasteners
2. Mounting Bracket
3. Body Spacer Shims
4. Mounting Holes
- Ensure the mounting holes on the front of the tilt tube are fully cleared from dirt and debris.
- Attach the mounting bracket and body spacer shims (if required) to the engine tilt tube.
- Tighten the fasteners in a cross pattern. Ensure the fasteners are fully seated against the mounting bracket. Torque to 75 lb in. (8.5 Nm).
Attaching the Mounting Bracket on BRP Engines

6 Attaching Mounting Brackets on BRP Engines
1. Mounting Bracket Fasteners
2. Mounting Bracket
3. Body Spacer Plate
4. Mounting Holes
- Ensure the mounting holes on the front of the tilt tube are fully cleared from dirt and debris.
- Attach the mounting bracket and body spacer plate to the engine tilt tube.
- Tighten the fasteners in a cross pattern. Ensure the fasteners are fully seated against the mounting bracket. Torque to 75 lb in. (8.5 Nm).
Attaching the Retraction Spacers
7 Attaching the Retraction Spacers
1. Retraction Spacers
2. Steering Cable Ram
- Determine if the engine requires retraction spacers. See “Installation Requirements” on page 5.
- Slide the required number of retraction spacers onto the steering cable ram.
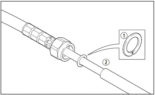
Attaching the Clevis Sleeve

8 Attaching the Clevis Sleeve
1. Steering Cable Ram
2. Clevis Nut
3. Clevis Sleeve
- Slide the clevis nut over the steering cable ram.
- Determine the correct clevis sleeve required for the engine. See “Installation Requirements” on page 5.
- Slide the clevis sleeve onto the steering cable ram.
Mounting the XPA

9 Mounting the XPA
1. Anti-Seize Nuts
2. Washers
3. Studs
- Slide the XPA onto the studs attached to the mounting bracket.
If the XPA does not easily slide all the way onto the studs, do not force it! The steering ram may be extended too far, blocking the installation. Retract
the ram by turning the steering wheel to provide the clearance required. - Slide the washers over the studs.
- Secure with the anti-seize nuts and tighten evenly.
- Use the 1/2 in. socket wrench to torque the nuts to 150 lb in. (16.9 Nm).
10 Connecting the Steering Cable1. Sensor Housing
2. Flats
3. Clevis Sleeve4. Steering Cable Ram
5. Clevis Nut
6. Clevis Pin - Line up the holes of the steering cable ram and clevis sleeve.
- Insert the clevis pin through the clevis sleeve and steering cable ram holes.
You may need to twist the steering cable ram so the flats line up. The sleeve will not be able to be fully inserted unless the pin is in a horizontal orientation. - While holding the clevis pin in place and guiding the clevis sleeve and steering cable ram into the sensor housing, ask an assistant to slowly turn the steering wheel.
- Slide the clevis nut into the sensor housing and thread it on by hand. The sleeve must be fully seated.
- Use a 1-1/4 in. wrench to tighten the clevis nut. Torque to 150 lb in. (16.9 Nm).
Securing the Engine Link Arm
LOSS OF STEERING CONTROL HAZARD.
The 3/8 in. thin lock nut must be used to secure the link arm. Ensure the locking feature of the nut is engaged with the link arm threads. Failure to obey this warning could result in death or serious injury.
11 Securing the Engine Link Arm
1. Engine Link Arm
2. Marine Grease
3. Sensor Housing
- Apply a waterproof marine grease to the shoulder area above the threads on the engine link arm.
- Insert the engine link arm into the XPA sensor housing.
Do not secure the lock nut at this time. - Inspect the complete assembly to check that it is properly seated and free from any restriction and/or binding.
- Ensure all cables are secure, have a minimum of 8 in. (20 mm) radius bends, and are free from chafing.
12 Securing the Engine Link Arm1. Engine Link Arm
2. Sensor Housing3. 3/8 in. Thin Lock Nut - Secure the 3/8 in. thin lock nut to the link arm under the sensor housing.
- Fully tighten the nut, then unscrew between 1/4 and 1/2 turn.
Wiring the Electrical Connections
WARNING: ELECTRICAL SHOCK, FIRE, EXPLOSION, AND/OR LOSS OF STEERING CONTROL HAZARD. Failure to obey the following warnings could result in death or serious injury:
- Always use ABYC compliant components in electrical installations of the XPA and any other electrical device being installed on board the boat.
- Always use appropriate wiring terminals as per ABYC requirements.
- Any electrical harness less than 72 in. (183 cm) in total length does not require an over-current protection device as per ABYC E11.10 over-current protection. Any harness length exceeding 72 in. (183 cm) in total length must use an over-current protection device as per ABYC E11.10.
- If applicable, complete the wiring from the distribution panel to the boat battery in accordance with ABYC E-11.8 load calculation and E-11.15 system wiring.
- When routing your electronic cables be careful to avoid sharp turns and sharp edges.
- The XPA runs on a 40 A circuit and must be used with either a 40 A fuse or circuit breaker.
- Do not attach any electric ground wires to the helm. This will result in an electrolytic reaction to the steering system that may result in system failure or greatly reduced service life.
NOTICE: The XPA should never be powered when not properly mounted to a boat with the steering cable correctly installed.
Consider the following:
- Use 16 AWG (1.3 mm 2 ) wire to make any necessary extensions.
- Use crimped Molex Perma-Seal (or equivalent) butt splice connectors or shrink-sealed solder connections.
- Locate all splices in a dry location and secure them properly against mechanical damage.
The XPA is designed to operate on a 12 VDC power source .
Typical power source connections include:
– Direct to batteries
– To battery switches. (Never switch the negative wire.)
– To a bus bar or power distribution panel. Ensure the wire size from the bus to the batteries is sufficient to handle the peak current of all devices connected to the bus.
- Turn off all power to the boat.
- Identify a location for the status light installation on the boat’s dash.
– The chosen location should be easily visible to the operator when driving the boat in any position.
– Make sure that there are no obstructions behind the dash where the light will be located. - Drill a 11/64 in. diameter hole into the dash at the chosen location.
- Install the LED status light into the hole.
- Route the wire harness to the boat’s battery. Make sure to not make hard turns or press the XPA wire harness against sharp surfaces.
- Install the 40 A XPA fuse holder according to the instructions included in the kit. See “Optional Parts” on page 4. Or install an ABYC E-11.10-compliant 40 A fuse or circuit breaker.
It is good electrical practice to protect all wire harnesses with an over current protection device. - Route the purple and gray wire to the dash.
- Splice the purple ignition sensing wire of the XPA to the boat’s ignition system wire. This wire must deliver 12 VDC when the ignition is “on” (key on).
If the purple wire is not connected, the system will not operate. - Splice the gray wire to the yellow wire of the LED status light and the light’s red wire to a 12 VDC power source.
- Connect the black wire from the harness to the negative terminal of the battery.
- Connect the red, over-current protected, harness to the positive terminal of the battery.
- Restore the power to the boat.
Operation
WARNING: LOSS OF STEERING CONTROL HAZARD.
Do not operate the boat if any component is not in proper working order. Failure to obey this warning could result in death or serious injury.
This section provides safety information for use when operating a boat equipped with Dometic controls and steering.
General:
- Know and obey all applicable federal, state, and municipal laws and regulations that govern boating in your area. Dometic recommends all boat operators take a boating safety course.
- Never operate a boat while under the influence of drugs or alcohol.
Before every use:
- Verify an immediate steering response when turning the steering wheel.
- Check for binding, loose, worn, or damaged components. If found, repair or replace.
- Check the steering cable for stiffness, cracks, or other damage. If found, replace the steering cable.
- If the steering cable is stiff in operation, it is unsafe to use and must be replaced immediately.
During use:
- Wear a Coast Guard-approved personal flotation device (PFD).
- Attach the engine shut-off lanyard to your PFD.
- Do not allow anyone not familiar with the controls (steering, shift/throttle, etc.) to operate the boat.
Troubleshooting
NOTICE: Most faults occur when the installation instructions have not been followed. In most cases, any faults will present themselves immediately upon powering and testing the steering system. Caution must be exercised when diagnosing and correcting a fault. The 12 VDC LED status light must be installed to show the operational status of the XPA. Faults
| LED Status Light | Code | Recommended Solution |
| Not illuminated | – | Normal operation, no action required. |
| Short pulse flashing at 0.5 second intervals | XPA related danger code | 1. If under way, safely bring the boat to a stop. The XPA can be manually overridden by the helm. 2. Turn off the ignition. 3. Ensure the XPA is not jamming against any objects. 4. Manually override the XPA to the center position. 5. Wait one minute, then turn on ignition. 6. If problem persists, contact Dometic Technical Support. |
| Long pulse 3.5 second flash, followed by a short pulse 0.5 second flash, then repeating the same pattern | Non-XPA related danger fault (e.g., battery voltage) | 1. If under way, safely bring the boat to a stop. The XPA can be manually overridden by the helm. 2. Turn off the ignition. 3. Ensure the XPA is not jamming against any objects. 4. Manually override the XPA to the center position. 5. Check that the XPA’s power connections are clean and tight, and that battery voltage is in the range specified in this manual. 6. Wait one minute, then turn on ignition. 7. If problem persists, contact Dometic Technical Support. |
| Solid constant light | Warning fault | 1. If under way, reduce speed. Perform slower steering maneuvers. 2. If the warning light does not clear or the XPA does not resume assisting, safely bring the boat to a stop. 3. Turn off the ignition. 4. Ensure the XPA is not jamming against any objects. 5. Manually override the XPA to the center position. 6. If problem persists, contact Dometic Technical Support. |
Maintenance
WARNING: ELECTRICAL SHOCK, FIRE, EXPLOSION, AND/OR LOSS OF STEERING CONTROL HAZARD.
Always disconnect the unit from power before cleaning and/or servicing. Maintenance must be done by a qualified service person only. Failure to obey this warning could result in death or serious injury.
The maintenance and cleaning instructions provided in this section should be performed at the intervals indicated, or as needed, depending on the use of the
XPA. Failure to properly maintain the XPA may void the warranty and could result in unsafe operation. Preventive maintenance is not covered under the warranty.
- After each use, rinse the XPA steering system thoroughly, using only fresh, clean water.
- Do not use acetone or cleaners containing ammonia, acids, or any other corrosive ingredients, on any steering component.
- Some products formulated for cleaning fiberglass hulls are known to aggressively corrode stainless steel shafts. If using a hull cleaner, avoid overspray on the XPA steering system. Rinse off any overspray immediately with fresh, clean water.
- Periodically lubricate the cable output ram and the engine tilt tube with a waterproof marine grease.
Disposal
Place the packaging material in the appropriate recycling waste bins, whenever possible. Consult a local recycling center or specialist dealer for details about how to dispose of the product in accordance with all applicable national and local regulations.
Warranty Information
Refer to the sections below for information about warranty and warranty suppprt in the US, Canada, Australia, New Zealand, and all other regions.
United States and Canada
LIMITED WARRANTY AVAILABLE AT DOMETIC.COM/EN-US/TERMS-AND-CONDITIONS-CONSUMER/WARRANTY.
IF YOU HAVE QUESTIONS, OR TO OBTAIN A COPY OF THE LIMITED WARRANTY FREE OF CHARGE, CONTACT:
DOMETIC CORPORATION : SEASTAR SOLUTIONS 640 NORTH LEWIS ROAD
LIMERICK, PENNSYLVANIA 19468 1-610-495-7011
[email protected]
Asia-Pacific (APAC) Countries
If the product does not work as it should, please contact your retailer or the manufacturer’s branch in your country (see the back of this instruction manual for the web addresses to locate your region or retailer). The warranty applicable to your product is TWO years.
For repair and warranty processing, please include the following documents when you send in the device:
- A copy of the receipt with purchasing date
- A reason for the claim or description of the fault
Australia Only
Our goods come with guarantees that cannot be excluded under the Australian Consumer Law. You are entitled to a replacement or refund for a major failure and for compensation for any other reasonably foreseeable loss or damage. You are also entitled to have the goods repaired or replaced if the goods fail to be of acceptable quality and the failure does not amount to a major failure.
New Zealand Only
This warranty policy is subject to the conditions and guarantees which are mandatory as implied by the Consumer Guarantees Act 1993(NZ).
INSTALLER: THESE INSTRUCTIONS CONTAIN IMPORTANT SAFETY INFORMATION AND MUST BE FORWARDED TO MARINE CRAFT OWNER.
All Other Regions
The statutory warranty period applies. If the product is defective, please contact the manufacturer’s branch in your region or your retailer (see the back of this instruction manual for the web addresses to locate your region or retailer).
For repair and guarantee processing, please include the following documents when you send in the device:
- A copy of the receipt with purchasing date
- A reason for the claim or description of the fault
dometic.com
CONTACT US
dometic.com/en-us/terms-and-conditions-consumer/contact-us
A complete list of Dometic companies, which comprise the Dometic Group, can be found in the public filings of:
DOMETIC GROUP AB Hemvärnsgatan 15 SE-17154 Solna Sweden

12 Securing the Engine Link Arm


















