SEALEY PTB104008 Topchest 8 Drawer 1040mm Heavy-Duty Black

Thank you for purchasing a Sealey product. Manufactured to a high standard, this product will, if used according to these instructions, and properly maintained, give you years of trouble free performance.
IMPORTANT: PLEASE READ THESE INSTRUCTIONS CAREFULLY. NOTE THE SAFE OPERATIONAL REQUIREMENTS, WARNINGS & CAUTIONS. USE THE PRODUCT CORRECTLY AND WITH CARE FOR THE PURPOSE FOR WHICH IT IS INTENDED. FAILURE TO DO SO MAY CAUSE DAMAGE AND/OR PERSONAL INJURY AND WILL INVALIDATE THE WARRANTY. KEEP THESE INSTRUCTIONS SAFE FOR FUTURE USE.
SAFETY
- WARNING! Ensure Health & Safety, local authority, and general workshop practice regulations are adhered to when using these units.
- Locate the units in a suitable work area.
- Keep the work area clean, uncluttered and ensure there is adequate lighting.
- WARNING! Use the units on level and solid ground, preferably concrete.
- Keep the units clean and tidy in accordance with good workshop practice.
- Keep children and unauthorised persons away from the work area.
- DO NOT use these units for any purpose other than that for which they are designed.
- DO NOT use the units outdoors.
- DO NOT place the units in a damp or wet location or an area where there is condensation.
- DO NOT clean the units with any solvents which may damage the surfaces or the protective coating.
- DO NOT move the units with the drawers out. To avoid tipping, open one drawer at a time and close and secure all drawers whilst moving.
- DO NOT step on the drawers.
INTRODUCTION
PTB104008: Heavy-duty welded steel construction for strength and durability. Textured powder coat finish. Ball bearing drawer slides provide superior performance and carry heavier loads, double sets on large drawers. All drawers have full width sand blasted aluminium ‘Lift & Latch’ drawer pulls, making easy-access while preventing inadvertent opening when box is being moved. Heavy-duty exterior handles. Supplied with non-slip drawer liners supplied for all drawers. Gas struts fitted to lid makes opening easy. Integral locking system locks all drawers with the turn of a key. Supplied with two keys. Use with Model No. PTB105511 Rollcab or can be a standalone unit.
PTB105511: Heavy-duty welded steel construction for strength and durability. Textured powder coat finish. Ball bearing drawer slides provide superior performance and carry heavier loads, double sets on large drawers. All drawers have full width sand blasted aluminium ‘Lift & Latch’ drawer pulls, making easy-access while preventing inadvertent opening when box is being moved. Tubular chrome plated exterior side handle. Non-slip drawer liners supplied for all drawers. Heavy-duty Ø125mm Mag style castors, two swivel with toe brakes and two fixed on rollcabs. Integral locking system locks all drawers with the turn of one key. Supplied with two keys. Supplied with 12mm PVC coated MDF worktop for use as a workbench when not used with a topchest. Use with Model No. PTB104008 Topchest or as a standalone unit.
SPECIFICATION
- Model No:…………………………………………………… PTB104008
- Overall size (W x D x H) mm:…………………..1040 x 450 x 570
- Medium drawer (x3):………………………………….595 x 385 x 60
- Medium 1/2 drawer (x3):…………………………….300 x 385 x 60
- Large drawer (x1):……………………………………595 x 385 x 135
- Large 1/2 drawer (x1):………………………………300 x 385 x 135
- Overall size (W x D x H) mm:…………………1055 x 460 x 1050
- Full width drawer (x1)……………………………….950 x 385 x 135
- Medium drawer (x3)…………………………………..595 x 385 x 60
- Medium half drawer (x3)…………………………….295 x 385 x 60
- Large drawer (x1)…………………………………….595 x 385 x 135
- Large half drawer (x1)………………………………295 x 385 x 135
- X Large drawer (x1)…………………………………595 x 385 x 210
- X Large 1/2 drawer (x1)……………………………295 x 385 x 210
ASSEMBLY
- WARNING! These units are heavy, obtain the help of at least one other person before attempting to unpack them.
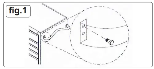
- INSTALL HANDLE (REFER TO FIG.1)
- Position the holes on the side of the rollcab and attach with the bolts provided. Tighten securely.

- INSTALL WHEELS (ROLLCABS) (REFER TO FIG.2)
- Carefully lay rollcab on its back, with a soft mat underneath for protection. Install the two braked casters on the same end as the handle.
- Insert the carriage bolts through washers, then through the casters and into the bottom of the cabinet. Tighten securely.
- Install the fixed wheels on the opposite end to the handle

- REMOVE DRAWERS (REFER TO FIG.3)
Pull drawer out until almost fully extended. Push up one black release lever, while pulling down the other hand black release lever. Whilst holding the levers in these positions pull the drawer out until it is released from the drawer slide.
- REPLACE DRAWERS
Extend the drawer slides from the tool chest/cabinet.
Insert the brackets on each side of the drawer into the slots in the chest/cabinet slides, being careful that they are properly positioned. Once properly inserted, completely close the drawer to set the slides in their proper positions. - RAISE AND RELEASE DRAWER HANDLES (REFER TO FIG.4)
- These units are equipped with raise and release drawer handles.
- To open, lift up the drawer handle, whilst pulling it towards you. To close, shut the drawer firmly, until the latch engages.
- If the drawer does not stay closed, the hook may be bent or it may rub against the drawer slides. To fix lightly bend the hook until the drawer will engage in the slide.

- CHEST AND CABINET CONNECTION (REFER TO FIG.5)
Place the chest on the rollcab.
Attach the connectors, as shown, to both ends. Ensure that the clip fully engages in the back of the topchest.
MAINTENANCE
- Lubricate the wheels annually with bearing grease.
- Lubricate the drawer slides twice a year.
- Periodically, the drawer fronts, drawer trim and other surfaces should be cleaned with mild detergent and water.
ENVIRONMENT PROTECTION
Recycle unwanted materials instead of disposing of them as waste. All tools, accessories and packaging should be sorted, taken to a recycling centre and disposed of in a manner which is compatible with the environment. When the product becomes completely unserviceable and requires disposal, drain any fluids (if applicable) into approved containers and dispose of the product and fluids according to local regulations.
Note: It is our policy to continually improve products and as such we reserve the right to alter data, specifications and component parts without prior notice.
Important: No Liability is accepted for incorrect use of this product.
Warranty: Guarantee is 12 months from purchase date, proof of which is required for any claim.
Sealey Group, Kempson Way, Suffolk Business Park, Bury St Edmunds, Suffolk. IP32 7AR
01284 757500 01284 703534 [email protected] www.sealey.co.uk
























