HENX H20LJ08 20-Volt Cordless ChainSaw

WARNING: Read all safety rules and instructions carefully before operating this tool. Improper use can cause serious or fatal injury.
Intend use
This tool is used for sawing branches and tree trunks.
THIS CHAIN SAW IS FOR USE BY TRAINED OPERATOR ONLY. SEE INSTRUCTION HANDBOOK. DO NOT USE THIS TOOL FOR TREE SERVICE.
Specification
| Model | H20LJ08 | |
| Speed | 0-5m/s | |
| Bar size | 8 inch | |
| Chain | Pitch | 3/8″ |
| Pitch count | 34 | |
| Oil volume | 150mL | |
| Chain fastening mode | Tool-less tension system | |
| Net weight | 2.6kg | |
| Voltage | DC18V | |
| A-weighted sound pressure level LpA | 88.23 dB(A) | |
| Uncertainty KpA | 3 dB(A) | |
| A-weighted sound power level LWA | 99.23 dB(A) | |
| Uncertainty KWA | 3 dB(A) | |
| – Guaranteed sound power level(in accordance with 2000/14/EC) | 102 dB(A) | |
| Declaration of the vibration emission according to EN ISO 8662-1 | 2.6 m/s2 | |
| Uncertainty | 1.5 m/s2 | |
| Battery pack | H20B20 / H20B40 | |
| Battery type | Lithium-ion | |
| Battery capacity | 2000mAh / 4000mAh | |
| Battery charging time | Approx. 2 hours | |
| Battery charger | Model: DQCH0502102300G47 Input: 100-240 V~, 50-60 Hz, 75 W; Output: 21 V d.c., 2,3 A | |
Symbol
It is important that you understand the symbols used in this tool before using it.
- WARNING
- Refer to instruction manual
- Wear head protection
- Wear a face shield
- Wear protective gloves
- Wear safety footwear
- Wear hearing protection
- Waste electrical products should not be disposed of with household waste. Please recycle where facilities exist. Check with your local authority or retailer for recycling advice.
- Sound power level
- Do not dispose of battery packs in fire. They will explode and cause injury.
- Wear protective clothing
- Wear eye protection
- Do not expose to rain
- In accordance with essential applicable safety standards of European directives
- Do not dispose of battery packs in rivers or immerse in water.
- Do note expose battery packs to heat in excess of 40ºC.
General power tool safety warnings
WARNING Read all safety warnings, instructions, illustrations and specifications provided with this power tool. Failure to follow all instructions listed below may result in electric shock, fire and/or serious injury.
Save all warnings and instructions for future reference.
The term “power tool” in the warnings refers to your mains-operated (corded) power tool or battery-operated (cordless) power tool.
- Work area safety
- Keep work area clean and well lit. Cluttered or dark areas invite accidents.
- Do not operate power tools in explosive atmospheres, such as in the presence of flammable liquids, gases or dust. Power tools create sparks which may ignite the dust or fumes.
- Keep children and bystanders away while operating a power tool. Distractions can cause you to lose control.
- Electrical safety
- Power tool plugs must match the outlet. Never modify the plug in any way. Do not use any adapter plugs with earthed (grounded) power tools. Unmodified plugs and matching outlets will reduce risk of electric shock.
- Avoid body contact with earthed or grounded surfaces, such as pipes, radiators, ranges and refrigerators. There is an increased risk of electric shock if your body is earthed or grounded.
- Do not expose power tools to rain or wet conditions. Water entering a power tool will increase the risk of electric shock.
- Do not abuse the cord. Never use the cord for carrying, pulling or unplugging the power tool. Keep cord away from heat, oil, sharp edges or moving parts. Damaged or entangled cords increase the risk of electric shock.
- When operating a power tool outdoors, use an extension cord suitable for outdoor use. Use of a cord suitable for outdoor use reduces the risk of electric shock.
- If operating a power tool in a damp location is unavoidable, use a residual current device (RCD) protected supply. Use of an RCD reduces the risk of electric shock.
- Personal safety
- Stay alert, watch what you are doing and use common sense when operating a power tool. Do not use a power tool while you are tired or under the influence of drugs, alcohol or medication. A moment of inattention while operating power tools may result in serious personal injury.
- Use personal protective equipment. Always wear eye protection. Protective equipment such as a dust mask, non-skid safety shoes, hard hat or hearing protection used for appropriate conditions will reduce personal injuries.
- Prevent unintentional starting. Ensure the switch is in the off-position before connecting to power source and/or battery pack, picking up or carrying the tool. Carrying power tools with your finger on the switch or energising power tools that have the switch on invites accidents.
- Remove any adjusting key or wrench before turning the power tool on. A wrench or a key left attached to a rotating part of the power tool may result in personal injury.
- Do not overreach. Keep proper footing and balance at all times. This enables better control of the power tool in unexpected situations.
- Dress properly. Do not wear loose clothing or jewellery. Keep your hair and clothing away from moving parts. Loose clothes, jewellery or long hair can be caught in moving parts.
- If devices are provided for the connection of dust extraction and collection facilities, ensure these are connected and properly used. Use of dust collection can reduce dust-related hazards.
- Do not let familiarity gained from frequent use of tools allow you to become complacent and ignore tool safety principles. A careless action can cause severe injury within a fraction of a second.
- Power tool use and care
- Do not force the power tool. Use the correct power tool for your application. The correct power tool will do the job better and safer at the rate for which it was designed.
- Do not use the power tool if the switch does not turn it on and off. Any power tool that cannot be controlled with the switch is dangerous and must be repaired.
- Disconnect the plug from the power source and/or remove the battery pack, if detachable, from the power tool before making any adjustments, changing accessories, or storing power tools. Such preventive safety measures reduce the risk of starting the power tool accidentally.
- Store idle power tools out of the reach of children and do not allow persons unfamiliar with the power tool or these instructions to operate the power tool. Power tools are dangerous in the hands of untrained users.
- Maintain power tools and accessories. Check for misalignment or binding of moving parts, breakage of parts and any other condition that may affect the power tool’s operation. If damaged, have the power tool repaired before use. Many accidents are caused by poorly maintained power tools.
- Keep cutting tools sharp and clean. Properly maintained cutting tools with sharp cutting edges are less likely to bind and are easier to control.
- Use the power tool, accessories and tool bits etc. in accordance with these instructions, taking into account the working conditions and the work to be performed. Use of the power tool for operations different from those intended could result in a hazardous situation.
- Keep handles and grasping surfaces dry, clean and free from oil and grease. Slippery handles and grasping surfaces do not allow for safe handling and control of the tool in unexpected situations.
- Battery tool use and care
- Recharge only with the charger specified by the manufacturer. A charger that is suitable for one type of battery pack may create a risk of fire when used with another battery pack.
- Use power tools only with specifically designated battery packs. Use of any other battery packs may create a risk of injury and fire.
- When battery pack is not in use, keep it away from other metal objects, like paper clips, coins, keys, nails, screws or other small metal objects, that can make a connection from one terminal to another. Shorting the battery terminals together may cause burns or a fire.
- Under abusive conditions, liquid may be ejected from the battery; avoid contact. If contact accidentally occurs, flush with water. If liquid contacts eyes, additionally seek medical help. Liquid ejected from the battery may cause irritation or burns.
- Do not use a battery pack or tool that is damaged or modified. Damaged or modified batteries may exhibit unpredictable behaviour resulting in fire, explosion or risk of injury.
- Do not expose a battery pack or tool to fire or excessive temperature. Exposure to fire or temperature above 130 °C may cause explosion.
- Follow all charging instructions and do not charge the battery pack or tool outside the temperature range specified in the instructions. Charging improperly or at temperatures outside the specified range may damage the battery and increase the risk of fire.
- Service
- Have your power tool serviced by a qualified repair person using only identical replacement parts. This will ensure that the safety of the power tool is maintained.
- Never service damaged battery packs. Service of battery packs should only be performed by the manufacturer or authorized service providers.
Safety Warning for rechargeable chain saws
- Keep all parts of the body at arm’s length from the chainsaw while it is in operation. Before starting the chainsaw, make sure that the chain is not in contact with anything. Even a moment of distraction during chain saw operation may result in clothing or body being sucked into the chainsaw.
- Be sure to hold the rear handle of the chainsaw with your right hand and the front handle with your left. Holding a chainsaw upside down increases the risk of personal injury, so do not hold the back handle with your left hand and the front handle with your right.
- Because the chain may come into contact with hidden wires, only hold the insulated handle when operating the tool. When the chainsaw comes into contact with a live wire, the exposed metal part of the tool may also become live and cause an electric shock to the operator.
- Wear safety glasses and ear protectors. It is recommended that you wear a protective device to protect your head, hands, legs and feet. Wearing protective clothing will reduce personal injury from flying debris or accidental contact with a chainsaw.
- Do not operate a chainsaw in a tree. Operating a chainsaw in a tree can cause personal injury.
- Be sure to stand firmly and to stand on a fixed, safe and level surface before operating the chainsaw. Slippery or unstable surfaces such as ladders can cause the body to lose its balance or the chainsaw to lose control.
- When cutting a branch under tension, beware of a rebound. When the tension on the wood fibers is released, the elastic forces on the branches may strike the operator or the chain saw and cause it to lose control.
- Be especially careful when cutting through shrubs and young trees. Slender materials may trap the chain and strike themselves or cause self-imbalance.
- Close the chain saw and hold the front handle at arm’s length before carrying it.
When transporting or storing chainsaws, always cover the guide plate. Proper operation of the chainsaw reduces the likelihood of accidental contact with the chain in motion. - Lubricate, tensify chains and replace accessories according to instructions. Improper tensioning or lubrication of chains may result in chain rupture or increase the likelihood of rebound.
- Keep handles dry and clean, free of grease and grease. Greasy handles tend to slip and cause tools to slip out of control.
- Used only for cutting wood. Do not use chain saws for purposes other than
design. For example, do not use chain saws to cut plastic stone or non-wood building materials. Use them for operations other than design purposes can lead to dangerous situations. - Causes of tool bounces and precautions taken by operators:
- Rebound may occur if the head of the guide plate touches an object or the wood grips and squeezes the chain during cutting.
- Sometimes, the head of the guide plate touches an object, creating a sudden reaction force that bounces the guide plate and charges the operator.
- Squeezing the chain along the top of the guide plate may push the guide plate back to the operator quickly.
- Any of these counterforces can cause the chainsaw to go haywire and cause serious injury. Do not rely solely on safety equipment mounted on the chainsaw. As a chainsaw user, you should take a variety of measures to prevent accidental or personal injury during cutting.
- Incorrect operation of the tool or incorrect operation steps or conditions will lead to a rebound, which can be avoided by following the following precautions:
- With a firm grip, grip the chainsaw handle with both thumbs and the rest of your fingers, adjusting your body and arms to prevent rebound. The operator can control the recoil if the correct precautions are followed. Please be careful.

- Do not extend the tool too far and do not cut above the shoulder. This helps prevent the guide head from touching the object and gives better control of the tool in unexpected situations.
- Use only replacement guides and chains specified by the manufacturer Improper replacement guides and chains may cause chain breakage or rebound.
- Maintain the chainsaw following the manufacturer’s polishing and maintenance instructions. Lowering the depth gauge will cause frequent bounces.
Please keep this instruction manual.
Warning: Do not be too familiar with the product (experience gained from repeated use) to not strictly follow the relevant product safety rules. Improper use or failure to follow the safety rules in the instructions can result in serious personal injury.
- With a firm grip, grip the chainsaw handle with both thumbs and the rest of your fingers, adjusting your body and arms to prevent rebound. The operator can control the recoil if the correct precautions are followed. Please be careful.
Special safety instructions for battery pack and charger
- This appliance is not intended for use by persons (including children)with reduced physical, sensory or mental capacities, or lack of experience and knowledge, unless they have been given supervision or instruction concerning use of the appliance by a person responsible for their by person responsible for their safety.
- Children should be supervised to ensure that they do not play with the appliance.
- If under extreme conditions any electrolyte should escape from the battery, it’s essential to avoid contact with skin. If electrolyte does come into contact with your skin, rinse it off with water. In the event of electrolyte contact with your eyes, it’s essential to consult a doctor.
- Before the use of the charger and the battery pack, read the instruction manual for it carefully.
- During the charge process, the current used should correspond to the current of the battery charger.
- Never let moisture, rain or splashed water reaches the charging location.
- Protect the battery pack and charger from moisture and heat. The ambient temperature must not exceed 40°C. Never expose the device to direct sunlight.
- Only switch off the current when the battery pack has been inserted into the box or has been pulled out of the box.
- Battery packs, which are defective or damaged or can no longer be recharged, must be disposed of as hazardous waste. Hand them over at a special collection point. Never harm our environment. Do not throw unusable storage-battery packet away into the domestic waste, into fire or into water.
- Use only a battery pack, which has been produced by the original manufacturer.
- Always keep the surface of the charger free from dust and dirt.
- Insert the battery pack into the charger. Follow the guidelines provided concerning polarity.
- Always remove battery pack before working on the power tool.
- When the battery packet is outside the power tool, cover the contacts to avoid short circuits (e.g. from tools)
- Do not throw battery packs into water or fire, risk of explosion!
- Protect the battery pack from impacts, and don’t open it.
- Never discharge the battery pack completely and recharge occasionally if not used for a prolonged period.
- When the battery pack is not used for long periods you should store it at room temperature (18°C to 24°C) with a battery charge level of 30 – 50 % of its power. If the battery pack is stored for a very long period it must be charged up once every year to prevent it from discharging.
- Remove the battery pack from the power tool when it’s not in use for a longer period of time.
- Protect the battery pack against vibration and shocks. Do not use after it’s been dropped or exposed to shocks.
Residual risks
Even when the tool is used as prescribed it is not possible to eliminate all residual risk factors. The following hazards may arise in connection with the tool’s construction and design:
- Health defects resulting from vibration emission if the power tool is being used over longer period of time or not adequately managed and properly maintained.
- Injuries and damage to property to due to broken accessories that are suddenly dashed.
Warning! This power tool produces an electromagnetic field during operation. This field may under some circumstances interfere with active or passive medical implants. To reduce the risk of serious or fatal injury, we recommend persons with medical implants to consult their physician and the medical implant manufacturer before operating this power tool.
Important safety precautions for battery packs
- Carefully read all instructions and (1) the battery charger, (2) the battery, and (3) the warning labels on the products using the battery before using the battery pack.
- Do not disassemble the battery pack.
- If the running time of the machine becomes too short, please stop using it immediately. Otherwise, it may cause overheating, fire or even explosion.
- If the electrolyte enters your eye, rinse it with clean water and seek medical attention immediately. Otherwise, it may lead to impaired vision.
- Do not short-circuit the battery pack:
- Do not allow any conductive material to touch the terminal;
- Avoid placing the battery pack in the same container as other metal objects such as nails and COINS;
- Do not leave the battery pack in water or in the rain. A short circuit in the battery will generate a large current, causing overheating and possibly causing a fire or even a breakdown.
- Do not place the tool and battery pack where the temperature may reach or exceed 50℃ (122 F).
- Do not burn the battery pack even if it is badly damaged or completely worn out. It may explode in fire.
- Please be careful not to hit the battery or drop it.
- Do not use damaged batteries.
Please keep this instruction manual
Tips for maintaining maximum battery life:
- Charge the battery pack before it runs out of power. When the battery is low, stop the tool and charge the battery.
- Do not recharge the fully charged battery pack. Overcharging will shorten the life of the battery.
- Please charge the battery pack at room temperature of 10℃-40℃ (50 F-104 F).The hot battery pack cools and recharges.
- If you don’t need to use the tool for long periods of time, charge the battery pack every six months.
Indication of main components:

Function
Notice:
—Before adjusting or checking the function of the tool, always turn off the power of the tool and remove the battery pack.
Install or remove the battery pack (as shown below)

Notice:
- Be sure to turn off the power to the tool before installing or removing the battery pack.
- Hold the tool and battery tightly when installing or removing the battery pack. Failure to grip the tool and battery may cause them to slip out of your hand, damaging the tool and battery and causing personal injury.
- To remove the battery pack, press the battery pack button and pull the battery pack out of the tool.
- To install the battery pack, slide the battery pack slot into the slot on the machine. Insert it until you hear the click and lock it in place.
- Be sure to fully insert the battery pack until you hear the click lock in place. Otherwise, they may accidentally fall out of the tool and injure themselves or others.
- Do not install the battery pack with excessive force. If the battery pack slides unsmoothly, it may be improperly inserted.
Battery protection system
The battery pack is equipped with a protection system that automatically cuts off the power to the tool to extend the battery life. During operation, the tool will automatically stop operation if the tool or battery pack is under the following conditions:
Overload
The tool is operating in a manner that results in an abnormally high current. In this case, release the trigger switch on the tool and stop the application operation that causes the tool to overload. Then, press the trigger switch again to restart it. If the tool cannot be started, the battery overheats. In this case, please wait until the battery cools before pulling the trigger switch.
Battery low voltage:
The remaining battery is too low and the tool does not work. In this case, remove the battery and recharge it.
Switch operation (as shown below)
Before inserting the battery pack into the tool, be sure to check that the trigger and self-locking button spring back up.

In order to avoid the user accidentally pull the trigger of the switch, this tool adopts the self-locking button!
To start the tool: First, pull the front baffle from position (1) to position (1-1), then press the self-locking button and pull the trigger of the switch.
Release the trigger switch and the tool will stop immediately or push the front damper from the position (1-1) to the position (1) in the picture and the tool will stop immediately
Guide plate/chain assembly
Notice:
Before performing any assembly operation on the tool, be sure to turn off the tool power and remove the battery pack.
Gloves must be worn before installation or removal.
Install guide plate and chain:

- Step 1 :(as shown in figure 1) place the chain guide tooth into the groove of the guide plate to locate the whole chain. Note that the cutting teeth (cutting edge) on the chain are facing the front end of the guide plate;
- Step 2 :(as shown in figure 2) put one end of the guide plate and the chain in the state shown in figure 1 into the sprocket, and place the guide plate on the mounting plane. Pretension the guide plate and the chain according to the arrow direction shown in the figure;

- Step 3 :(figure 3) install the guide plate cover and tighten the guide plate and chain.
- Press (Figure 3-1) to align the small lug on the guide plate with the chassis slot, then close the guide plate cover;
- Press (Figure 3-2) to pretighten the guide plate clockwise before pressing the guide plate, then clockwise tighten the chain knob until it is about 3mm from the edge of the chain to the guide plate (As shown in Figure 3-3).Then tighten the guide plate and install the tightening knob.
Notice:
- During a period of time after installation, the chain is liable to become loose. Please check the chain tensioning constantly before use.
- If the chain is too loosely installed, it may dislocate.
- The chain shall be installed and removed in a clean sawdust free or similar position.
Remove guide plate and chain:
Steps: Loosen the tightening knob of the guide plate counterclockwise, remove the cover of the guide plate directly, and then remove the guide plate and chain.
Operation
Lubrication

When the tool is running, the chain is automatically lubricated;
Check the amount of remaining oil in the oil tank through the oil volume inspection window. When the amount of oil is lower than “min”, the oil tank shall be refilled. Please remove the oil cap from the mouth of the oil tank, and the oil tank capacity is 120mL.After filling the tank, be sure to unscrew the cap provided on the chain saw.
Notice
- When first filling the chain saw or refilling the empty tank, fill to the bottom edge of the lubricator neck.
- Do not use lubricating oil or volatile oil containing dust and particles.
- When pruning branches, use vegetable oils. Trees may be damaged by the use of mineral oil.
- Do not overexert force on the chainsaw while pruning the branches.
- Before starting cutting, make sure the attached fuel tank cap is tightened in place.
- Hold the chainsaw at arm’s length from the tree. Start the chain saw and wait until the chain is fully lubricated.
Pruning/cutting wood

Notice
- Keep all parts of the body at a distance from the chainsaw while the motor is working.
- Hold the chainsaw with both hands while the motor is running.
- Do not extend your hand too long during operation. Please stand on both feet and keep balance at all times.
- Contact the lower guide plate with the branches before opening the chainsaw switch. Starting cutting at the bottom of the guide plate without contact with the branches may cause the guide plate to sway, causing injury to the operator.
When cutting thick branches, first make a shallow cut in the lower part and then finish the cut from the upper part.

If you try to cut off a thicker branch completely from the lower part, the branch may clamp and squeeze the chain in the cut. If you try to cut off the thicker branch completely from the upper part without making a shallow cut in the lower part, the branch may crack.

If you can’t cut the tree all at once:
Apply slight pressure to the handle and continue to cut the saw, then pull the chainsaw back slightly and press the spines down slightly, and finally lift the handle to complete the cut.

Chain saw counter-thrust safety device
Chain brake
The chainsaw is equipped with a chain brake that stops both the motor and the chain when a kick occurs. During the backkick, the forward movement of the chain backkick brake handle causes the chain brake to work as the chain rotates backward. The inertial forces generated in the fast push back process also cause the chain brake to act.
Warning: Do not modify or attempt to disable chain brakes.Make sure the chain brake works properly before using the chainsaw. Chain back kick brake handle should be easy to move back and forth.
To test the operation of the chain brake, perform the following steps :

- Step 1: Place the chainsaw on a flat, exposed surface and ensure that no objects or obstacles are in contact with the guide plate and chain;
- Step 2: Release the chain brake by pulling the chain brake; Step 3: Start the chainsaw;
- Step 4: Push the chain kick brake handle toward the front of the saw. A properly operating hand brake will immediately stop the chain movement. If the chain brake does not work properly, do not use the chain saw until it has been repaired by a qualified maintenance technician.
Warning: Make sure the chain brake works properly before each use.
Warning: If the chain brake is blocked by wood chips, the function of the chain brake may degrade. Please keep the equipment clean at all times.
Maintenance
Notice
- Before inspecting or maintaining the tool, be sure to turn off the power and remove the battery pack.
- Be sure to wear gloves when performing any inspection and maintenance operations. —Do not use gasoline, benzene, thinner, alcohol or similar cleaning tools. Failure to do so may cause tool discoloration, distortion, or cracking.
Polish the chain
Notice
When maintaining the chain, be sure to remove the battery pack and wear safety gloves.

Polish the chain under the following conditions
- When pulverized sawdust is produced by cutting wet wood;
- When the chain is difficult to penetrate the wood, even with greater force;
- When the cutting edge has visible damage;
- When the saw swings from side to side in the wood, this condition is caused by uneven polishing of the chain or only one side is damaged.
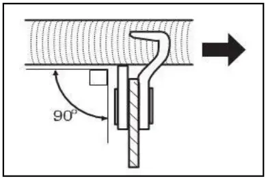
Polish the chain frequently to remove only a small amount of material at a time, usually with a file of two or three strokes. - -Use a special round file for polishing the chain with a diameter of 4mm. Do not use a normal round file.

- The file should only be polished forward and in one direction. Do not make the file touch the material when pulling back.
- First polish the shortest saw blade and then unify the length of the blade with the length of the other saw blades in the chain.
- Operate the file as shown.

- After finishing the chain polishing, rinse off the grinding dust and particles on the chain.
Clean bar

Debris and sawdust can build up in the guide sleeve, causing clogging and impeding the supply of lubricating oil. Be sure to remove debris and sawdust when sanding or rep lacing the chain.
HENX LIMITED WARRANTY
HENX Products Two Year Limited Warranty – H20LJ08
- HENX Chain Saw are warranted (to the original purchaser) to be free from defects in materials and workmanship for a period of One year from the date of original purchase. HENX Products used for Commercial or rental has a warranty period of 30 days from date of original purchase.
- HENX will replace, at its discretion, any part that is proven to be defective in materials or workmanship under normal use during the warranty period. Warranty replacements will be made without charge for parts or labor. Parts replaced during warranty will be considered as part of the original product and will have the same warranty period as the original product.
- TO EXERCISE WARRANTY COVERAGE:
- Do not return to retailer! For warranty and technical support call the Customer Service
- Number: (866) 678-8989
WARRANTY COVERAGE:
- This warranty is conveyed to the original purchaser and is not transferable.
- HENX Chain Saw contains parts that will wear out with usage and parts that need maintenance. The warranty does not cover wear or maintenance parts.
- Warranty does not extend to HENX Chain Saw damaged or affected by accidents, neglect, misuse, contaminated fuel, unauthorized alterations, use in applications beyond product design and any other modification, In addition, this warranty does not cover general check-ups on electrical equipment, tune-ups on gasoline engines, or replacement of non-defective parts (such as electrical brushes, cables, plugs, spark plugs, filters, starter ropes, etc.) that may wear and need to be replaced with reasonable use within the warranty period or which may require replacement in connection with normal maintenance.
- HENX is not liable for any indirect, incidental or consequential damages from the sale or use of this product. Any implied warranties are limited to period as stated in this written limited warranty. Some states do not allow limitation on the length of an implied warranty. Some states do not allow the exclusion or limitation of incidental or consequential damages. This warranty gives you the specific legal right, and you may have other rights that vary by state.
For questions / comments, technical assistance or repair parts Please Call US at: (866) 678-8989
SAVE YOUR RECEIPTS. THIS WARRANTY IS VOID WITHOUT THEM.























