caple C744G Gas on Glass Hob Instruction Manual
INTRODUCTION
Congratulations on the purchase of your new Caple hob. We recommend that you spend some time reading this instruction manual in order to fully understand how to correctly install and operate your hob. For installation, please read the installation section. Read all the safety instructions carefully before using your hob and keep this instruction manual for future reference.
WARNING
- You MUST read these warnings carefully before installing or using the hob.
- If the supply cord is damaged, it must be replaced by the manufacturer, its service agent or similarly qualified persons in order to avoid a hazard.
- This appliance is intended to be used in household and similar applications such as:
- Staff kitchen areas in shops, offices and other working environments.
- Farm Houses.
- By clients in hotels, motels and other residential type environments.
- Bed and breakfast type environments.
- This appliance can be used by children aged from 8 years and above and persons with reduced physical, sensory or mental capabilities or lack of experience and knowledge if they have been given supervision or instruction concerning use of the appliance in a safe way and understand the hazards involved.
- Children shall not play with the appliance. Cleaning and user maintenance shall not be made by children without supervision.
- This appliance is not intended for use by persons (including children) with reduced physical, sensory or mental capabilities, or lack of experience and knowledge, unless they have been given supervision or instruction concerning use of the appliance by a person responsible for their safety.
- This appliance is for indoor use only.
- To protect against the risk of electrical shock, do not immerse the unit, cord or plug in water or other liquid. – Please unplug before cleaning the appliance.
INSTALLATION WARNINGS
- Prior to installation, ensure that the local distribution conditions (nature of the gas and gas pressure) and the adjustment of the appliance are compatible.
- It should be installed and connected in accordance with current installation regulations. Particular attention shall be given to the relevant requirements regarding ventilation.
- This appliance must be installed and serviced by a competent person.
- This appliance shall be installed in accordance with the regulations in force and only used in a well ventilated space.
- Remove all packaging before using the hob.
- Ensure that the gas and electrical supply complies with the type stated on the rating label.
- Do not attempt to modify the hob in any way.
IMPORTANT SAFETY INSTRUCTIONS
- Never leave the appliance unattended when in use as pans may boil over which may result in smoking or grease spills that may ignite.
- Never use your appliance as a work or storage surface.
- Never use your appliance for warming or heating the room.
- After use, always turn off the cooking zones.
- Do not allow children to play, sit, stand, or climb on the appliance.
- Do not leave children alone or unattended in the kitchen when the hob is in use.
- Do not use a steam cleaner to clean the hob.
- Do not place or drop heavy objects on your hob.
- Do not stand on your hob.
- Do not use scourers or any other harsh abrasive cleaning agents to clean your hob.
- Do not repair or replace any part of the appliance unless specific instructions are detailed in the manual. All other servicing should be done by a qualified technician.
HOT SURFACE HAZARD
- During use, accessible parts of this appliance will become hot enough to cause burns.
- Handles of saucepans may be hot to touch. Check saucepan handles do not overhang other cooking zones that are on. Keep handles out of reach of children.
- Failure to follow this advice could result in burns and scalds.
- Do not repair or replace any part of the appliance unless specific instructions are detailed in the manual. All other servicing should be done by a qualified technician.
- It should be installed and connected in accordance with current installation regulations. Particular attention shall be given to the relevant requirements regarding ventilation.
- Ensure air is able to circulate around gas appliances Insufficient ventilation will lead to depletion of the oxygen in the air in the place of installation.
- In case of intense or prolonged use of the appliance, it may be necessary to increase ventilation, for example by opening a window or increasing the power of extractor fans, if present.
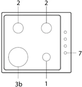
PARTS OF THE APPLIANCE
- C744G

- C944G


- Auxiliary gas burners
- Semi-rapid burner
- A) Rapid burner
B) Triple ring burner - Ignitor for gas
- Safety Device – Activates if the flame accidentally goes out, interrupting the delivery of gas to the burner.
- Triple ring burner
- Control knobs
HOW TO USE YOUR APPLIANCE
The position of the corresponding gas burner is indicated on each control knob.
GAS BURNERS
The burners differ in size and power. Choose the most appropriate one for the diameter of the cookware being used.
The burner can be regulated with the corresponding control knob by using one of the following settings:
OFF
H I G H
LOW
located near each knob). To light a burner, simply press the corresponding knob all the way in and, then, turn it in the counter-clockwise direction to the High setting, keeping it pressed in until the burner lights. As a safety device is fitted, the knob must be pressed in for about 6 seconds, until the device that keeps the flame lighted warms up.
This hob is equipped with an ignition switch incorporated into the control knob. To light a burner, simply press the corresponding knob all the way in and, then, turn it in the counter-clockwise direction to the High setting, keeping it pressed in until the burner lights.
As a safety device is fitted, the knob must be pressed in for about 6 seconds, until the device that keeps the flame lighted warms up.
CAUTION
To turn off a burner, turn the knob in the clockwise direction until it stops (it should be on the
Off setting.
CARE AND MAINTENANCE
Before cleaning or performing maintenance on your appliance, disconnect it from the electrical power supply.
- To extend the life of the hob, it is absolutely indispensable that it be cleaned carefully and thoroughly on a frequent basis, keeping in mind the following:
- The enameled parts must be washed with warm water without using abrasive powders or corrosive substances which could ruin them;
- The removable parts of the burners should be washed frequently with warm water and soap, making sure to remove caked-on substances;
- The end of the electronic ignition device must be cleaned carefully and frequently, making sure that the gas holes are not clogged;
G R E A S I N G T H E G A S VA LV E S :
Over time, the gas valves may stick or become difficult to turn. If this is the case, they must be cleaned on the inside and the re-greased.
NOTE:
This procedure must be performed by a Caple approved engineer or similar qualified persons.
PRACTICAL ADVICE
- For best performance, follow these general guidelines:
- Use the appropriate cookware for each burner (see table) in order to prevent the flame from reaching the sides of the pot or pan;
- Always use cookware with a flat bottom and keep the lid on;
- When the contents come to a boil, turn the knob to ‘LOW’
BATTERY | Ø COOKWARE DIAMETER (CM) |
Semi Rapid | 16 – 20 |
Auxiliary | 10- 14 |
Rapid Burner | 24 – 26 |
Triple Ring | 24 – 26 |
To identify the type of burner, refer to the diagram in the section entitled, ‘Parts of the appliance’.
TROUBLESHOOTING
It may occur that the hob does not function or does not function properly. Before calling Caple service for assistance, please read the following information:
First of all, check to see that there are no interruptions in the gas and electrical supplies, and, in particular, that the gas valves for the mains are open. The burner does not light or the flame is not complete around the burner, check if;
- The gas holes on the burner are not clogged;
- All of the movable parts that make up the burner are mounted correctly;
- There are no droughts around the cooking surface.
The flame does not stay lit, check if;
- You press the knob all the way in.
- You keep the knob pressed in long enough to activate the safety device.
- The gas holes are not clogged in the area corresponding to the safety device.
The burner does not remain on when set to ‘LOW’, check if;
- The gas holes are not clogged.
- There are no draughts around the cooking surface.
- The valve has been adjusted correctly (see ‘Valve adjustment’).
The cookware is not stable, check if;
- The bottom of the cookware is perfectly flat.
- The cookware is centered correctly on the burner.
- The support grids have not been inverted.
If, despite all of these checks, the hob does not function properly and problems persist, call our Caple Service department for help:
T- 0117 938 7420
E- [email protected]
INSTALLATION INSTRUCTIONS
Installation should only be attempted by a qualified installer so that the installation and maintenance procedures may be followed in the most professional and expert manner possible.
IMPORTANT:
Unplug the electrical connection before performing any maintenance or regulation upkeep work.
POSITIONING FOR GAS HOB
IMPORTANT:
This unit may be installed and used only in permanently ventilated rooms according to British standards.
The following requirements must be observed:
- The room must be fitted with a ventilation system which vents smoke and gases from combustion to the outside. This must be done by means of a hood or electric ventilator that turns on automatically each time the hood is operated.
- The room must also allow for the influx of the air needed for proper combustion. The flow of air for combustion purposes must, not be less than 2m³/h per kW of installed capacity. The supply of said air can be effected by means of direct influx from the outside through a duct with an inner cross section of at least 100cm² which must not be able to be accidentally blocked.
- Intensive and prolonged use of the appliance may necessitate supplemental ventilation, e.g. opening a window or increasing the power of the air intake system (if present).
GAS HOB INSTALLATION
The gas hobs are prepared with protection degree against excessive heating of type X, the appliance can therefore be installed next to cabinets, provided the height does not exceed that of the hob. For a correct installation of the cooking hob the following precautions must be followed:
- The hob may be located in a kitchen, a kitchen/diner or bed sitting room, but not in a bathroom or shower room.
- The furniture standing next to the hob, that is higher than the worktop, must be placed at least 110mm from the edge of the hob.
- The cabinets positioned next to the hood should be at a height of at least 420mm (Fig. 5).
- You must have a gap of at least 25mm bewteen the underside of the hob and any surface that is directly below it.

Fig 5 - Should the hob be installed directly under a cupboard, the cupboard should be at least 700mm from the worktop, as shown in Fig.5.
- The cut out dimensions for the worktop must be those indicated in Fig 6. Fixing hooks are provided which allow installation of the hob in worktops that measure 20 to 40mm in thickness (see Fig. 6). It is advisable to use all the fixing supplied.

Fig 6 - Hook poition for H=30mm top.

- Hook Position for H=40mm top.

- Hook position for H=20mm top.

NOTE:
Use the hook contained in the ‘accessories set’.
In the event the hob is not installed above a built-in oven, a wood panel must be inserted as insulation. This panel must be placed at least 25mm from the bottom of the hob itself.
When installing on a built-in oven without forced ventilation, ensure that there are air inlets and outlets for ventilating the interior of the cabinet adequately
GAS CONNECTION
The hob should be connected to the gas supply by a Gas safe registered installer. During installation of this product it is essential to fit an approved gas tap to isolate the appliance from the supply for the convenience of any subsequent removal or servicing. Connection of the appliance to the gas mains or liquid gas must be carried out in compliance with current regulations, and only after it is ascertained that it is adaptable to the type of gas to be used. If not, follow the instructions indicated in the paragraph headed “Adaptation to different gas types”. In the case of connection to liquid gas, by bottle/tank, use pressure regulators that conform to current regulations in force.
IMPORTANT:
For safety, for the correct regulation of gas use and long life of the appliance, ensure that the gas pressure conforms to the indications given in table 1 “Burners and injector specifications”.
(Copper or steel)
- Connection to the gas source must be done in such a way as to not create any stress points in any part of the appliance.
- The appliance is fitted with a 1/2” gas male ‘L’ shaped union and a gasket for the attachment to the gas supply.
- Should this union have to be re-positioned, the gasket must be replaced.
CONNECTION TO FLEXIBLE STEEL TUBE
The gas feed connector to the appliance is a threaded, male 1/2” connector for a round gas pipe. Only use pipes and sealing gaskets that conform to the standards currently in force. The maximum length of the flexible pipes must not exceed 2000mm. Once the connection has been made, ensure that the flexible metal tube does not touch any moving parts and is not crushed.
CHECK THE INSTALLATION
Once the appliance has been installed, make sure all the connections are properly sealed, using liquid detector fluid and a ‘U’ gauge. Never use a flame.
ELECTRICAL CONNECTION
The hob is fitted with a standard 13A plug. Fit the supply cable with a standard plug for the demand rate indicated on the rating plate or connect it directly to the electrical mains. In the latter case, a single pole switch must be placed between the appliance and the mains, with a minimum opening between the contacts of 3mm in compliance with current safety codes (the earth wire must not be interrupted by the switch). The power supply cable must be positioned so that it does not reach a temperature in excess of 50ºC above room temperature at any point.
BEFORE ACTUAL CONNECTION MAKE SURE THAT:
- The fuse and electrical system can withstand the load required by the appliance;
- That the electrical supply system is equipped with an efficient earth hook-up according to the norms and regulations prescribed by law;
- That the plug or switch are easily accessible.
IMPORTANT:
The wires in the mains lead are colored in accordance with the following code:
- Green & Yellow: Earth
- Blue: Neutral
Brown: Live
As the colours of the wires in the mains lead may not correspond with the coloured markings
identifying the terminals in your plug, proceed as follows: Connect the Green & Yellow wire to
terminal marked ‘E’or
or colored Green or Green & yellow.
Connect the Brown wire to the terminal marked “L” or colored Red.
Connect the Blue wire to the terminal marked “N” or coloured Black.
ADAPTING THE HOB FOR DIFFERENT TYPES OF GAS
BURNERS AND INJECTOR SPECIFICATIONS
| G20 (UK) | G25 | G25.1 | G27 | G2.350 | G30 (UK) | |||||||||
| Burner | Thermal power (kW) | Injector 1/100 (mm) | Therma l power (kW) | Inject or 1/100 (mm) | Thermal power (kW) | Injector 1/100 (mm) | Thermal power (kW) | Injector 1/100 (mm) | Thermal power (kW) | Injector 1/100 (mm) | Thermal power (kW) | Injector 1/100 (mm) | Injector 1/100 (mm) | Injector 1/100 (mm) |
| Auxiliary | 0.90 | 69 | 0.90 | 69 | 0.90 | 69 | 0.90 | 75 | 0.90 | 96 | 0.90 | 50 | 44 | 43 |
| Semi rapid | 1.88 | 97 | 1.88 | 97 | 1.88 | 97 | 1.88 | 106 | 1.88 | 131 | 1.88 | 68 | 64 | 60 |
| Triple Ring | 3.00 | 131 | 3.00 | 131 | 3.00 | 131 | 3.00 | 136 | 3.00 | 165 | 3.00 | 86 | 82 | 75 |
| Supply pressures | 20mbar | 25mbar | 25mbar | 20mbar | 13mbar | 30 mbar | 36 mbar | 50 mbar | ||||||
REPLACEMENT OF BURNER INJECTOR
- Loosen the injector with a dedicated wrench (7). Fit the new injector, suitable for the required gas type (see table ‘Burners and Injectors Specifications’).
- After you have converted the hob to another gas type, make sure you have placed a label containing that information on the appliance.
- Adjust the reduced valve flow

| Burners | Flame | Converting the hob from LPG to natural gas | Converting the hob from natural Gas to LPG |
| Regular Burners | Full flame | Replace the burner injector according to the guidelines on page 19 | Replace the burner injector according to the guidelines. |
| Saving flame | Loosen the adjustment spindle (see fig 7) and adjust the flame | Loosen the adjustment spindle (see fig 7) and adjust the flame |
VALVE ADJUSTMENT
Valve adjustment should be done with the control knob det at burner ON saving flame position.
Remove the knob, and adjust the flame with a small screwdriver (See Fig.7 below).
Checking the adjusted flame: heat the burner at full open position for 10 minutes. Then turn the knob into the minimum setting. The flame should not extinguish nor move to the injector . If it goes off or moves over to the injector, readjust the valves.

Fig 7
NOTE:
It is up to the user to request converting the appliance to another gas type if so required by the local conditions at a licensed gas fitter/service.
FLAME SELECTION
Once the burners are adjusted correctly, the flames should be light blue, and the inner cone should be clearly visible. The size of flame depends on the position of the related burner control knob.
Fig 8
See fig.8 for various operating options (flame size selection); the burner should be set at a large flame during the initial phase of cooking to bring the food to boiling, and then the knob should be turned to the small flame position to maintain the cooking. It is also possible to adjust the flame size in smaller adjustments.
IMPORTANT
It is prohibited to adjust the flame in the range between the Burner OFF and Burner ON large flame positions.
Significant quantities of energy can be saved if the appliance is used correctly, parameters set correctly, and appropriate cookware is used. The savings can be as follows:
- Up to 60 per cent savings when proper pots are used.
- Up to 60 per cent savings when the unit is operated correctly and the suitable flame size is chosen.
- Significant energy savings when lids are used on pans.
It is a prerequisite for efficient and energy-saving operation of the hob that the burners are kept clean at all times (in particular the flame slots and injectors).
ENVIRONMENTAL PROTECTION

Waste electrical products should not be disposed of with household waste. Please recycle where facilities exist. Check with your Local Authority or retailer for recycling advice. This appliance is marked according to the European directive on Waste Electrical and Electronic Equipment (WEEE).
By ensuring this product is disposed of correctly, you will help prevent potential negative consequences for the environment and human health, which could otherwise be caused by inappropriate waste handling of this product. The symbol on the product indicates that this product may not be treated as household waste. Instead it shall be handed over to the applicable collection point for the recycling of electrical and electronic equipment. Disposal must be carried out in accordance with local environmental regulations for waste disposal.
For more detailed information about treatment, recovery and recycling of this product, please contact your local council, your household waste disposal service or the retailer where you purchased the product.
CE DECLARATIONS OF CONFORMITY
![]()
This appliance has been manufactured to the strictest standards and complies with all applicable legislation, Low Voltage Directive (LVD) and Electromagnetic Compatibility (EMC).
UKCA DECLARATIONS OF CONFORMITY

This appliance has been manufactured to the strictest standards and complies with all applicable legislation.
TECHNICAL FICHE
This appliance conforms to all current and applicable energy regulations. To view the Technical Fiche that supports the energy labelling data, please visit the product page on our website www.caple.co.uk .
WARRANTY
Your new appliance is covered by warranty. The warranty card is enclosed – if it is missing, you must provide the following information to your retailer in order to receive a replacement: date of purchase, model and serial number. Registration can also be completed online by visiting www.caple.co.uk.
Ensure you keep your warranty card safe, you may need to show it to Caple Service together with proof of purchase.
If you fail to show your warranty card you will incur all repair charges. Spare parts are only available from Caple Service and spare parts authorized centers.



























