SONY WI-C200 Wireless Stereo Headset

Wireless Stereo Headset
Do not install the appliance in a confined space, such as a bookcase or built-in cabinet.
Do not expose the batteries (battery pack or batteries installed) to excessive heat such as sunshine, fire or the like for a long time.
Do not subject the batteries to extreme low temperature conditions that may result in overheating and thermal runaway.
Do not dismantle, open or shred secondary cells or batteries.
Do not expose cells or batteries to heat or fire. Avoid storage in direct sunlight. In the event of a cell leaking, do not allow the liquid to come in contact with the skin or eyes. If contact has been made, wash the affected area with copious amounts of water and seek medical advice. Secondary cells and batteries need to be charged before use. Always refer to the manufacturer’s instructions or equipment manual for proper charging instructions. After extended periods of storage, it may be necessary to charge and discharge the cells or batteries several times to obtain maximum performance. Dispose of properly.
This equipment has been tested and found to comply with the limits set out in the EMC regulation using a connection cable shorter than 3 meters.
Do not use, store, or leave in a place subject to high amounts of humidity, dust, smoke, or steam, or in a place subject to high temperatures such as near a fire, a location subject to direct sunlight, in a car, etc.
High volume may affect your hearing.
Do not use the unit while walking, driving or cycling. Doing so may cause traffic accidents.
The unit is not waterproof. If water or foreign objects enter the unit, it may result in fire or electric shock. If water or a foreign object enters the unit, stop use immediately and consult your nearest Sony dealer. In particular, be careful in the following cases.
– When using the unit around a sink, etc.
Be careful that the unit does not fall into a sink or container filled with water.
– When using the unit in the rain or snow, or in humid locations
– When using the unit while you are sweaty If you touch the unit with wet hands, or put the unit in the pocket of a damp article of clothing, the unit may get wet.
For details on the effect of contact to the human body from the mobile phone or other wireless devices connected to the unit, refer to the instruction manual of the wireless device.
Install the earbuds firmly. Otherwise, they may detach and be left in your ears, resulting in injury or illness.
There is a danger that small parts may be swallowed. After use, store in a location out of the reach of small children.
Note on static electricity
Static electricity accumulated in the body may cause mild tingling in your ears. To reduce the effect, wear clothes made from natural materials, which suppress nthe generation of static electricity.
Precautions
On BLUETOOTH® communications
- Bluetooth wireless technology operates within a range of about 10 m.
The maximum communication distance may vary depending on the presence of obstacles (people, metal objects, walls, etc.) or the electromagnetic environment. - Bluetooth communications may not be possible, or noise or audio dropout may occur under the following conditions:
– When there is a person between the unit and the Bluetooth device.
This situation may be improved by positioning the Bluetooth device so that it faces the antenna of the unit.
– When there is an obstacle, such as a metal object or a wall, between the unit and the Bluetooth device.
– When a Wi-Fi device or microwave oven is in use, or microwaves are emitted near the unit.
– Compared to use indoors, use outdoors is subjected little to signal reflection from walls, floors, and ceilings, which results in audio dropout occurring more frequently than use indoors.
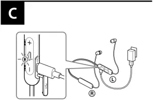
– The antenna is built into the unit as indicated by the dotted line in the illustration (Fig.
). The sensitivity of the Bluetooth communications can be improved by removing any obstacles betwe
- Bluetooth and Wi-Fi (IEEE802.11b/g/n) devices use the same frequency (2.4 GHz). When using the unit near a Wi-Fi device, electromagnetic interference may occur, resulting in noise, audio dropout, or the inability to connect. If this happens, try performing the following remedies:
– Establish a connection between the unit and the Bluetooth device when they are at least 10 m away from the Wi-Fi device.
– Turn off the Wi-Fi device when using the unit within 10 m of the Wi-Fidevice.
– Position the unit and the Bluetooth device as near as possible to each other. - Microwaves emitting from a Bluetooth device may affect the operation of electronic medical devices. Turn off this unit and other Bluetooth devices in the following locations, as it may cause an accident:
– in hospitals, near priority seating in trains, locations where inflammable gas is present, near automatic doors, or near fire alarms. - The audio playback on this unit may be delayed from that on the transmitting device, due to the characteristics of Bluetooth wireless technology. As a result, the sound may not be in sync with the image when viewing movies or playing games.
- This product emits radio waves when used in wireless mode. When used in wireless mode on an airplane, follow flight crew directions regarding permissible use of products in wireless mode.
- The unit supports security functions that comply with the Bluetooth standard as a means of ensuring security during communication using Bluetooth wireless technology. However, depending on the configured settings and other factors, this security may not be sufficient. Be careful when communicating using Bluetooth wireless technology.
- Sony shall assume no responsibility for any damages or loss resulting from information leaks that occur when using Bluetooth communications.
- Connection with all Bluetooth devices cannot be guaranteed.
– Bluetooth devices connected with the unit must comply with the Bluetooth standard prescribed by Bluetooth SIG, Inc., and must be certified as compliant.
– Even when a connected device complies with the Bluetooth standard, there may be cases where the characteristics or specifications of the Bluetooth device make it unable to connect, or result in different control methods, display, or operation.
– When using the unit to perform hands-free talking on the phone, noise may occur depending on the connected device or the communication environment. - Depending on the device to be connected, it may require some time to start communications.
If sound skips frequently during playback
- The situation may be improved by changing the wireless playback quality settings or fixing the wireless playback mode to SBC on the transmitting device. For details, refer to the operating instructions supplied with the transmitting device.
- When listening to music from a smartphone, the situation may be improved by closing unnecessary apps or restarting the smartphone.
On the use of calling apps for smartphones and computers
- This unit supports normal incoming calls only. Calling apps for smartphones and computers are not supported.
On charging the unit
- This unit can be charged using USB only. A computer with a USB port or a USB AC adaptor is required for charging.
- Be sure to use the supplied USB Type-C cable.
- When charging, the unit cannot be turned on and the Bluetooth function cannot be used.
- If the unit is not used for a long time, the rechargeable battery may become depleted quickly. The battery will be able to hold a proper charge after it is discharged and recharged several times. When storing the unit for a long time, charge the battery once every six months to prevent over-discharge.
- If the rechargeable battery becomes depleted extremely quickly, it should be replaced with a new one. Please contact your nearest Sony dealer for a battery replacement.
- Make sure to close the USB Type-C port cover securely after charging. Perspiration or water may cause damage (Fig.
).
If the unit does not operate properly
- Follow the procedure below to reset the unit (Fig.
).
Press the
and − buttons simultaneously while the unit is charging. The unit is reset. When the unit is reset, the pairing information in the unit is not deleted.
- If the problem persists even after the unit is reset, perform the procedure below to initialize the unit. Disconnect the USB Type-C cable and turn off the unit. Press and hold the
and − buttons simultaneously for at least 7 seconds. The indicator (blue) flashes 4 times, the unit is initialized, and the unit is reset to the factory settings. When the unit is initialized, all pairing information is deleted. - After the unit is initialized, it may not connect to your iPhone or computer. If this happens, delete the pairing information of the unit from the iPhone or computer, and then pair them again.
Notes on wearing the unit
- After use, remove the headphones slowly.
- Because the earbuds achieve a tight seal in the ears, forcibly pressing them in or quickly pulling them out can result in eardrum damage. When putting the earbuds into your ears, the speaker diaphragm may produce a click sound. This is not a malfunction.
Other notes
- Do not subject the unit to excessive shock.
- The Bluetooth function may not work with a mobile phone, depending on the signal conditions and the surrounding environment.
- If you experience discomfort while using the unit, stop using it immediately.
- The earbuds may be damaged or deteriorate with long-term use and storage.
- If the earbuds become dirty, remove them from the unit and gently wash them by hand using a neutral detergent. After cleaning, thoroughly wipe off any moisture.
Cleaning the unit
- When the outside of the unit is dirty, clean it by wiping with a soft dry cloth. If the unit is particularly dirty, soak a cloth in a dilute solution of neutral detergent, and wring it well before wiping. Do not use solvents such as thinner, benzene, or alcohol, as they may damage the surface.
- If you have any questions or problems concerning this unit that are not covered in this manual, please consult your nearest Sony dealer.
| Replacement parts: hybrid silicone rubber earbuds Please consult your nearest Sony dealer for information about replacement parts. |
Location of the serial number label
See Fig. ![]()

Specifications
Headset
| Power source | DC 3.7 V: Built-in lithium-ion rechargeable battery DC 5 V: When charged using USB |
| Operating temperature | 0 °C to 40 °C |
| Rated power consumption | 0.5 W |
| Usage hours | When connecting via the Bluetooth device Music playback time: Max. 15 hours Communication time: Max. 15 hours Standby time: Max. 200 hours Note: Usage hours may be shorter depending on the Codec and the conditions of use |
| Charging time | Approx. 3 hours (About 60 minutes of music playback is possible after 10 minutes charging.) Note: Charging and usage hours may be different depending on the conditions of use. |
| Charging temperature | 5 °C to 35 °C |
| Mass | Approx. 19 g |
| Included items | Wireless Stereo Headset (1) USB Type-C™ cable (USB-A to USB-C™) (approx. 20 cm) (1) Hybrid silicone rubber earbuds (S (2 lines) (2), M (3 lines) (attached to the unit at the factory) (2), L (4 lines) (2)) or (S (orange) (2), M (green) (attached to the unit at the factory) (2), L (light blue) (2)) |
| Communication system | Bluetooth Specification version 5.0 |
| Output | Bluetooth Specification Power Class 2 |
| Maximum communication range | Line of sight approx. 10 m1) |
| Frequency band | 2.4 GHz band (2.4000 GHz – 2.4835 GHz) |
| Compatible Bluetooth profiles2) | A2DP / AVRCP / HFP / HSP |
| Supported Codec3) | SBC / AAC |
| Transmission range (A2DP) | 20 Hz – 20,000 Hz (Sampling frequency 44.1 kHz) |
- The actual range will vary depending on factors such as obstacles between devices, magnetic fields around a microwave oven, static electricity, reception sensitivity, antenna’s performance, operating system, software application, etc.
- Bluetooth standard profiles indicate the purpose of Bluetooth communications between devices.
- Codec: Audio signal compression and conversion format
Design and specifications are subject to change without notice.
System requirements for battery charge using USB
USB AC adaptor
A commercially available USB AC adaptor capable of supplying an output current of 0.5 A or more
Trademarks
- iPhone and iPod touch are trademarks of Apple Inc., registered in the U.S. and other countries.
- Android is a trademark of Google LLC.
- The Bluetooth® word mark and logos are registered trademarks owned by the Bluetooth SIG, Inc. and any use of such marks by Sony Corporation is under license.
- USB Type-C™ and USB-C™ are trademarks of USB Implementers Forum.
- Other trademarks and trade names are those of their respective owners.
Notes on the License
This product contains software that Sony uses under a licensing agreement with the owner of its copyright. We are obligated to announce the contents of the agreement to customers under requirement by the owner of copyright for the software. Please access the following URL and read the contents of the license.http://rd1.sony.net/help/mdr/sl/19/























