GRANDSTREAM GDS3702 Intercom Access System Installation Guide

PRECAUTIONS
- Do not attempt to disassemble or modify the device.
- Strictly follow the requirement of power source.
- Do not expose this device to temperatures out the range of -40 °C to 70 °C for both operating and storage.
- If the temperature is under -40 degree, the device will take about 3 minutes to heat up itself before booting and operating.
- Do not expose this device to environments outside of the following humidity range: 10-90% RH (non-condensing).
- Please strictly follow the instruction to install or hire professionals to install properly.
PACKAGE CONTENTS

MOUNTING GDS3702
On-Wall (Surface) Mounting
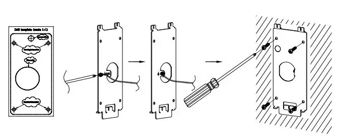
Step 1:
Refer to the “drilling template” to drill holes at targeted place on wall then mount the installation bracket using the four screws and anchors provided (screwdriver not provided). Connect and tighten “Ground” wire (if available) to the bracket ground marked with printed icon .

Step 2:
Pull Cat5e or Cat6 cable (not provided) through the rubber gasket selecting the correct size and the back cover panel piece, please refer to GDS3702 WIRING TABLE at the end of QIG for Pin connections.

Note:
Needle nose plier highly recommended and 2.5mm flat screwdriver required (not provided). Stripping outer plastic shield of the cable in less than 2 inches suggested. Do NOT leave bare metal outside the socket by over stripping the inner plastic shield of the wires.
Step 3:
Make sure the “Back Cover Frame” is in place, the wired back cover panel is good. Flush the back cover panel piece with the whole back surface of device, tighten it using the screws provided.

Step 4:
Take out the two preinstalled anti-tamper screws using the hex key provided. Carefully align the GDS3702 to the metal bracket on wall, press and pull the GDS3702 down to the right position.

Step 5:
Install the two anti-tamper screws back using the hex key provided (do NOT over tighten the screws). Cover the two screw holes on the bottom of “Back Cover Frame” piece using the two silicon plugs provided. Final check and finish the installation.

In-Wall (Embedded) Mounting
Please refer to the “In-Wall (Embedded) Mooting Kit”, which can be purchased separately from Grand stream.
CONNECTING THE GDS3702
Refer to the illustration below and follow the instructions on the next page.
POWER OFF GDS3702 when connecting wires or inserting/removing the back cover panel piece!
Option A:
RJ45 Ethernet Cable to (Class 3) Power over Ethernet (PoE) Switch.

Option A
Plug an RJ45 Ethernet cable into the (Class 3) Power over Ethernet(PoE) switch.
Option B
Step 1:
Select an external DC12V, minimum 1A power source (not provided). Wire correctly the “+,-” cable of the power into the “12V, GND” connector of the GDS3702 socket (refer to the previous mounting page for instruction). Connect the power source.
Step 2:
Plug an RJ45 Ethernet cable into a network switch/hub or router.
Note:
Please refer to “Step 2” of “MOUNTING GDS3702” and “GDS3702 WIRING TABLE” at the end of QIG for all the wiring and connection illustration and instructions.
GDS3702 CONFIGURATION
The GDS3702 is by default configured to obtain the IP address from DHCP server where the unit is located.
In order to know which IP address is assigned to your GDS3702, please use GS_Search tool as illustrated in following steps.
Note:
If no DHCP server is available, the GDS3702 default IP address (after 5 minutes DHCP timeout) is 192.168.1.168.
Step 1: Download and install GS_Search tool:
http://www.grandstream.com/support/tools
Step 2: Run the Grand stream GS_Search tool on a computer connected to same network/ DHCP server.
Step 3: Click on
button to start device detection.
Step 4: The detected devices will appear in the output field as below.

Step 5: Open the web browser and type the displayed IP address of GDS3702 with leading https:// to access the web GUI. (For security reasons, the default web access of GDS3702 is using HTTPS and port 443.)
Step 6: Enter username and password to login. (The default administrator username is “admin” and the default random password can be found at the sticker on the GDS3702).
Note: For security reasons, make sure to change the default admin password from System Settings > User Management.

Step 7: After login into the webGUI, click the left side menu in the web interface for more detailed and advanced configuration.
The GNU GPL license terms are incorporated into the device firmware and can be accessed via the Web user interface of the device at my_device_ip/gpl_license. It can also be accessed here: http://www.grandstream.com/legal/open-source-software To obtain a CD with GPL source code information please submit a written request to: [email protected]
GDS3702 WIRING TABLE

For more details regarding GDS3702 wiring, please refer to User Manual.

Note:
- Power PoE_SP1, PoE_SP2 with DC, the voltage range is 48V~57V, no polarity.
- Power with PoE the cable wiring:
• PoE_SP1, brown and brown/white binding
• PoE_SP2, blue and blue/white binding - DC Power could be correctly sourced from qualified PoE Injector.
This product is covered by one or more of the U.S. patents (and any foreign patent counterparts thereto) identified at www.cmspatents.com.
Grandstream Networks, Inc.
126 Brookline Ave, 3rd Floor
Boston, MA 02215. USA
Tel : +1 (617) 566 – 9300
Fax: +1 (617) 249 – 1987
www.grandstream.com
For Warranty and RMA information, please visit www.grandstream.com


















