Makita UA002G Cordless Telescopic Pole Saw
SPECIFICATIONS
| Model: | UA002G | |
| Overall length (without guide bar and battery) | 2,516 – 3,748 mm | |
| Rated voltage | D.C. 36 V – 40 V max | |
| Net weight | *1 | 7.8 kg |
| *2 | 7.8 – 8.4 kg | |
| Standard guide bar length | 250 mm | |
| Recommended guide bar length | with 90PX | 250 – 300 mm |
| with 91PX | 250 – 300 mm | |
| Applicable saw chain type (refer to the table below) | 90PX 91PX | |
| Standard sprocket | Number of teeth | 6 |
| Pitch | 3/8″ | |
| Chain speed | 0 – 20 m/s (0 – 1,200 m/min) | |
| Chain oil tank volume | 160 cm3 | |
| Protection degree | IPX4 | |
- Due to our continuing program of research and development, the specifications herein are subject to change without notice.
- Specifications may differ from country to country.
* 1: Weight, with largest battery cartridge and empty oil tank, and without guide bar, chain, and shoulder harness, according to EN ISO11680-1.
* 2: The lightest and heaviest combination of weight, according to EPTA-Procedure 01/2014. The weight may differ depending on the attachment(s), including the battery cartridge.
Applicable battery cartridge and charger
| Battery cartridge | BL4020 / BL4025 / BL4040* / BL4050F* * : Recommended battery |
| Charger | DC40RA / DC40RB / DC40RC |
Some of the battery cartridges and chargers listed above may not be available depending on your region of residence.
WARNING: Only use the battery cartridges and chargers listed above. Use of any other battery cartridges and chargers may cause injury and/or fire.
Recommended cord-connected power source
| Portable power pack | PDC01 / PDC1200 |
- The cord-connected power source(s) listed above may not be available depending on your region of residence.
- Before using the cord-connected power source, read the instructions and cautionary markings on them.
Saw chain, guide bar, and sprocket combination
| Saw chain type | 90PX | |
| Number of drive links | 40 | |
| Guide bar | Guide bar length | 250 mm |
| Cutting length | 240 mm | |
| Pitch | 3/8″ | |
| Gauge | 1.1 mm | |
| Type | Sprocket nose bar | |
| Sprocket | Number of teeth | 6 |
| Pitch | 3/8″ | |
| Saw chain type | 91PX | |
| Number of drive links | 40 | |
| Guide bar | Guide bar length | 250 mm |
| Cutting length | 240 mm | |
| Pitch | 3/8″ | |
| Gauge | 1.3 mm | |
| Type | Sprocket nose bar | |
| Sprocket | Number of teeth | 6 |
| Pitch | 3/8″ | |
WARNING: Use appropriate combination of the guide bar and saw chain. Otherwise personal injury may result.
Symbols
The followings show the symbols which may be used for the equipment. Be sure that you understand their meaning before use.
Read the instruction manual.
Wear a helmet, goggles and ear protection.
Wear protective gloves.
Wear sturdy boots with nonslip soles. Steel-toed safety boots are recommended.
Beware of electrical lines, risk of electrical shock.
Keep distance at least 15 m.
Maximum permissible cut length
The direction of chain travel
Chain oil tank
Hot surfaces – Burns to fingers or hands.
Only EU countries
Due to the presence of hazardous components in the equipment, waste electrical and electronic equipment, accumulators and batteries may have a negative impact on the environment and human health. Do not dispose of electrical and electronic appliances or batteries with household waste! In accordance with the European Directive on waste electrical and electronic equipment and on accumulators and batteries and waste accumulators and batteries, as well as their adaptation to national law, waste electrical equipment, batteries, and accumulators should be stored separately and delivered to a separate collection point for municipal waste, operating in accordance with the regulations on environmental protection. This is indicated by the symbol of the crossed-out wheeled bin placed on the equipment.
Guaranteed sound power level according to EU Outdoor Noise Directive.
Sound power level according to Australia NSW Noise Control Regulation
Intended use
The tool is intended for pruning branches and limbs.
SAFETY WARNINGS
General power tool safety warnings
WARNING: Read all safety warnings, instructions, illustrations, and specifications provided with this power tool. Failure to follow all instructions listed below may result in electric shock, fire and/or serious injury.
Save all warnings and instructions for future reference.
The term “power tool” in the warnings refers to your mains-operated (corded) power tool or battery-operated (cordless) power tool.
Work area safety
- Keep the work area clean and well-lit. Cluttered or dark areas invite accidents.
- Do not operate power tools in explosive atmospheres, such as in the presence of flammable liquids, gases, or dust. Power tools create sparks that may ignite dust or fumes.
- Keep children and bystanders away while operating a power tool. Distractions can cause you to lose control.
Electrical safety
- Power tool plugs must match the outlet. Never modify the plug in any way. Do not use any adapter plugs with earthed (grounded) power tools. Unmodified plugs and matching outlets will reduce risk of electric shock.
- Avoid body contact with earthed or grounded surfaces, such as pipes, radiators, ranges, and refrigerators. There is an increased risk of electrical shock if your body is earthed or grounded.
- Do not expose power tools to rain or wet conditions. Water entering a power tool will increase the risk of electric shock.
- Do not abuse the cord. Never use the cord for carrying, pulling or unplugging the power tool. Keep cord away from heat, oil, sharp edges or moving parts. Damaged or entangled cords increase the risk of electric shock.
- when operating a power tool outdoors, use an extension cord suitable for outdoor use. Use of a cord suitable for outdoor use reduces the risk of electric shock.
- If operating a power tool in a damp location is unavoidable, use a residual current device (RCD) protected supply. Use of an RCD reduces the risk of electric shock.
- Power tools can produce electromagnetic fields (EMF) that are not harmful to the user. However, users of pacemakers and other similar medical devices should contact the maker of their device and/or doctor for advice before operating this power tool.
Personal safety
- Stay alert, watch what you are doing and use common sense when operating a power tool. Do not use a power tool while you are tired or under the influence of drugs, alcohol or medication. A moment of inattention while operating power tools may result in serious personal injury.
- Use personal protective equipment. Always wear eye protection. Protective equipment such as a dust mask, non-skid safety shoes, hard hat or hearing protection used for appropriate conditions will reduce personal injuries.
- Prevent unintentional starting. Ensure the switch is in the off-position before connecting to power source and/or battery pack, picking up or carrying the tool. Carrying power tools with your finger on the switch or energizing power tools that have the switch on invites accidents.
- Remove any adjusting key or wrench before turning the power tool on. A wrench or a key left attached to a rotating part of the power tool may result in personal injury.
- Do not overreach. Keep proper footing and balance at all times. This enables better control of the power tool in unexpected situations.
- Dress properly. Do not wear loose clothing or jewellery. Keep your hair and clothing away from moving parts. Loose clothes, jewelry or long hair can be caught in moving parts.
- If devices are provided for the connection of dust extraction and collection facilities, ensure these are connected and properly used. The use of dust collection can reduce dust-related hazards.
- Do not let familiarity gained from frequent use of tools allow you to become complacent and ignore tool safety principles. A careless action can cause severe injury within a fraction of a second.
- Always wear protective goggles to protect your eyes from injury when using power tools. The goggles must comply with ANSI Z87.1 in the USA, EN 166 in Europe, or AS/NZS 1336 in Australia/New Zealand. In Australia/New Zealand, it is legally required to wear a face shield to protect your face, too.It is an employer’s responsibility to enforce the use of appropriate safety protective equipment by the tool operators and by other persons in the immediate working area.

Power tool use and care
- Do not force the power tool. Use the correct power tool for your application. The correct power tool will do the job better and safer at the rate for which it was designed.
- Do not use the power tool if the switch does not turn it on and off. Any power tool that cannot be controlled with the switch is dangerous and must be repaired.
- Disconnect the plug from the power source and/or remove the battery pack, if detachable, from the power tool before making any adjustments, changing accessories, or storing power tools. Such preventive safety measures reduce the risk of starting the power tool accidentally.
- Store idle power tools out of the reach of children and do not allow persons unfamiliar with the power tool or these instructions to operate the power tool. Power tools are dangerous in the hands of untrained users.
- Maintain power tools and accessories. Check for misalignment or binding of moving parts, breakage of parts and any other condition that may affect the power tool’s operation. If damaged, have the power tool repaired before use. Many accidents are caused by poorly maintained power tools.
- Keep cutting tools sharp and clean. Properly maintained cutting tools with sharp cutting edges are less likely to bind and are easier to control.
- Use the power tool, accessories and tool bits etc. in accordance with these instructions, tak-ing into account the working conditions and the work to be performed. Use of the power tool for operations different from those intended could result in a hazardous situation.
- Keep handles and grasping surfaces dry, clean and free from oil and grease. Slippery handles and grasping surfaces do not allow for safe handling and control of the tool in unexpected situations.
- When using the tool, do not wear cloth work gloves that may be entangled. The entanglement of cloth work gloves in the moving parts may result in personal injury.
Battery tool use and care
- Recharge only with the charger specified by the manufacturer. A charger that is suitable for one type of battery pack may create a risk of fire when used with another battery pack.
- Use power tools only with specifically designed battery packs. Use of any other battery packs may create a risk of injury and fire.
- When battery pack is not in use, keep it away from other metal objects, like paper clips, coins, keys, nails, screws or other small metal objects, that can make a connection from one terminal to another. Shorting the battery terminals together may cause burns or a fire.
- Under abusive conditions, liquid may be ejected from the battery; avoid contact. If contact accidentally occurs, flush with water. If liquid contacts eyes, additionally seek medical help. Liquid ejected from the battery may cause irritation or burns.
- Do not use a battery pack or tool that is damaged or modified. Damaged or modified batteries may exhibit unpredictable behavior resulting in fire, explosion or risk of injury.
- Do not expose a battery pack or tool to fire or excessive temperature. Exposure to fire or temperatures above 130 °C may cause an explosion.
- Follow all charging instructions and do not charge the battery pack or tool outside the temperature range specified in the instructions. Charging improperly or at temperatures outside the specified range may damage the battery and increase the risk of fire.
Service
- Have your power tool serviced by a qualified repair person using only identical replacement parts. This will ensure that the safety of the power tool is maintained.
- Never service damaged battery packs. Service of battery packs should only be performed by the manufacturer or authorized service providers.
- Follow instructions for lubricating and changing accessories.
Cordless Telescopic Pole Saw Safety Warnings
General precautions
- Before starting the tool, read this instruction manual to become familiar with the handling of the tool.
- Do not lend the tool to a person with insufficient experience or knowledge regarding handling of the tool.
- When lending the tool, always attach this instruction manual.
- Do not allow children or young persons under 18 years old to use the tool. Keep them away from the tool.
- Handle the tool with the utmost care and attention.
- Never use the tool after consuming alcohol or drugs, or if feeling tired or ill.
- Never attempt to modify the tool.
- Do not use the tool in bad weather conditions, especially when there is a risk of lightning. This decreases the risk of being struck by lightning.
- National regulations may restrict of the use of the tool. Follow the regulations about handling of the tool in your country.
Personal protective equipment
- Wear safety helmet, protective goggles and protective gloves to protect yourself from flying debris or falling objects.
- Wear ear protection such as ear muffs to prevent hearing loss.
- Wear proper clothing and shoes for safe operation, such as a work overall and sturdy, non-slip shoes. Do not wear loose clothing or jewelry. Loose clothes, jewelry or long hair can be caught in moving parts.
- When handling the saw chain or adjusting the chain tension, wear protective gloves. Saw chain can cut bare hands severely.
Work area safety
- Keep the tool at least 15 m away from electric lines and communication cables (including any branches contacting them). Touching or approaching high-voltage lines with the tool can result in death or serious injury. Watch power lines and electrical fences around the work area before starting operation.
- Operate the tool under good visibility and daylight conditions only. Do not operate the tool in darkness or fog.
- During operation, never stand on an unstable or slippery surface or a steep slope. During the cold season, beware of ice and snow and always ensure secure footing.
- During operation, keep bystanders or animals at least 15 m away from the tool. Stop the tool as soon as someone approaches.
- When working with two or more people, keep a distance of at least 15 m or more between each other, and put a supervisor.
- Before operation, examine the work area for wire fences, walls, or other solid objects. They can damage the saw chain.
Preparation
- Before assembling or adjusting the tool, switch off the tool and remove the battery cartridge.
- Before handling the saw chain or adjusting the chain tension, wear protective gloves.
- Before starting the tool, inspect the tool for damages, loose screws/nuts or improper assembly. Sharpen blunt saw chain. If the saw chain is bent or damaged, replace it. Check all control levers and switches for easy action. Clean and dry the grips.
- Never attempt to start the tool if the tool is damaged or not fully assembled. Otherwise serious injury may result.
- Adjust the shoulder harness to suit the operator’s body size.
- Adjust the chain tension properly. Refill the chain oil, if necessary.
Starting the tool
- Wear the personal protective equipment before starting the tool.
- Before starting the tool, make sure that there is no person or animal in the work area.
- When installing the battery cartridge, keep the saw chain and guide bar clear of your body and another object, including the ground. The saw chain may move when starting and may cause serious injury or damage to the saw chain and/or property.
- Place the tool on firm ground. Maintain good balance and secure footing.
Operation
- In the event of an emergency, switch off the tool immediately.
- If you notice any unusual condition (e.g. noise, vibration) during operation, switch off the tool. Do not use the tool until the cause is recognized and solved.
- The saw chain continues to move for a short period after switching off the tool. Don’t rush to contact the saw chain.
- During operation, use the shoulder harness. Keep the tool on your right side firmly.
- Hold the front grip with your left hand and the rear grip with your right hand, no matter you are a right-hander or left-hander. Wrap your fingers and thumbs around the grips.
- Hold the tool by insulated gripping surfaces only, because the saw chain may contact hidden wiring. A saw chain contacting a “live” wire may make exposed metal parts of the extend-ed-reach pruner “live” and could give the operator an electric shock.
- Never attempt to operate the tool with one hand. Loss of control may result in serious or fatal injury. To reduce the risk of injury, keep your hands and feet away from the saw chain.
- Do not overreach. Keep proper footing and balance at all times. Watch for hidden obstacles such as tree stumps, roots and ditches to avoid stumbling. Clear fallen branches and other objects away.
- Never work on a ladder or tree to avoid loss of control.
- If the tool gets heavy impact or fall, check the condition before continuing work. If there is any damage or doubt, ask Makita’s authorized service center for the inspection and repair.
- Do not touch the head of the tool. The head of the tool becomes hot during operation.
- Take a rest to prevent loss of control caused by fatigue. We recommend taking a 10 to 20- minute rest every hour.
- When you leave the tool, even if it is a short time, always switch off the tool and remove the battery cartridge. The running and unattended tool may be used by an unauthorized person and cause a serious accident.
- When operating the tool, do not raise your right hand above your shoulder height.
- During operation, never hit the saw chain against hard obstacles such stones and nails. Take particular care when cutting branches next to walls, wire fences or the like.
- If branches get caught in the tool, always stop the tool and remove the battery cartridge. Otherwise, an unintentional start may cause serious injury.
- If the saw chain becomes clogged, always switch off the tool and remove the battery cartridge before cleaning.
- Accelerating the tool with the saw chain blocked increases the load and will damage the tool.
- Before cutting limbs, keep an escape area away from the falling limb. First, clear obstructs such as limbs and branches from the work area. Move all tools and goods from the escape area to another safe place.
- Before cutting branches and limbs, check the falling direction of them, considering the condition of branches and limbs, adjoining trees, wind direction, etc. Pay full attention to the falling direction, and the rebound of the branch, which hit the ground.
- Never hold the tool at an angle of more than 60°. Otherwise, falling objects can hit the operator and cause serious injury. Never stand underneath the limb being cut.
- Pay attention to broken or bent branches. They may bounce back in cutting, causing unexpected injury.
- Before cutting limbs that you intend to cut, remove branches and leaves around them. Otherwise, the saw chain may be caught by them.
- To prevent the saw chain from being caught in the kerf, do not release the lever before pulling the saw chain out of the kerf.
- If the saw chain is bound in the kerf, immediately stop the tool, carefully move the branch to open the kerf and release the saw chain. Avoid kickback (rotational reactive force towards the operator).
- To prevent kickback, never use the guide bar nose or perform a penetrating cut. Always beware of the position of the guide bar nose.
- Check the chain tension frequently. When checking or adjusting the chain tension, switch off the tool and remove the battery cartridge. If the tension is loose, tighten it.
- When you use the tool on muddy ground, wet slope, or slippery place, pay attention to your footing.
- Do not submerge the tool into a puddle.
- Do not leave the tool unattended outdoors in the rain.
Transport
- Before transporting the tool, switch off the tool and remove the battery cartridge. Always fit the guide bar cover during transportation.
- When transporting the tool, carry it in a horizontal position by holding the grip.
Maintenance
- Have your equipment serviced by our authorized service center, always using only genuine replacement parts. Incorrect repair and poor maintenance can shorten the life of the tool and increase the risk of accidents.
- Before doing any maintenance or repair work or cleaning the tool, always switch off the tool and remove the battery cartridge. Wait until the tool cools down.
- Always wear protective gloves when handling the saw chain.
- After each use, tighten all screws and nuts, except for adjustment screws.
- Keep the saw chain sharp. If the saw chain has become blunt and cutting performance is poor, ask Makita authorized service center to sharpen it or replace it with new one.
- Do not attempt any maintenance or repair not described in this instruction manual. Ask Makita authorized service center for such work.
- Always use Makita genuine spare parts and accessories only. Using parts or accessories supplied by a third party may result in the tool breakdown, property damage and/or serious injury.
Storage
- Before storing the tool, perform full cleaning and maintenance. Fit the guide bar cover. Remove the battery cartridge. Drain the chain oil after the tool cools down.
- Store the tool in a dry and high or locked loca-tion out of reach of children.
- Do not prop the tool against something, such as a wall. Otherwise it may fall suddenly and cause an injury.
- When storing the tool, avoid direct sunlight and rain, and store it in a place where it does not get hot or humid.
Electrical and battery safety
- Do not dispose of the battery(ies) in a fire. The cell may explode. Check with local codes for possible special disposal instructions.
- Do not open or mutilate the battery(ies). Released electrolyte is corrosive and may cause damage to the eyes or skin. It may be toxic if swallowed.
- Do not charge battery in rain, or in wet locations.
- Do not charge the battery outdoors.
- Do not handle charger, including charger plug, and charger terminals with wet hands.
- Avoid a dangerous environment. Don’t use the tool in dump or wet locations or expose it to rain. Water entering the tool will increase the risk of electric shock.
- Do not replace the battery in the rain.
SAVE THESE INSTRUCTIONS.
WARNING: DO NOT let comfort or familiarity with the product (gained from repeated use) replace strict adherence to safety rules for the subject product. MISUSE or failure to follow the safety rules stated in this instruction manual may cause serious personal injury.
Important safety instructions for battery cartridge
- Before using battery cartridge, read all instructions and cautionary markings on (1) battery charger, (2) battery, and (3) product using battery.
- Do not disassemble or tamper the battery cartridge. It may result in a fire, excessive heat, or explosion.
- If operating time has become excessively shorter, stop operating immediately. It may result in a risk of overheating, possible burns and even an explosion.
- If electrolyte gets into your eyes, rinse them out with clear water and seek medical attention right away. It may result in loss of your eyesight.
- Do not short the battery cartridge:
- Do not touch the terminals with any conductive material.
- Avoid storing battery cartridges in a container with other metal objects such as nails, coins, etc.
- Do not expose battery cartridge to water or rain.
A battery short can cause a large current flow, overheating, possible burns and even a breakdown.
- Do not store and use the tool and battery cartridge in locations where the temperature may reach or exceed 50 °C (122 °F).
- Do not incinerate the battery cartridge even if it is severely damaged or is completely worn out. The battery cartridge can explode in a fire.
- Do not nail, cut, crush, throw, drop the battery cartridge, or hit a hard object to the battery cartridge. Such conduct may result in a fire, excessive heat, or explosion.
- Do not use a damaged battery.
- The contained lithium-ion batteries are subject to the Dangerous Goods Legislation requirements. For commercial transports e.g. by third parties, and forwarding agents, the special requirement on packaging and labeling must be observed. For the preparation of the item being shipped, consulting an expert for hazardous material is required. Please also observe possibly more detailed national regulations. Tape or mask off open contacts and pack up the battery in such a manner that it cannot move around in the packaging.
- When disposing the battery cartridge, remove it from the tool and dispose of it in a safe place. Follow your local regulations relating to the disposal of battery.
- Use the batteries only with the products specified by Makita. Installing the batteries to non-compliant products may result in a fire, excessive heat, explosion, or leak of electrolyte.
- If the tool is not used for a long period of time, the battery must be removed from the tool.
- During and after use, the battery cartridge may take on heat which can cause burns or low-temperature burns. Pay attention to the handling of hot battery cartridges.
- Do not touch the terminal of the tool imme-diately after use as it may get hot enough to cause burns.
- Do not allow chips, dust, or soil stuck into the terminals, holes, and grooves of the battery cartridge. It may cause heating, catching fire, burst and malfunction of the tool or battery cartridge, resulting in burns or personal injury.
- Unless the tool supports the use of near high-voltage electrical power lines, do not use the battery cartridge near high-voltage electrical power lines. It may result in a malfunction or breakdown of the tool or battery cartridge.
- Keep the battery away from children.
SAVE THESE INSTRUCTIONS.
CAUTION: Only use genuine Makita batteries. Use of non-genuine Makita batteries, or batteries that have been altered, may result in the battery bursting causing fires, personal injury and damage. It will also void the Makita warranty for the Makita tool and charger.
Tips for maintaining maximum battery life
- Charge the battery cartridge before completely discharged. Always stop tool operation and charge the battery cartridge when you notice less tool power.
- Never recharge a fully charged battery cartridge. Overcharging shortens the battery service life.
- Charge the battery cartridge with room temperature at 10 °C – 40 °C (50 °F – 104 °F). Let a hot battery cartridge cools down before charging it.
- When not using the battery cartridge, remove it from the tool or the charger.
- Charge the battery cartridge if you do not use it for a long period (more than six months).
PARTS DESCRIPTION Fig.1
| 1 | Main power lamp | 2 | Main power switch | 3 | Hanger |
| 4 | Lock-off lever | 5 | Battery cartridge | 6 | Switch trigger |
| 7 | Rear grip | 8 | Saw chain | 9 | Guide bar |
| 10 | Oil tank cap | 11 | Lock ring | 12 | Retaining nut |
| 13 | Chain adjusting screw | 14 | Guide bar cover | 15 | Front grip |
FUNCTIONAL DESCRIPTION
CAUTION: Always be sure that the tool is switched off and the battery cartridge is removed before adjusting or checking function on the tool.
Installing or removing the battery cartridge
CAUTION: Always switch off the tool before installing or removing of the battery cartridge.
CAUTION: Hold the tool and the battery cartridge firmly when installing or removing the battery cartridge. Failure to hold the tool and the battery cartridge firmly may cause them to slip off your hands and result in damage to the tool and battery cartridge and a personal injury.
Fig.2: 1. Red indicator 2. Button 3. Battery cartridge
To remove the battery cartridge, slide it from the tool while sliding the button on the front of the cartridge.
To install the battery cartridge, align the tongue on the battery cartridge with the groove in the housing and slip it into place. Insert it all the way until it locks in place with a little click. If you can see the red indicator as shown in the figure, it is not locked completely.
CAUTION: Always install the battery cartridge fully until the red indicator cannot be seen. If not, it may accidentally fall out of the tool, causing injury to you or someone around you.
CAUTION: Do not install the battery cartridge forcibly. If the cartridge does not slide in easily, it is not being inserted correctly.
Indicating the remaining battery capacity
Press the check button on the battery cartridge to indicate the remaining battery capacity. The indicator lamps light up for a few seconds.
Fig.3: 1. Indicator lamps 2. Check button

NOTE: Depending on the conditions of use and the ambient temperature, the indication may differ slightly from the actual capacity.
NOTE: The first (far left) indicator lamp will blink when the battery protection system works.
Tool/battery protection system
The tool is equipped with a tool/battery protection system. This system automatically cuts off power to the motor to extend tool and battery life. The tool will automatically stop during operation if the tool or battery is placed under one of the following conditions:
Overload protection
When the battery is operated in a manner that causes it to draw an abnormally high current, the tool automatically stops and the main power lamp blinks in green. In this situation, turn the tool off and stop the application that caused the tool to become overloaded. Then turn the tool on to restart.
Overheat protection
When the tool or battery is overheated, the tool stops automatically and the main power lamp lights up in red. In this case, let the tool and battery cool before turning the tool on again.
NOTE: In the high-temperature environment, the over-heat protection is likely to work and the tool stops automatically.
Over-discharge protection
When the battery capacity is not enough, the tool stops automatically and the main power lamp blinks in red. In this case, remove the battery from the tool and charge the battery.
Protections against other causes
A protection system is also designed for other causes that could damage the tool and allows the tool to stop automatically. Take all the following steps to clear the causes, when the tool has been brought to a temporary halt or stop in operation.
- Turn the tool off, and then turn it on again to restart.
- Charge the battery(ies) or replace it/them with recharged battery(ies).
- Let the machine and battery(ies) cool down.
If no improvement can be found by restoring the protection system, then contact your local Makita Service Center.
Main power switch
WARNING: Always turn off the main power switch when not in use.
To turn on the tool, press the main power switch. To turn off, press the main power switch again.
Fig.4: 1. Main power lamp 2. Main power switch
NOTE: The main power lamp blinks in green when you turn on the main power switch while holding down the lock-off lever and pulling the switch trigger. In this case, release the switch trigger and the lock-off lever, and then turn on the main power switch.
NOTE: This tool employs the auto power-off function. To avoid unintentional start up, the main power switch will automatically shut down when the switch trigger is not pulled for a certain period after the main power switch is turned on.
Switch action
WARNING: For your safety, this tool is equipped with lock-off lever which prevents the tool from unintended starting. NEVER use the tool if it runs when you simply pull the switch trigger without pressing the lock-off lever. Return the tool to our authorized service center for proper repairs BEFORE further usage.
WARNING: NEVER tape down or defeat purpose and function of the lock-off lever.
CAUTION: Before installing the battery cartridge into the tool, always check to see that the switch trigger actuates properly and returns to the “OFF” position when released.
NOTICE: Do not pull the switch trigger hard without pressing the lock-off lever. This can cause switch breakage. To prevent the switch trigger from being accidentally pulled, a lock-off lever is provided. To start the tool, depress the lock-off lever and pull the switch trigger. The tool speed increases by increasing pressure on the switch trigger. Release the switch trigger to stop.
Fig.5: 1. Switch trigger 2. Lock-off lever
Adjusting the pipe length
To extend or shorten the pipe, loosen the lock ring by turning the lock ring counterclockwise, then adjust the length of the pipe, and then tighten the ring by turning the lock ring clockwise.
Fig.6: 1. Lock ring 2. Pipe
ASSEMBLY
CAUTION: Always be sure that the tool is switched off and the battery cartridge is removed before carrying out any work on the tool.
CAUTION: Do not touch the saw chain with bare hands. Always wear gloves when handling the saw chain.
Assembling the tool
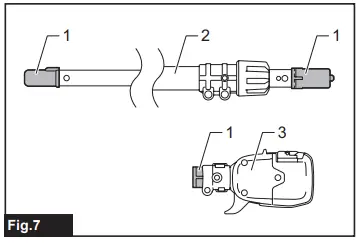
- Remove 2 caps from the pipe, and 1 cap from the head of the tool.
Fig.7: 1. Cap 2. Pipe 3. Head of the tool
- Loosen 3 bolts, and then remove 1 bolt using the hex wrench.
Fig.8: 1. Bolt
- Insert the pipe into the tool body all the way, and then align the hole on the pipe with the hole on the tool body.
Fig.9: 1. Hole 2. Pipe
- Tighten 3 bolts using the hex wrench.
Fig.10: 1. Bolt
- Loosen 2 bolts, and then remove 1 bolt.
Fig.11: 1. Bolt
- Loosen the lock ring by turning the lock ring counterclockwise, then extend the pipe approximately 10 cm or more, and then tighten the lock ring by turning the lock ring clockwise.
Fig.12: 1. Lock ring 2. 10 cm or more 3. Pipe
- Insert the pipe into the head of the tool all the way, and then align the hole on the pipe with the hole on the head of the tool.
Fig.13: 1. Hole 2. Pipe
- Tighten 2 bolts using the hex wrench.
Fig.14: 1. Bolt
Installing or removing saw chain
CAUTION: The saw chain and the guide bar are still hot just after the operation. Let them cool down enough before carrying out any work on the tool.
CAUTION: Carry out the procedure of installing or removing saw chains in a clean place free from sawdust and the like.
Installing the saw chain
To install the saw chain, perform the following steps:
- Loosen the chain adjusting screw, then the retaining nut.
► Fig.15: 1. Retaining nut
- Chain adjusting screw
- Sprocket cover
- Remove the sprocket cover.
- Check the direction of the saw chain. Match the direction of the saw chain with that of the mark on the tool body.
Fig.16: 1. Mark on chain saw body
- Fit one end of the saw chain on the top of the guide bar. Fit the other end of the saw chain around the sprocket. Make sure that the saw chain is properly fitted on the sprocket and properly fitted in the groove of the guide bar.
- Attach the guide bar to the tool body, aligning the hole on the guide bar with the pin on the tool body.
Fig.17: 1. Hole 2. Sprocket
- Insert the protrusion on the sprocket cover to the tool body, and then close the cover so that the bolt and pin on the tool body meet their counterparts on the cover.
► Fig.18: 1. Sprocket cover 2. Protrusion 3. Bolt 4. Pin
- tighten the retaining nut to secure the sprocket cover, then loosen it a bit for tension adjustment.
Fig.19: 1. Retaining nut
After installing the saw chain, adjust the saw chain tension by referring to the section for adjusting saw chain tension.
Removing the saw chain
To remove the saw chain, perform the following steps:
- Loosen the chain adjusting screw, then the retaining nut.
Fig.20: 1. Retaining nut 2. Chain adjusting screw
- Remove the sprocket cover, and then remove the saw chain and guide bar from the tool body.
Adjusting saw chain tension
CAUTION: Do not tighten the saw chain too much. Excessively high tension of saw chain may cause breakage of saw chain and wear of the guide bar.
CAUTION: A chain which is too loose can jump off the bar and it may cause an injury accident.
The saw chain may become loose after many hours of use. From time to time check the saw chain tension before use.
- Loosen the retaining nut a bit to loosen the sprocket cover lightly.
Fig.21: 1. Retaining nut
- Lift up the guide bar tip slightly and adjust the chain tension. Turn the chain adjusting screw counter-clockwise to tighten, turn it clockwise to loosen.
Tighten the saw chain until the lower side of the saw chain fits in the guide bar rail as illustrated.
Fig.22: 1. Guide bar 2. Saw chain 3. Chain adjust- ing screw
- Keep holding the guide bar lightly and attach the sprocket cover.
Make sure that the saw chain does not loose at the lower side. - Tighten the retaining nut to secure the sprocket cover.
Fig.23: 1. Retaining nut
OPERATION
Lubrication
NOTICE: When filling the chain oil for the first time, or refilling the tank after it has been completely emptied, add oil up to the bottom edge of the filler neck. The oil delivery may otherwise be impaired.
NOTICE: Use the saw chain oil exclusively for Makita chain saws or equivalent oil available in the market.
NOTICE: Never use oil including dust and particles or volatile oil.
NOTICE: When pruning trees, use botanical oil. Mineral oil may harm trees.
NOTICE: Before the cutting operation, make sure that the oil tank cap is tightened securely.
Saw chain is automatically lubricated when the tool is in operation. Check the amount of remaining oil in the oil tank periodically.
Fig.24: 1. Oil tank
To refill the tank, place the tool on a flat surface, then push the button on the oil tank cap so that the button on the other side stands up, and then remove the oil tank cap by turning it.The proper amount of oil is 160 ml. After refilling the tank, make sure that the oil tank cap is tightened securely.
Fig.25: 1. Oil tank cap 2. Tighten 3. Loosen
NOTE: If it is difficult to remove the oil tank cap, insert the box wrench into the slot of the oil tank cap, and then remove the oil tank cap by turning it counterclockwise.
Fig.26: 1. Slot 2. Box wrench
After refilling, hold the tool away from the tree. Start it and wait until lubrication on saw chain is adequate. Fig.27
Attaching the shoulder harness
CAUTION: When you use the tool in combination of the backpack-type power supply such as portable power pack, do not use the shoulder harness included in the tool package, but use the hanging band recommended by Makita.
If you put on the shoulder harness included in the tool package and the shoulder harness of the back-pack-type power supply at the same time, removing the tool or backpack-type power supply is difficult in case of an emergency, and it may cause an accident or injury. For the recommended hanging band, ask Makita Authorized Service Centers.
CAUTION: Always use the shoulder harness attached to the tool. Before operation, adjust the shoulder harness according to the user size to prevent fatigue.
CAUTION: Before the operation, make sure that the shoulder harness is properly attached to the hanger on the tool.
CAUTION: Before operation, make sure that the buckle of the shoulder harness is fastened firmly.
CAUTION: Always use the shoulder harness dedicated to this tool. Do not use other shoulder harnesses.
- Put on the shoulder harness and fasten the buckle.
Fig.28: 1. Buckle
NOTE: When removing the shoulder harness, unlock the buckle and remove the shoulder harness. - Adjust the shoulder harness to a comfortable working position. Fig.29

- Clasp the hook on the shoulder harness to tool’s hanger.
Fig.30: 1. Hook 2. Hanger
The shoulder harness features a means of quick release. Simply squeeze the sides of the buckle to release the shoulder harness.
Fig.31: 1. Buckle
Working with the tool
CAUTION: Keep all parts of the body away from the saw chain when the motor is operating.
CAUTION: Hold the tool firmly with both hands when the motor is running.
CAUTION: Do not overreach. Keep proper footing and balance at all times.
CAUTION: When cutting through branches, be careful not to lose your balance due to the weight of the tool head.
CAUTION: Always keep escape route in case a cut branch falls towards the operator.
CAUTION: Never use the tip of the guide bar for cutting. Otherwise, dangerous kickback may occur, and it may result in personal injury.
NOTICE: Never toss or drop the tool. NOTICE: Do not cover the vents of the tool.
NOTICE: Do not force the tool. Otherwise, it may damage the tool.
Stand on a stable surface, and hold the tool away from the branches so that the angle of the tool becomes 60° or less against the horizontal ground.
Fig.32: 1. 60° or less
Start the tool, and then press the saw chain onto the branch lightly.
When cutting long branches, in order to control the drop position of cut branches, divide the branch in sections and cut the branch from the tip. Pay attention to the falling branches since they may bounce in the direction of the operator after hitting the ground. Fig.33
When cutting thick branches, first make a shallow undercut and then make the finish cut from the top. Fig.34
If you try to cut off thick branches from the bottom, the branch may close in and pinch the saw chain in the cut. If you try to cut off thick branches from the top without a shallow undercut, the branch may splinter. Fig.35
Carrying tool
Before carrying the tool, always remove the battery cartridge from the tool, then attach the guide bar cover, and then shorten the pipe. Also, cover the battery cartridge with the battery cover.
Fig.36: 1. Guide bar covers 2. Battery cover
Using the tool with portable power pack
Optional accessory
Use the hanging band when you use the tool with portable power pack.
Attaching the hanging band
- Attach the hooks of the hanging band to the rings of the shoulder harness or waist belt as shown in the figure. Select the type of band and the connecting method appropriate for your usage.
► Fig.37: 1. Ring 2. Hook
► Fig.38: 1. Ring 2. Hook
- Attach the hook to the tool.
Fig.39: 1. Hook
Detaching the tool
When setting down the tool, unlock the buckle on the hanging band with one hand while holding the tool with the other hand.
Fig.40: 1. Buckle
NOTE: The buckle is not equipped depending on the type of band.
If you need to release the tool quickly, follow the steps below.
- Push the levers on the buckle of the waist belt to unlock the buckle.
Fig.41: 1. Buckle 2. Lever
- Take off the shoulder harness to release the tool and the unit.
Fig.42: 1. Shoulder harness
MAINTENANCE
CAUTION: Always be sure that the tool is switched off and the battery cartridge is removed before attempting to perform inspection or maintenance.
CAUTION: Always wear gloves when performing any inspection or maintenance.
NOTICE: Never use gasoline, benzene, thinner, alcohol or the like. Discoloration, deformation or cracks may result.
To maintain product SAFETY and RELIABILITY, repairs, any other maintenance or adjustment should be performed by Makita Authorized or Factory Service Centers, always using Makita replacement parts.
Sharpen the saw chain when:
- Mealy sawdust is produced when damp wood is cut;
- The chain penetrates the wood with difficulty, even when heavy pressure is applied;
- The cutting edge is obviously damaged;
- The saw pulls to the left or right in the wood. (caused by uneven sharpening of the saw chain or damage to one side only)
Sharpen the saw chain frequently but a little each time. Two or three strokes with a file are usually sufficient for routine resharpening. When the saw chain has been resharpened several times, have it sharpened in our authorized service center.
Sharpening criteria
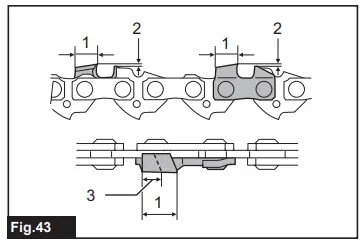
WARNING: An excessive distance between the cutting edge and depth gauge increases the risk of kickback.
Fig.43: 1. Cutter length 2. Distance between cutting edge and depth gauge 3. Minimum cutter length (3 mm)
- All cutter length must be equal. Different cutter lengths prevent the saw chain from running smoothly and may cause the saw chain to break.
- Do not sharpen the chain when the cutter length has reached 3 mm or shorter. The chain must be replaced with new one.
- The chip thickness is determined by the distance between the depth gauge (round nose) and the cutting edge.
- The best cutting results are obtained with following distance between cutting edge and depth gauge.
- Chain blade 90PX : 0.65 mm
- Chain blade 91PX : 0.65 mm Fig.44

- The sharpening angle of 30° must be the same on all cutters. Different cutter angles cause the chain to run roughly and unevenly, accelerate wear, and lead to chain breaks.
- Use a suitable round file so that the proper sharp-ening angle is kept against the teeth.
- Chain blade 90PX : 55°
- Chain blade 91PX : 55°
- File and file guiding
- Use a special round file (optional accessory) for saw chains to sharpen the chain. Normal round files are not suitable.
Diameter of the round file for each saw chain is as follows:- Chain blade 90PX : 4.5 mm
- Chain blade 91PX : 4.0 mm
- The file should only engage the cutter on the for-ward stroke. Lift the file off the cutter on the return stroke.
- Sharpen the shortest cutter first. Then the length of this shortest cutter becomes the standard for all other cutters on the saw chain.
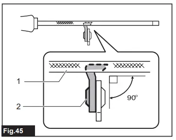
- Guide the file as shown in the figure.
Fig.45: 1. File 2. Saw chain
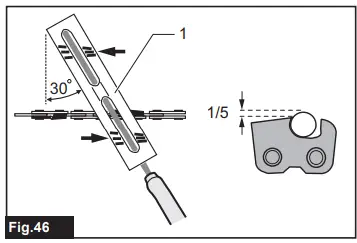
- The file can be guided more easily if a file holder (optional accessory) is employed. The file holder has markings for the correct sharpening angle of 30° (align the markings parallel to the saw chain) and limits the depth of penetration (to 4/5 of the file diameter).
Fig.46: 1. File holder
- After sharpening the chain, check the height of the depth gauge using the chain gauge tool (optional accessory).
Fig.47
- Remove any projecting material, however small, with a special flat file (optional accessory).
- Round off the front of the depth gauge again.
Cleaning the guide bar
Chips and sawdust will build up in the guide bar groove. They may clog the bar groove and impair the oil flow. Clean out the chips and sawdust every time when you sharpen or replace the saw chain. Fig.48
Cleaning the sprocket cover
Chips and saw dust will accumulate inside of the sprocket cover. Remove the sprocket cover and saw chain from the tool then clean the chips and saw dust. Fig.49
Cleaning the oil discharge hole
Small dust or particles may be built up in the oil discharge hole during operation. These dust or particles may impair the oil to flow and cause insufficient lubrication on the whole saw chain. When a poor chain oil delivery occurs at the top of guide bar, clean the oil discharge hole as follows.
- Remove the sprocket cover and saw chain from the tool.
- Remove the small dust or particles using a slotted screwdriver or the like.
Fig.50: 1. Slotted screwdriver 2. Oil discharge hole
- Insert the battery cartridge into the tool. Pull the switch trigger to flow built-up dust or particles off the oil discharge hole by discharging chain oil.
- Remove the battery cartridge from the tool. Reinstall the sprocket cover and saw chain on the tool.
Replacing the sprocket
CAUTION: A worn sprocket will damage a new saw chain. Have the sprocket replaced in this case.
Before fitting a new saw chain, check the condition of the sprocket. If the sprocket is worn or damaged, ask Makita Authorized Service Centers for replacement.
Fig.51: 1. Sprocket 2. Areas to be worn out
Storing the tool
- Clean the tool before storing. Remove any chips and sawdust from the tool after removing the sprocket cover.
- After cleaning the tool, run it under no load to lubri-cate the saw chain and guide bar.
- Cover the guide bar with the guide bar cover, and then shorten the pipe.
- Empty the oil tank.
Instructions for periodic maintenance
To ensure long life, prevent damage and ensure the full functioning of the safety features, the following maintenance must be performed regularly. Warranty claims can be recognized only if this work is performed regularly and properly. Failure to perform the prescribed maintenance work can lead to accidents! The user of the tool must not perform maintenance work which is not described in the instruction manual. All such work must be carried out by our authorized service center.
| Check item / Operating time | Before operation | Everyday | Every week | Every 3 month | Annually | Before storage | |
| Entire tool | Inspection. | – | – | – | – | – | |
| Cleaning. | – | – | – | – | – | ||
| Check at authorized service center. | – | – | – | – | |||
| Saw chain | Inspection. | – | – | – | – | – | |
| Sharpening if necessary. | – | – | – | – | – | ||
| Guide bar | Inspection. | – | – | – | – | ||
| Remove from the tool. | – | – | – | – | – | ||
| Chain lubrication | Check the oil feed rate. | – | – | – | – | – | |
| Switch trigger | Inspection. | – | – | – | – | – | |
| Lock-off lever | Inspection. | – | – | – | – | – | |
| Oil tank cap | Check tightness. | – | – | – | – | – | |
| Screws and nuts | Inspection. | – | – | – | – | – | |
TROUBLESHOOTING
Before asking for repairs, conduct your own inspection first. If you find a problem that is not explained in the manual, do not attempt to dismantle the tool. Instead, ask Makita Authorized Service Centers, always using Makita replace-ment parts for repairs.
| Malfunction status | Cause | Action |
| The tool does not start. | The battery cartridge is not installed. | Install a charged battery cartridge. |
| Battery problem (low voltage). | Recharge the battery cartridge. If recharging is not effective, replace the battery cartridge. | |
| Main power switch is off. | The tool is automatically turned off if it is un-operated for a certain period. Turn on the main power switch again. | |
| The motor stops running after a little use. | Battery’s charge level is low. | Recharge the battery cartridge. If recharging is not effective, replace the battery cartridge. |
| No oil on the chain. | Oil tank is empty. | Fill the oil tank. |
| Oil guide groove is dirty. | Clean the groove. | |
| The tool does not reach maximum RPM. | Battery cartridge is installed improperly. | Install the battery cartridge as described in this manual. |
| Battery power is dropping. | Recharge the battery cartridge. If recharg- ing is not effective, replace the battery cartridge. | |
| The drive system does not work correctly. | Ask the authorized service center in your region for repair. | |
| The main power lamp is blinking in green. | Switch trigger is pulled under an unoperat- able condition. | Pull the switch trigger after the main power switch is turned on. |
| Abnormal vibration: Stop the tool immediately! | Loose guide bar or saw chain. | Adjust the guide bar and saw chain tension. |
| Tool malfunction. | Ask the authorized service center in your region for repair. | |
| The saw chain cannot be installed. | The combination of saw chain and sprocket is not correct. | Use the correct combination of saw chain and sprocket by referring to the section for specifications. |
OPTIONAL ACCESSORIES
CAUTION: These accessories or attachments are recommended for use with your Makita tool specified in this manual. The use of any other accessories or attachments might present a risk of injury to persons. Only use accessory or attachment for its stated purpose.
If you need any assistance for more details regard-ing these accessories, ask your local Makita Service Center.
- Saw chain
- Guide bar
- Guide bar cover
- File
- Makita genuine battery and charger
WARNING: If you purchase a guide bar of a different length from the standard guide bar, also purchase a suitable guide bar cover together. It must fit and fully cover the guide bar on the tool.
NOTE: Some items in the list may be included in the tool package as standard accessories. They may differ from country to country.


Read the instruction manual.
Wear sturdy boots with nonslip soles. Steel-toed safety boots are recommended.













After installing the saw chain, adjust the saw chain tension by referring to the section for adjusting saw chain tension.



NOTE: When removing the shoulder harness, unlock the buckle and remove the shoulder harness.
The shoulder harness features a means of quick release. Simply squeeze the sides of the buckle to release the shoulder harness.
► Fig.38: 1. Ring 2. Hook



























