LG C1008FA5 8.0 Ton Floor Standing Air Conditioner

TIPS FOR SAVING ENERGY
Here are some tips that will help you minimize the power consumption when you use the air conditioner. You can use your air conditioner more efficiently by referring to the instructions below:
- Do not cool excessively indoors. This may be harmful for your health and may consume more electricity.
- Block sunlight with blinds or curtains while you are operating the air conditioner.
- Keep doors and windows closed tightly while you are operating the air conditioner.
- Adjust the direction of the air flow vertically or horizontally to circulate indoor air.
- Speed up the fan to cool or warm indoor air quickly, in a short period of time.
- Clean the air filter once every 2 weeks. Dust and impurities collected in the air filter may block the air flow or weaken the cooling / dehumidifying functions.
IMPORTANT SAFETY INSTRUCTIONS
READ ALL INSTRUCTIONS BEFORE USING THE APPLIANCE.
Always comply with the following precautions to avoid dangerous situations and ensure peak performance of your product
WARNING
It can result in serious injury or death when the directions are ignored
CAUTION
It can result in minor injury or product damage when the directions are ignored
WARNING
- Installation or repairs by unqualified persons can result in hazards to you and others.
- The information contained in the manual is intended for use by a qualified service technician familiar with safety procedures and equipped with the proper tools and test instruments.
- Failure to carefully read and follow all instructions in this manual can result in equipment malfunction, property damage, personal injury and/or death.
Installation
- Always perform grounding.
- Otherwise, it may cause electric shock.
- Don’t use an electric cable or a terminal block which is damaged.
- Otherwise, it may cause a fire or electric shock.
- For installation of the product, always contact the service center or a professional installation agency.
- Otherwise, it may cause a fire, electric shock, explosion or injury.
- Securely attach the electrical part cover to the indoor unit and the service panel to the outdoor unit.
- If the electrical part cover of the indoor unit and the service panel of the outdoor unit are not attached securely, it could result in a fire or electric shock due to dust, water, etc.
- Always install an air leakage breaker and a dedicated switching board.
- No installation may cause a fire and electric shock.
- Do not keep or use flammable gases or combustibles near the air conditioner.
- Otherwise, it may cause a fire or the failure of product.
- Ensure that an installation frame of the outdoor unit is not damaged due to use for a long time.
- It may cause injury or an accident.
- Do not disassemble or repair the product randomly.
- It will cause a fire or electric shock.
IMPORTANT SAFETY INSTRUCTIONS
- Do not install the product at a place that there is concern of falling down.
- Otherwise, it may result in personal injury.
- Use caution when unpacking and installing.
- Sharp edges may cause injury.
- Do not turn on the breaker or power under condition that front panel, cabinet, top cover, control box cover are removed or opened.
- Otherwise, it may cause fire, electric shock, explosion or death.
- For installation of the product, do not use the pipe less than 5m.
- Otherwise, it may cause damage of compressor and to form dewdrop on the indoor unit.
- Also, it may cause to decrease capacity.
- Before accessing the terminals, all power circuits must be disconnected.
- It may cause injury or an accident.
Operation
- Do not share the outlet with other appliances.
- It will cause an electric shock or a fire due to heat generation.
- Do not use the damaged electric cable.
- Otherwise, it may cause a fire or electric shock.
- Do not modify or extend the electric cable randomly.
- Otherwise, it may cause a fire or electric shock.
- Turn off the breaker or power if strange sounds, smell, or smoke comes from it.
- Otherwise, it may cause electric shock or a fire.
- Keep the flames away.
- Otherwise, it may cause a fire.
- Do not use the electric cable near the heating tools.
- Otherwise, it may cause a fire and electric shock.
- Do not open the suction inlet of the indoor/outdoor unit during operation.
- Otherwise, it may electric shock and failure.
- Do not allow water to run into electrical parts.
- Otherwise, it may cause the failure of machine or electric shock.
- Hold the plug by the head when taking it out.
- It may cause electric shock and damage.
- Never touch the metal parts of the unit when removing the filter.
- They are sharp and may cause injury.
- Do not step on the indoor/outdoor unit and do not put anything on it.
- It may cause an injury through dropping of the unit or falling down.
- Do not place a heavy object on the electric cable.
- Otherwise, it may cause a fire or electric shock.
- When the product is submerged into water, always contact the service center.
- Otherwise, it may cause a fire or electric shock.
CAUTION
- Install the drain hose to ensure that drain can be securely done.
- Otherwise, it may cause water leakage.
- Install the product so that the noise or hot wind from the outdoor unit may not cause any damage to the neighbors.
- Otherwise, it may cause dispute with the neighbors.
- Always inspect gas leakage after the installation and repair of product.
- Otherwise, it may cause the failure of product.
- Keep level parallel in installing the product.
- Otherwise, it may cause vibration or water leakage.
- Means for disconnection must be incorporated in the fixed wiring in accordance with the wiring rules.
- Do not install the unit in potentially explosive atmospheres.
INSTALLATION PLACE
Select the best Location
- There should not be any heat source or steam near the unit.
- There should not be any obstacles to prevent the air circulation.
- A place where air circulation in the room will be good.
- A place where drainage can be easily obtained.
- A place where noise prevention is taken into consideration.
- Do not install the unit near the door way.
- Ensure the spaces indicated by arrows from the wall, ceiling, or other obstacles.
- The indoor unit must keep the maintenance space.

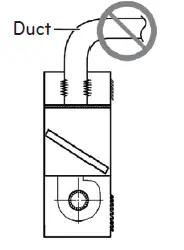
CAUTION
- It’s not possible to apply the duct indoor unit to this model.
- Do not disassemble, repair, or modify the product to install the duct. (This may cause performance degradation and burnout.)

WIRING CONNECTION
Connecting the cable
The inside and outside connecting cable can be connected after opening the inlet grille.
- Open the inlet grille manually.
- Open the control cover with screwdriver(⊕).

- Secure the control cover to the original position with the screw.
- Close the inlet grille.
Wiring Connection
- Connect the wires to the terminals on the control board individually according to the outdoor unit connection.
- Ensure that the color of the wires of outdoor unit and the terminal No. are the same as those of indoor unit respectively. <PF2>

- Resistance measurement position for incorrect wiring.
- Pipes and wires should be purchased separately for installation of the product.
WARNING
Use O-Ring or Y-Ring when connecting Power cable and Connecting cable.
CAUTION
The connecting cable connected to the indoor and outdoor unit should be complied with the following specifications (Rubber insulation, type H05RN-F approved by HAR or SAA).
(This equipment shall be provided with a cable set complying with the national regulation). NORMAL CROSS-SECTIONAL AREA 1.5 mm2 If the supply cord is damaged, it must be replaced by a special cord or assembly available from the manufacturer of its service agent. When the connection line between the indoor unit and outdooor unit and outdoor unit is over 40 m, connect the telecommunication line and power line separately.
CAUTION
- Never fail to have separate power specially for the air conditioner. As for the method of wiring, follow the circuit diagram pasted on the inside of control box cover.
- Provide a circuit breaker switch between power source and the unit.
- The screw which fasten the wiring in the casing of electrical fittings are liable to come loose from vibrations to which the unit is subjected during the course of transportation. Check them and make sure that they are all tightly fastened. (If they are loose, it could give rise to burn-out of the wires.)
- Confirm the Specification of power source.
- Confirm that electrical capacity is sufficient.
- Be sure that the starting voltage is maintained at more than 90 percent of the rated voltage marked on the name plate.
- Confirm that the cable thickness is as specified in the power sources specification. (Particularly note the relation between cable length and thickness.)
- Do not install the leakage breaker in a place which is wet or moist. Water or moist may cause short circuit.
- The following troubles would be caused by voltage drop-down.
- Vibration of a magnetic switch, damage on the contact point there of, fuse breaking, disturbance to the normal function of a overload protection device.
- Proper starting power is not given to the compressor.
- Before applying power to the indoor unit, be sure to check for incorrect wiring of the power and communication lines.
CONNECTING PIPES
Preparation of Pipe
Main cause of gas leakage is defect in flaring work. Carry out correct flaring work in the following procedure.
Cut the pipes and the cable.
- Use the accessory pipe kit or the pipes purchased locally.
- Measure the distance between the indoor and the outdoor unit.
- Cut the pipes a longer than measured distance.
- Cut the cable 1.5 m longer than the pipe length.

Burrs removal
- Completely remove all burrs from the cut cross section of pipe.
- Put the end of the copper pipe to downward direction as you remove burrs in order to avoid to let burrs drop in the pipe.
Putting nut on
Remove flare nuts attached to indoor and outdoor unit, then put them on pipe/tube having completed burr removal. (not possible to put them on after finishing flare work)

Flaring work
- Firmly hold copper pipe in a bar with the dimension shown in below table.
- Carry out flaring work with the flaring tool.
| Pipe diameter inch (mm) | A inch (mm) | |
| Wing nut type | Clutch type | |
| Ø 1/4 (Ø 6.35) | 0.04~0.05 (1.1~1.3) | 0~0.02 (0~0.5) |
| Ø 3/8 (Ø 9.52) | 0.06~0.07 (1.5~1.7) | |
| Ø 1/2 (Ø 12.7) | 0.06~0.07 (1.6~1.8) | |
| Ø 5/8 (Ø 15.88) | 0.06~0.07 (1.6~1.8) | |
| Ø 3/4 (Ø19.05) | 0.07~0.08 (1.9~2.1) | |

Check
- Compare the flared work with the figure by.
- If a flared section is defective, cut it off and do flaring work again

Welding
- Pipe connections can be done on the front side or on the side according to the installation environments.
- Be sure to let 1.0 kgf/cm2 Nitrogen flow in the pipe when we lding.
- If Nitrogen was not flown during welding, many oxidized membranes may form inside the pipe and disturb the normal operations of valves and condensers.

Indoor unit installation
- The mounting floor should be strong and solid enough to prevent it from vibration.
- Drill the piping hole with 70 mm diameter hole-core drill at either the right or the left of indoor unit. The hole should be sightly slant to the outdoor side.

- Insert the plastic tube through the hole.
- Cut the extruded outside part of the plastic tube, if necessary.


When using knock-out hole to route the piping, insert the plastic cover in knock-out hole in order to prevent the piping from damaged by sharp edge of the hole.
CAUTION
- Install the product to remain horizontal using the horizontal gauge.
- Do not damage cables when you install the indoor unit. There is risk of fire or electric shock.
Indoor Unit Drain Piping
Main cause of gas leakage is defect in flaring work. Carry out correct flaring work in the following procedure.
- Drain piping must have down-slope (1/50 to 1/100): be sure not to provide up-and-down slope to prevent reversal flow.
- During drain piping connection, be careful not to exert extra force on the drain port on the indoor unit.
- The outside diameter of the drain connection on the indoor unit is 32 mm.
- Piping material: Polyvinyl chloride pipe inner diometes Ø 25 mm and pipe fittings.
- Be sure to install heat insulation on the drain piping.
- Heat insulation material: Polyethylene foam with thickness more than 8 mm.
Drain test
The air conditioner uses a drain pump to drain water. Use the following procedure to test the drain pump operation:


DIP Switch Setting
Outdoor Unit
In case that the products meet specific conditions, “Auto addressing” function can start automatically with the improved speed by turning the DIP switch #3 of the outdoor unit and resetting the power.

Group Control Setting
Group Control 1
Wired remote controller 1 + Standard Indoor Units

Indoor Unit DIP Switch
Some products have no DIP switch on PCB. It is possible to set indoor units to Master or Slave by using the wireless remote controller instead of DIP switch. For the details of the setting, please refer to the manual of the wireless remote controller.
- It is possible to 16 indoor units(Max.) by one wired remote controller. Set only one indoor unit to Master, set the others to Slave.
- It is possible to connect with every type of indoor units.
- It is possible to use wireless remote controller at the same time.
- It is possible to connect with Dry Contact and Central controller at the same time.
- The Master indoor unit is possible to recognize Dry Contact and Central Controller only.
- In case that any error occurs at indoor unit, the error code is displayed on the wired remote controller. It is possible to control the other indoor units except the error units.
- It is possible to connect indoor units since Feb. 2009.
- It can be the cause of malfuctions when there is no setting of master and slave.
- In case of Group Control, it is possible to use following functions.
- Selection of operation, stop or mode
- Temperature setting and room temperature check
- Current time change
- Control of flow rate (High/Middle/Low)
- Reservation settings
- It is not possible at some functions.
Group Control 2
Wired remote controllers + Standard Indoor Units

- It is possible to control 16 indoor units(Max.) with the master wired remote control.
- Other than those, it is same with the Group Control 1.
Group Control 3
Mixture connection with indoor units and Fresh Air Intake Unit

- In case of connecting with standard indoor unit and Fresh Air Intake Unit, separate Fresh Air Intake Unit with standard units. (N, M ≤ 16) (Because setting temperature are different.)
- Other than those, it is same with Group Control 1.

Remote Control
Wired remote controller 2 + Indoor unit 1

- It is possible to connect two wired remote controllers (Max.) with one indoor unit. Set only one indoor unit to Master, set the others to Slave. Set only one wired remote controller to Master, set the others to Slave.
- Every types of indoor unit is possible to connect two remote controller.
- It is possible to use wireless remote controller at the same time.
- It is possible to connect with Dry Contact and Central controller at the same time.
- In case that any error occurs at indoor unit, the error code is displayed on the wired remote controller.
- There isn’t limits of indoor unit function.
Accessories for group control setting
It is possible to set group control by using below accessories.

CAUTION
Apply totally enclosed noncombustible conduit in case of local building code Requiring plenum cable usage.
Airborne Noise Emission
The A-weighted sound pressure emitted by this product is below 70 dB. The noise level can vary depending on the site. The figures quoted are emission level and are not necessarily safe working levels. Whilst there is a correlation between the emission and exposure levels, this cannot be used reliably to determine whether or not further precautions are required. Factor that influence the actual level of exposure of the workforce include the characteristics of the work room and the other sources of noise, i.e. the number of equipment and other adjacent processes and the length of time for which an operator exposed to the noise. Also, the permissible exposure level can vary from country to country. This information, however, will enable the user of the equipment to make a better evaluation of the hazard and risk.
Limiting concentration
Limiting concentration is the limit of Freon gas concentration where immediate measures can be taken without hurting human body when refrigerant leaks in the air. The limiting concentration shall be described in the unit of kg/m3 (Freon gas weight per unit air volume) for facilitating calculation




















