STANLEY FMHT77 Series Self-Leveling Cross Line Laser Instructions
Laser Information
The FMHT77585 and FMHT77586 Cross Line lasers are Class 2 laser products. The lasers are self-leveling laser tools that can be used for horizontal (level) and vertical (plumb) alignment projects.
User Safety
Safety Guidelines
The definitions below describe the level of severity for each signal word. Please read the manual and pay attention to these symbols.
DANGER: Indicates an imminently hazardous situation which, if not avoided, will result in death or serious injury.
WARNING: Indicates a potentially hazardous situation which, if not avoided, could result in death or serious injury.
CAUTION: Indicates a potentially hazardous situation which, if not avoided, may result in minor or moderate injury.
NOTICE: Indicates a practice not related to personal injury which, if not avoided, may result in property damage. you have any questions or comments about this or any Stanley tool, go to http://www.2helpU.com.
EC-Declaration of Conformity
Stanley herewith declares that the product FMHT77585/FMHT77586 is in compliance with the essential requirements and all other provisions of Directive 1999/5/EC.
The full text of the EU Declaration of Conformity can be requested at Stanley Tools, Egide Walschaertsstraat 14-16, 2800 Mechelen, Belgium or is available at the following internet address: www.2helpu.com.
WARNING:
Read and understand all instructions. Failure to follow the warnings and instructions in this manual may result in serious personal injury.
SAVE THESE INSTRUCTIONS
WARNING:
Laser Radiation Exposure. Do not disassemble or modify the laser level. There are no user serviceable parts inside. Serious eye injury could result.
WARNING:
Hazardous Radiation. Use of controls or adjustments, or performance of procedures, other than those specified herein may result in hazardous radiation exposure.
The label on your laser may include the following symbols.
| Symbol | Meaning |
| V | Volts |
| mW | Milliwatts |
| Laser Warning |
| nm | Wavelength in nanometers |
| 2 | Class 2 Laser |
Warning Labels
For your convenience and safety, the following labels are on your laser.
WARNING: To reduce the risk of injury, user must read instruction manual.
WARNING: LASER RADIATION. DO NOT
STARE INTO BEAM. Class 2 Laser Product.
- If the equipment is used in a manner not specified by the manufacturer, the protection provided by the equipment may be impaired.
- Do not operate the laser in explosive atmospheres, such as in the presence of flammable liquids, gases, or dust. This tool may create sparks which may ignite the dust or fumes.
- Store an idle laser out of reach of children and other untrained persons. Lasers are dangerous in the hands of untrained users.
- Tool service MUST be performed by qualified repair personnel. Service or maintenance performed by unqualified personnel may result in injury. To locate your nearest Stanley service center go to http://www.STANLEYTOOLS.com.
- Do not use optical tools such as a telescope or transit to view the laser beam. Serious eye injury could result.
- Do not place the laser in a position which may cause anyone to intentionally or unintentionally stare into the laser beam. Serious eye injury could result.
- Do not position the laser near a reflective surface which may reflect the laser beam toward anyone’s eyes. Serious eye injury could result.
- Turn the laser off when it is not in use. Leaving the laser on increases the risk of staring into the laser beam.
- Do not modify the laser in any way. Modifying the tool may result in hazardous laser radiation exposure.
- Do not operate the laser around children or allow children to operate the laser. Serious eye injury may result.
- Do not remove or deface warning labels. If labels are removed, the user or others may inadvertently expose themselves to radiation.
- Position the laser securely on a level surface. If the laser falls, damage to the laser or serious injury could result.
Personal Safety
- Stay alert, watch what you are doing, and use common sense when operating the laser. Do not use the laser when you are tired or under the influence of drugs, alcohol, or medication. A moment of inattention while operating the laser may result in serious personal injury.
- Use personal protective equipment. Always wear eye protection. Depending on the work conditions, wearing protective equipment such as a dust mask, non-skid safety shoes, hard hat, and hearing protection will reduce personal injury.
Tool Use and Care
- Do not use the laser if the Power/Transport Lock switch does not turn the laser on or off. Any tool that cannot be controlled with the switch is dangerous and must be repaired.
- Follow instructions in the Maintenance section of this manual. Use of unauthorized parts or failure to follow Maintenance instructions may create a risk of electric shock or injury.
Battery Safety
WARNING:
Batteries can explode, or leak, and can cause injury or fire. To reduce this risk:
- Carefully follow all instructions and warnings on the battery label and package.
- Always insert batteries correctly with regard to polarity (+ and –), as marked on the battery and the equipment.
- Do not short battery terminals.
- Do not charge disposable batteries.
- Do not mix old and new batteries. Replace all batteries at the same time with new batteries of the same brand and type.
- Remove dead batteries immediately and dispose of per local codes.
- Do not dispose of batteries in fire.
- Keep batteries out of reach of children.
- Remove batteries when the device is not in use.
Installing AA Batteries
Load new AA batteries in the FMHT77585 or FMHT77586 laser.
- Turn the laser upside down.
- On the laser, lift up the latch to open the battery compartment cover (Figure B 1 ).

- Insert four new, high-quality, name brand AA batteries, making sure to position the – and + ends of each battery as noted inside the battery compartment (Figure B 2 )
- Push the battery compartment cover down until it snaps in place (Figure B 3 ).
- Slide the Power/Transport Lock switch to the right to the Unlocked/ON position (Figure A 7 ).
- On the keypad (Figure A 4 ), make sure is green (> 5%). If is red, this means that the battery level is below 5%.
- The laser may continue to operate for a short time while the battery power continues to drain, but the laser lines will quickly dim.
- After fresh batteries are installed and the laser is turned ON again, the laser lines will return to full brightness.
Whenever the laser is not in use, slide the Power/Transport Lock switch to the LEFT to the Locked/OFF position (Figure A 6 ) to save battery power.
Turning the Laser On

- Place the laser on a smooth, flat, level surface.
- Slide the Power/Transport Lock switch to the right to the Unlocked/ON position (Figure A 7 ).
- As shown in Figure A 2 , press once to display a horizontal laser line, a second time to display a vertical laser line, and a third time to display a horizontal line and a vertical line.
- Check the laser beams. The laser is designed to self-level.
If the laser is tilted so much that it cannot self-level (> 4°), the laser beams will continually flash twice and will flash constantly on the keypad (Figure A 3 ). - If the laser beams flash, the laser is not level (or plumb) and should NOT BE USED for determining or marking level or plumb. Try repositioning the laser on a level surface.
- Press on the keypad to test the Pulse mode. will illuminate on the keypad (Figure A 5 ) and the laser beams will appear lighter, since they are flashing at a very rapid rate. You will only use Pulse mode with a detector to project the laser beams long range.
- If ANY of the following statements are TRUE, continue with the instructions for Checking Laser Accuracy BEFORE USING THE LASER for a project.
- This is the first time you are using the laser (in case the laser was exposed to extreme temperatures).
- The laser has not been checked for accuracy in a while.
- The laser may have been dropped.
Checking Laser Accuracy
The laser tools are sealed and calibrated at the factory. It is recommended that you perform an accuracy check prior to using the laser for the first time (in case the laser was exposed to extreme temperatures) and then regularly to ensure the accuracy of your work. When performing any of the accuracy checks listed in this manual, follow these guidelines:
- Use the largest area/distance possible, closest to the operating distance. The greater the area/distance, the easier to measure the accuracy of the laser.
- Place the laser on a smooth, flat, stable surface that is level in both directions.
- Mark the center of the laser beam.
Horizontal Line Accuracy – Level
Checking the level of the laser’s horizontal line requires a flat vertical surface at least 9m (30’) wide.
- Place a tripod at one end of the wall (Figure D 1 ).
- Place the laser on a tripod and screw the threaded knob on the tripod into the female thread on the laser.
- Slide the laser’s Power/Transport Lock switch to the right to turn the laser ON (Figure A 7 ).
- Press once to display a horizontal line.
- Mark two points (P1 and P2) at least 9m (30’) apart along the length of the laser’s horizontal line on the wall.
- Relocate the laser at the other end of the wall and align the laser’s horizontal line with point P2 (Figure D 2 )
- Mark point P3 on the laser line near point P1.
- Measure the vertical distance between points P1 and P3.
- If your measurement is greater than the Allowable
Distance Between P1 & P3 for the corresponding
Distance Between P1 & P2 in the following table, the laser must be serviced at an authorized service center.
| Distance Between P1 & P2 | Allowable Distance Between P1 and P3 |
| 9m (30’) | 6mm (1/4”) |
| 12m (40’) | 8mm (5/16”) |
| 15m (50’) | 10mm (13/32”) |
Horizontal Line Accuracy – Tilt

Checking the tilt of the laser’s horizontal line requires a flat vertical surface at least 9m (30’) wide.
- Place a tripod as shown in Figure E 1 , which is:
- At the center of the wall (D 1/2).
- In front of the wall at a distance of half the size of the wall (D 1/2).
- Place the laser on a tripod and screw the threaded knob on the tripod into the female thread on the laser.
- Slide the laser’s Power/Transport Lock switch to the right to turn the laser ON (Figure A 7 ).
- Press 3 times to display a horizontal line and a vertical line.
- Aim the laser’s vertical line at the first corner or reference point (Figure E 1 ).
- Measure half the distance across the wall (D1/2).
- Where the horizontal laser line crosses the halfway point (D1/2), mark point P1.
- Rotate the the tripod so the laser’s vertical line is aimed at another corner or reference point (Figure E 2 ).
- Where the horizontal laser line crosses the halfway point (D1/2), mark point P2.
- Measure the vertical distance between P1 and P2 (Figure 3 ).

- If your measurement is greater than the Allowable
Distance Between P1 & P2 for the corresponding
Distance (D1) in the following table, the laser must be serviced at an authorized service center.
| Distance (D1) | Allowable Distance Between P1 and P2 |
| 9m (30’) | 3mm (1/8”) |
| 12m (40’) | 4mm (5/32”) |
| 15m (50’) | 5mm (7/32”) |
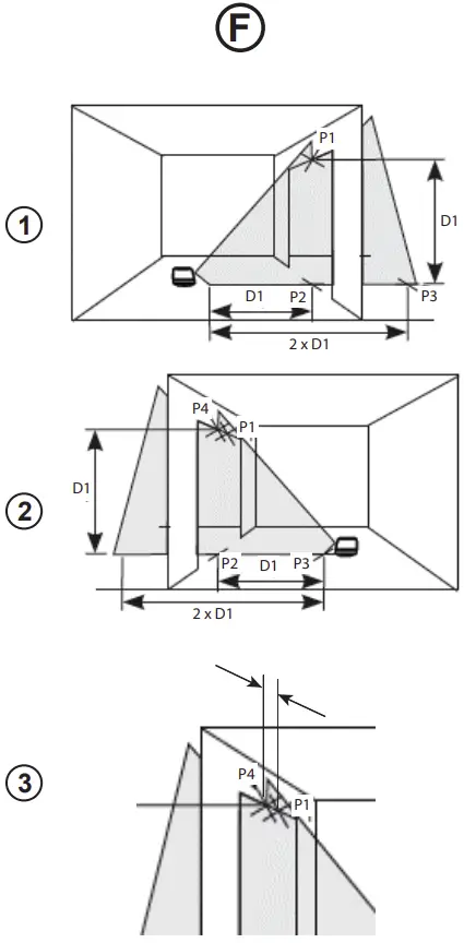
Vertical Line Accuracy – Plumb

Checking the plumb of the laser’s vertical line.
- Measure the height of a door jamb (or a reference point on the ceiling) to get height D1 (Figure F 1 ).
- Place the laser on the floor across from the door jam, (Figure F 1 ).
- Slide the laser’s Power/Transport Lock switch to the right to turn the laser ON (Figure A 7 ).
- Press twice to display a vertical line.
- Aim the laser’s vertical line toward the door jamb or the reference point on the ceiling.
- Where the laser’s vertical line meets the height of the door jam, mark point P1.
- From where the laser beam hits the floor, measure the D1 distance and mark it point P2.
- From P2, measure the D1 distance and mark it point P3.
- Move the laser to the opposite side of point P3 and aim the laser’s vertical line toward point P2 (Figure F 2 ).
- Align the laser’s vertical line with points P2 and P3 on the floor, and mark point P4 over the door jam.
- Measure the distance between P1 and P4 (Figure F 3 )
- If your measurement is greater than the Allowable
Distance Between P1 & P4 for the corresponding Vertical
Distance (D1) in the following table, the laser must be serviced at an authorized service center.
| Height of Vertical Distance (D1) | Allowable Distance Between P1 and P4 |
| 2.5m (8’) | 1.5mm (1/16″) |
| 5m (16′) | 3.0mm (1/8”) |
| 6m (20’) | 3.6mm (9/64”) |
| 9m (30′) | 5.5mm (9/32”) |
Using the Laser
Operating Tips
- Always mark the center of the beam created by the laser.
- Extreme temperature changes may cause movement of internal parts that can affect accuracy. Check your accuracy often while working.
- If the laser is ever dropped, check to make sure it is still calibrated.
- As long as the laser is properly calibrated, the laser is self leveling. Each laser is calibrated at the factory to find level as long as it is positioned on a flat surface within average ± 4° of level. No manual adjustments are required.
- Use the laser on a smooth, flat, level, surface.
Turning the Laser Off
Slide the Power/Transport Lock switch to the OFF/Locked position (Figure A 6 ) when the laser is not in use. If the switch is not placed in the Locked position, the laser will not turn off.
Using the Laser with Accessories
WARNING:
Since accessories other than those offered by Stanley have not been tested with this laser, use of such accessories with this laser could be hazardous.
Only use Stanley accessories that are recommended for use with this model. Accessories that may be suitable for one laser may create a risk of injury when used with another laser.
The bottom of the laser is equipped with 1/4-20 and 5/8-11 female threads (Figure C ) to accommodate current or future Stanley accessories. Only use Stanley accessories specified for use with this laser. Follow the directions included with the accessory.
Recommended accessories for use with this laser are available at extra cost from your local dealer or authorized service center. If you need assistance locating any accessory, please contact your nearest Stanley service center or visit our website: http://www.2helpU.com.
Using the Laser with the L Bracket
Most line lasers that have a 1/4-20 mounting thread can be screwed onto the L Bracket (Figure C ). The L Bracket can then be mounted in either of these ways:
- Use its rear magnets against a metal beam.
- Hook its rear screw hole over a nail or screw on a wall.
Maintenance
- When the laser is not in use, clean the exterior parts with a damp cloth, wipe the laser with a soft dry cloth to make sure it is dry, and then store the laser in the kit box provided.
- Although the laser exterior is solvent resistant, NEVER use solvents to clean the laser.
- Do not store the laser at temperatures below -20 ˚C (-5 ˚F) or above 60 ˚C (140 ˚F).
- To maintain the accuracy of your work, check the laser often to make sure it is properly calibrated.
- Calibration checks and other maintenance repairs may be performed by Stanley service centers.
Troubleshooting
The Laser Does Not Turn On
- If AA batteries are being used, make sure:
- Each battery is installed correctly, according to (+) and (–) listed inside the battery compartment.
- The battery contacts are clean and free of rust or corrosion.
- The batteries are new, high-quality, name brand batteries to reduce the chance of battery leakage.
- Make sure the AA batteries are in proper working condition. If in doubt, try installing new batteries.
- Be sure to keep the laser dry.
- If the laser unit is heated above 50 ˚C (120 ˚F), the unit will not turn ON. If the laser has been stored in extremely hot temperatures, allow it to cool. The laser level will not be damaged by using the Power/Transport Lock switch before cooling to its proper operating temperature.
The Laser Beams Flash
The lasers are designed to self-level up to an average of 4° in all directions. If the laser is tilted so much that the internal mechanism cannot level itself, the laser beams will flash indicating that the tilt range has been exceeded. THE FLASHING BEAMS CREATED BY THE LASER ARE NOT LEVEL OR PLUMB AND SHOULD NOT BE USED FOR DETERMINING OR MARKING LEVEL OR PLUMB. Try repositioning the laser on a more level surface.
The Laser Beams Will Not Stop Moving
The laser is a precision instrument. Therefore, if it is not positioned on a stable (and motionless) surface, the laser will continue to try to find level. If the beam will not stop moving, try placing the laser on a more stable surface. Also, try to make sure that the surface is relatively flat and level, so that the laser is stable.
Specifications
| FMHT77585 | FMHT77586 | |
| Light Source | Laser diodes | |
| Laser Wavelength | 630 – 680 nm visible | 510 – 530 nm visible |
| Laser Power | ≤1.3 mW CLASS 2 LASER PRODUCT | |
| Working Range | 20m (65’) 50m (165’) with Detector | 30m (100’)’ 50m (165’) with Detector |
| Accuracy | ±3 mm per 10 m (±1/8” per 30’) | |
| Power Source | 4 AA Alkaline (1.5V) size batteries (6V DC) | |
| Operating Temperature | -10°C to 50°C (14°F to 122°F) | |
| Storage Temperature | -20°C to 60°C (-5°F to 140°F) | |
| Environmental | Water & Dust Resistant to IP54 | |
Service and Repairs
Note: Disassembling the laser level will void all warranties on the product.
To assure product SAFETY and RELIABILITY, repairs, maintenance and adjustment should be performed by authorized service centers. Service or maintenance performed by unqualified personnel may result in a risk of injury. To locate your nearest Stanley service center, go to
http://www.2helpU.com.
Support
© 2018 Stanley Black & Decker
Egide Walschaertsstraat 14-16
2800 Mechelen, Belgium
N612157 September 2018





















