IKEA 904.055.34 SKAFTET Floor Lamp Base Nickel Plated Instruction Manual
The external flexible cable or cord of this luminaire cannot be replaced; if the cord is damaged, the luminaire shall be destroyed.
Safety Instructions
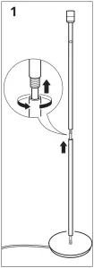
Assembly Instructions






IKEA 904.055.34 SKAFTET Floor Lamp Base Nickel Plated Instruction Manual
The external flexible cable or cord of this luminaire cannot be replaced; if the cord is damaged, the luminaire shall be destroyed.







Download manual
Here you can download full pdf version of manual, it may contain additional safety instructions, warranty information, FCC rules, etc.