
Electrohydraulic automatic operators 

Overview
LCN’s electrohydraulic automatic operators integrate the 4000 Series mechanical closer to provide a smooth and easy manual opening experience for preliminary manual use applications. When activated, the door works as a fully functional low energy automatic operator to increase accessibility.
The low energy electric Auto Equalizer 4600 Series utilizes LCN’s 4040XP mechanical closer to increase product life when the door is primarily used manually. When activated, a motor/clutch system drives the manual closer to automatically open the door.
The low energy pneumatic Auto Equalizer 4800/2600 Series provides quiet, smooth and reliable door operation and allows for use in hazardous locations where electronically operated devices are not permitted.
Features and benefits
§ UL Listed for self-closing doors without hold-open under “Swinging door closers”
§ Tested and certified under ANSI Standard A156.19
§ ANSI Standard A117.1
§ Electric Auto Equalizer has a no-destruct feature that allows clutch to slip when abused to reduce damage to the operator
§ Digital control suite in electric Auto Equalizer has on-board diagnostics to ensure easy, trouble-free installation
§ Pneumatic Auto Equalizer has easily adjustable air pressure and timing cycle to meet the needs of a specific installation
§ Pneumatic Auto Equalizer is available in four different mounting configurations

All electrohydraulic operators are available in seven standard or 150+ custom powder coated finishes.
Sample common applications
Exterior retail entrance

Operation: When the panic device is mechanically dogged both interior and exterior actuators will be enabled through LX switch. When device is undogged actuators will not function.
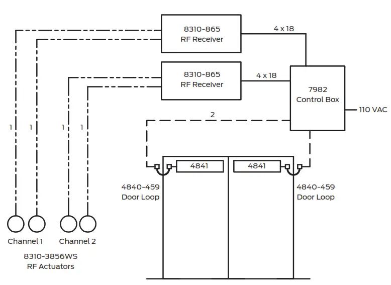
Church/library entrance

Operation: Doors normally closed, not latched.
Two 8310-3856WS actuators to independently signal each door to swing.
1 Dashed/dotted lines indicate RF signal, not a wiring connection.
2 Dashed lines indicate pneumatic 925 tubing.
Allegion, the Allegion logo, LCN and the LCN logo are trademarks of Allegion plc, its subsidiaries and/or affiliates in the United States and other countries. All other trademarks are the property of their respective owners.
About Allegion
Allegion (NYSE: ALLE) is a global pioneer in safety and security, with leading brands
like CISA®, Interflex®, LCN®, Schlage®, SimonsVoss® and Von Duprin®. Focusing on security around the door and adjacent areas, Allegion produces a range of solutions for homes, businesses, schools and other institutions. Allegion is a $2 billion company, with products sold in almost 130 countries. For more, visit www.allegion.com.

© 2019 Allegion
010112, Rev. 12/19
www.allegion.com/us
LCN’s Electrohydraulic Automatic Operators User Manual – Optimized PDF
LCN’s Electrohydraulic Automatic Operators User Manual – Original PDF



















