VUL-6703-X-BBZ Low Voltage Landscape Lighting Instruction Manual

INSTALLATION & MAINTENANCE GUIDE
AMP® MarinerPro LED Underwater Light (set of 3) AUL-8000-34-B-BZ
Important Safety Instructions: Read Before Installation
This fixture is intended for installation in accordance with local codes and the
National Electric Code (NEC). Failure to adhere to these codes and instructions may result in serious injury, property damage and void the warranty.
These instructions do not intend to cover all variations in installation, operation maintenance or mounting situation.
- Use only in ponds and small decorative fountains where persons will immerse no more than their hands and lower arms while the product is energized.
- DO NOT use in water intended for swimming, wading, immersion, or bathing.
- All installer completed cable connections must be located outside of pond or fountain.
- Low voltage circuit must be supplied by a power unit marked as suitable for supplying submersible luminaires.
- Power unit must be supplied by a circuit protected by a ground fault circuit interrupter (GFCI).
- “Maximum depth: 18 in (450 mm)”.
Important Safety Instructions
INSTRUCTIONS PERTAINING TO A RISK OF FIRE, OR INJURY TO PERSONS Lighted lamp is HOT!
WARNING – To reduce the risk of FIRE OR INJURY TO PERSONS.
- Turn off/unplug and allow to cool before replacing lamp.
- Lamp gets HOT quickly! Contact only switch/plug when turning on.
- Do not touch the hot lens, guard or enclosure.
- Keep lamp away from materials that may burn.
- Do not touch lamp at any time. Use a soft cloth. Oil from skin may damage lamp.
- Do not operate the luminaire fitting with a missing or damaged shield.
SAVE THESE INSTRUCTIONS
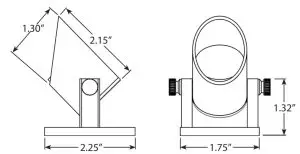
Product Dimensions

Wire Connections

Place fixture body on your desired location. Strip both leads from luminaire pigtail. Using two wire connectors (sold seperately), connect
the leads from the luminaire to the main supply cable leads. Make this connection at least 10’ outside of the water.
Help Hotline:
1-813-978-3900 • Mon-Fri 9am-6pm (EST)
Specifications and product details subject to change without notice.
© Copyright 2019, AMP® Lighting, Lutz FL USA 33549 • All rights reserved. [email protected] • 813.978.3900




















