HART HAHJO1 Heated Jacket Series
IMPORTANT SAFETY INSTRUCTIONS
WARNING
Read all safety warnings and all instructions. Failure to follow the warnings and instructions may result in electric shock, fire and/or serious injury.
- Use heated jacket only with specifically designated battery packs and chargers as noted in the operator’s manual for your power source. Use of any other battery packs or chargers may create a risk of injury and fire.
- If inner lining of heated jacket becomes wet, discon-tinue use immediately. Allow jacket to dry completely before wearing. Water entering heated jacket will increase the risk of electric shock.
- Do not allow the heated jacket to be worn by an infant, child, helpless person, person with poor blood circu-lation or any person with a sensitivity to overheating. Store the jacket out of the reach of children and pets and do not allow persons unfamiliar with heated jackets or these instructions to wear.
- Some medical conditions, medical devices, or medica-tions can cause sensitivity to heat. Consult your medical device manufacturer and/or your physician to determine if use of this product is appropriate.
- Do not allow the heating elements to touch bare skin. To reduce the risk of injury, always wear a garment be-tween the heated jacket and bare skin.
- Turn off power to the heated jacket immediately if any discomfort occurs.
- Do not wear the heated jacket along with backpacks or other strapped devices that cross the chest or back. This could damage the electrical wiring and cause jacket malfunction, increasing the risk of shock and burns.
- Do not attach lapel pins or any other type of decora-tive pins to the heated jacket. Doing so may damage the electrical wiring.
- Do not dry clean. Do not use bleach. Cleaning solvents may damage or lessen the effect of the jacket’s insulated heating element.
- To clean the heated jacket, follow the fabric care label in the jacket and the instructions in the Cleaning sec-tion of this manual.
- Machine wash only following instructions in the Clean-ing section of this manual. Do not wring or twist. Do not iron.
- Plug the heated jacket ONLY into the power jack on a compatible HART power source. For this jacket, only the HPPS02 power source is compatible.
- Do not use the heated jacket with any uninterrupted power supply. Use of an uninterrupted power supply may create a risk of jacket malfunctions, injury, and fire.
- Do not store or leave heated jacket unattended with power source and battery pack connected.
- Disconnect the power source from the connecting cable and remove the power source and battery pack from the battery pocket before storing or cleaning the heated jacket. Such preventive safety measures reduce the risk of power to the jacket being turned on accidentally.
- Periodically inspect the heated jacket for wear or damage. If holes, damage, or excessive wear is noted, discontinue use immediately.
- Do not place heavy items on top of the heated jacket or place sharp folds in the jacket during storage. This could allow the electrical wiring to become pinched, which could cause damage to the heated jacket.
- For use with HART 20 V battery packs, see tool/ap-pliance/battery pack/charger correlation supplement 995000850.
- Do not expose the power source to rain or wet condi-tions. Water entering the power source will increase the risk of electric shock.
- The power source is not intended for any use other than charging small (up to 2.1 Amp) USB electronics and the HART series heated jacket. Any other use may result in risk of fire.
- Do not use the power source if it has been dropped or received a sharp blow. A damaged power source will increase the risk of fire.
- Remove the battery pack from the power source when not in use.
- Save these instructions. Refer to them frequently and use them to instruct others who may use this product. If you loan someone this product, loan them these instruc-tions also.
SYMBOLS
| The following signal words and meanings are intended to explain the levels of risk associated with this product. | ||
| SYMBOL | SIGNAL | MEANING |
| DANGER: | Indicates a hazardous situation, which, if not avoided, will result in death or serious injury. | |
| WARNING: | Indicates a hazardous situation, which, if not avoided, could result in death or serious injury. | |
| CAUTION: | Indicates a hazardous situation, that, if not avoided, may result in minor or moderate injury. | |
| NOTICE: | (Without Safety Alert Symbol) Indicates information considered important, but not related to a potential injury (e.g. messages relating to property damage). | |
| Some of the following symbols may be used on this product. Please study them and learn their meaning. Proper interpretation of these symbols will allow you to operate the product better and safer. | ||
| SYMBOL | NAME | DESIGNATION/EXPLANATION |
| Safety Alert | Indicates a potential personal injury hazard. | |
![]() | Read Operator’s Manual | To reduce the risk of injury, user must read and understand operator’s manual before using this product. |
| V | Volts | Voltage |
| min | Minutes | Time |
| Direct Current | Type or a characteristic of current | |
OPERATION
WARNING
- Do not allow familiarity with this product to make you careless. Remember that a careless fraction of a second is sufficient to inflict serious injury.
- Always remove battery pack and power source from the heated jacket when not in use. Removing the battery pack and power source will prevent accidental operation that could cause serious personal injury.
- The heated jacket is for use ONLY with the HART HPPS02 power source.
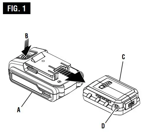
INSTALLING/REMOVING BATTERY PACK FROM
- POWER SOURCE
See Figure 1,
- To install: Insert a battery pack into the power source as shown. Make sure the latch on the battery pack snap into place and the battery pack is secured in the power source before beginning operation.
- To remove: Depress the latch on the battery pack. NOTE: Only HART 20 V battery packs are suitable for use with the HART HPPS02 portable power source.
USING THE POWER SOURCE WITH A USB
DEVICE
See Figure 2,
When a battery pack is installed, the USB port on the power source supplies a 5 Volt DC, up to 2.1 Amp charging site for your cell phone, MP3 player, or other small (up to 2.1 Amp) USB device. Simply connect a USB cable (not provided) from your device to the USB port on the power source to charge.
The power source can be placed on a flat surface during opera-tion or can be placed in the battery pocket located on the back of the jacket.
- Insert a battery pack into the power source.
- Plug the USB cable into the power source and into your USB device.
NOTE: The power source can be used to power the HART heated jacket and a USB device simultaneously. - When the power source is activated, the internal timer will keep the USB port active for approximately 8 hours.
- The timer starts when there is an insertion of a mobile device, MP3 player, or other small (up to 2.1 Amp) USB devices into the USB port.
- When the timer ends, the charging process will end and the power source will enter sleep mode.
- To reactivate the power source, unplug the USB from the power source and replug into the power source or unplug your device from the USB and replug back into the USB.
- To deactivate the power source, remove the battery pack. The power source technology will automatically turn off while not in use. You can also hold down the fuel gauge button for 3 seconds to deactivate power source.
NOTE: Charging time is dependent upon the level of charge in the battery pack when it is inserted into the power source and the level of charge already in the USB device.
OPERATING THE HEATED JACKET
See Figures 3-5, 

WARNING
Do not touch heating elements with bare skin. Burns can result from improper use.The heated jacket offers zoned heating in the right chest, left chest, and mid-back areas. The power button controls all of the areas you desire to heat. The power source will activate when the barrel plug from the jacket is inserted or when the power button on the jacket is held.
- Insert a battery pack into the power source.
- Plug the jacket power cable into the barrel outlet on the power source.
- Place the power source and battery into the battery pocket on the jacket and zip pocket closed to secure.
NOTE: Only the HART HPPS02 portable power source is suitable for use with the HART HAHJ01 Series heated jacket.
NOTE: Never allow the power source to hang loosely by the cord.
After power source is activated, the power button on the inside of the left chest controls all of the heating zones.
- Press and hold the power button on the inside of left up-per chest until the red light illuminates.
NOTE: Jacket will go through approximately a 5 minute warm-up period during the initial start-up to reach the highest heat setting. - Press and release the power button and the light on the power button will cycle through high (red), medium (white), and low (blue) settings.
- Press and hold the power button until the power button light turns off.
- If the power source is activated, the internal timer will keep the heated jacket active for approximately 8 hours. The timer starts when the power button is pressed.
WARNING
- Temperatures high enough to cause burns could occur regardless of the heat setting. Remove the jacket imme-diately and shut off the power if any discomfort occurs.
- Do not allow the power cable to become pinched. Pinched cables increase the risk of burns.NOTE: Remove the battery pack from the power source when the jacket is not in use.
- To reduce the risk of injury, user must read and under-stand the operator’s manual for their USB accessories in addition to this manual. Ensure compatibility before attaching a USB device to the power source. Do not use the power source if a part is damaged or missing.
ROUTING USB CABLE THROUGH JACKET
See Figure 6, 
When using a power source to charge or power a device while wearing the heated jacket, a convenient set of open-ings is provided through which you can route the cables.
- Connect the power source and battery pack to the jacket power cable as previously described.
- Plug the USB cable (not provided) into the USB port on the power source.
- Place the power source and battery into the battery pocket on the jacket.
- Place the power source and battery with the USB port facing upward into the battery pocket of the jacket.
- Route the USB cable through the opening in the battery pocket to the inside of the jacket.
- Thread the cable through the channel and opening leading to the pocket where you wish to carry the device being powered or charged.
- Plug the USB cable into the device you wish to power or charge and place the device into the front left hand exterior pocket or chest pocket to carry.
NOTE: You can route the jacket power cable through the opening in the back of the battery pocket before connecting to the power source and battery. Never allow the power source to hang loosely by the cord.
NOTICE: - In order to avoid potential damages due to overheating, please use the front left hand exterior pocket, inner left pocket, or chest pocket to store devices while they are being charged or powered.
CLEANING
WARNING
To reduce the risk of personal injury and damage, always remove the battery pack and power source before clean-ing the heated jacket. Never immerse the battery pack or power source in liquid or allow liquid to flow inside them.
CLEANING THE HEATED JACKET
Machine wash in cold water. Do not iron. Do not dry clean. Dry cleaning chemicals can damage the internal wiring of the jacket.
To clean the heated jacket
- Disconnect the jacket from the power source.
- Remove the battery pack and power source from the battery pocket, if applicable.NOTE: Do not allow the battery pack or power source to come into contact with any liquid while cleaning the jacket.
- Ensure power cord is contained in battery pocket before washing.
- Machine wash the jacket on gentle cycle using cold water and a mild liquid detergent.
NOTE: Do not use bleach, powdered detergents, harsh liquid detergents, or fabric softener. - Tumble dry on low heat.
NOTE: Do not wring or twist to remove water.
HAHJ01 SERIES
- A – Power button for left chest, right chest, & mid-back heating zone
- B – Battery pocket
- C – Jacket power cable
HPPS02
- A – Fuel gauge power button
- B – Fuel gauge
- C – USB port (port USB, puerto USB)
- D – Barrel outlet
Do not return this product to the store for missing parts or accessories.When calling for service, please communicate the model and serial number located on the size/warning tag inside the jacket. Model number on product may have additional letters at the end. These letters designate manufacturing information and should be provided when calling for service.
Register your product: https://HARTtools.com/register Warranty details available at www.HARTtools.com
Proof of purchase is required to validate the 3-year limited Warranty on battery, charger, and power source and 1-year limited Warranty on jacket.
HART, the HART logo and H logo are trademarks of Techtronic Cordless GP.






















