SMARTRO SC92 Wireless Indoor/Outdoor Humidity and Temperature Monitor

PRODUCT OVERVIEW

KNOW YOUR DEVICE

FRONT
- Al. Channel Selection
- A2. Outdoor Sensor Low Battery Icon A3. Max/Min Icon
- A4. Calibrated Icon
- AS. Indoor Temperature Values
- A6. Indoor Temperature Trend
- A7. Outdoor Temperature Trend
- AS. Outdoor Temperature Values A9. Record Time Icon
- AlO. Outdoor Humidity Trend
- All. Outdoor Humidity Values
- A12. Indoor Humidity Level
- A13. Indoor Humidity Trend
- A14. Indoor Humidity Values
TOP
Al5. Backlight
Touch the light button to temporarily activate the backlight.
BACK
- Bl. Integrated Hanger Opening B2. SET Button
- B3. +/MEM Button
- B4. -/ CH Button
- B5. Battery Compartment
- B6. Magnetic Attachments
- B7. °C/°F Button
- B8. Table Stand
| Buttons | Function Description |
| SET | Press and hold “SET” button for 3 seconds to enter calibration mode. |
| Press “SET” button to confirm your changes. | |
|
+/MEM | Press “+/MEM” button in normal mode to enter the 24hrs or All-time mode for maximum and minimum readings. |
| Press and hold “+/MEM” button to manually clear the maximum and minimum records for temperature and humidity in current view. |
|
-/CH | Press “-/CH” button on the main monitor to select the CHl, CH2, CH3, or autoscroll mode of CH1-CH3 channel. |
| Press and hold “-/CH” button for 2 seconds to search for signals from remote sensor. | |
| Button is used when calibrating or toggling records. | |
| °C/°F | Button used for toggling temperature units. |
Table Stand

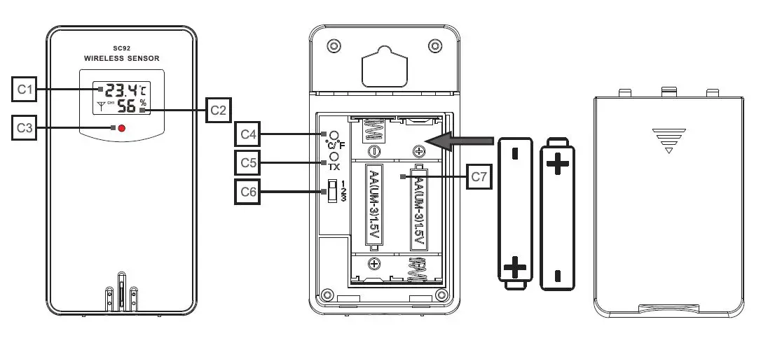
Wireless Remote Sensor
- Cl: LCD display – Temperature C2: LCD display – Humidity
- C3: Transmit signal LED
- C4: “°C/° F” button
- C5: “TX” button For sending out signals manually.
- C6: “CHANNEL 1 or 2 or 3” switch
- C7: Battery compartment
SPECIFICATIONS
- Indoor/outdoor humidity and temperature monitor
- Alternating 24-hour & all-time settings
- Backlight function
- Humidity measurable range: 1%RH ~99%RH
- Humidity accuracy: ±2%RH
- Temperature:
- Indoor measurement range: -9.9°C (14.2° F) ~
+ S0.0°C (122.0° F) - Outdoor measurement range: -40°C (-40° F) ~
+ 70.0°C (158.0° F) - Switchable between ° For °C
- Temperature accuracy: ±0.5 ° F
- Indoor measurement range: -9.9°C (14.2° F) ~
- Minimum/maximum display for humidity and temperature
- Humidity level indicator
- Wireless remote sensor
- 3 channels available
- Built-in wall mount, table stand and magnets
- 200ft transmission range in open areas
Battery Powered:
Main monitor: 2xAAA 1.SV
Wireless remote sensor: 2xAA 1.SV
Note:
Different batteries have different temperature limits. The wireless remote sensor can work at -40°C to 70°C, please choose the right battery depending on your needs.
Alkaline zinc manganese batteries work at -20°C to 60°C. Polymer lithium ion rechargeable batteries work at -40°C to 70°C.
The wireless remote sensor is not waterproof. You should avoid leaving the sensor out in rain or under direct sunlight.
COMPONENTS
- Humidity and temperature monitor *1
- Instruction manual *1
- Wireless remote sensor *1
SET UP
Install or Replace Batteries
Batteries must be installed for the main monitor and remote sensor to work.
Main monitor
- Slide off the battery cover of the main monitor.
- Insert 2x AAA batteries and ensure that poles [“+”and “-“] are correct.
- Close battery cover.
- Main monitor will automatically start in normal mode.
Wireless remote sensor
- Slide off battery cover from wireless remote sensor.
- Insert 2xAA batteries and ensure that poles [“+”and “-“] are correct.
- Select channel through the “l 2 3” knobs for wireless remote sensor.
- The indicator will light up once to indicate that the detected temperature and humidity have been transmitted by wireless remote sensor.
- Close battery compartment.
Synchronize remote sensors with main monitor
- Place the remote sensor near main monitor.
- Once batteries are installed in main monitor, the RF signal icon 1ocated on the upper left side of the display will flash for 3 minutes. This indicates that the main unit is in synchronization mode and waiting for the remote sensor to connect.
- If the RF signal icon stops flashing after 3 minutes, press and hold “-/CH” button for 2 seconds until the RF signal flashing again to set the main unit back in synchronization mode.
- Press” -/CH” button on the main monitor to select CHl, CH2, CH3, or CHl- CH3 (auto-alternating display from CHl to CH3
every 5 seconds with icon C displaying on the upper left side of the display). - Install batteries for the remote sensor and select channel with numbered knobs (1, 2, and 3) to select CHl, CH2, or CH3.
- Ensure that main monitor and remote sensor are on the same channel. When the main monitor successfully receives signals from the remote sensor, the temperature and humidity detected by the remote sensor will show on the main monitor LCD display.
- The main monitor can connect up to 3 remote sensors at the same time. If multiple sensors are used simultaneously, please repeat above steps after installing batteries to connect other remote sensors, make sure these sensors on different channels. Press ” -/CH” button on the main monitor to view the readings of each channel.
- If the main monitor fails to synchronize with the remote sensor on any channel. Adjust the main monitor to the corresponding channel, press and hold “-/CH” button for 2 seconds to search signals for the remote sensor. Press “TX” button inside the battery bay of the corresponding remote sensor to send out signals manually.
Toggle Fahrenheit or Celsius
To select Fahrenheit or Celsius, press “°C/° F ” button located on the back of the monitor.
Placement for Maximum Accuracy
The main monitor is equipped with a high-performance sensor. Because this device is sensitive to surrounding environment conditions, it is important to place the monitor in an ideal spot for the most accurate readings. Place the monitor in a dry area free of dirt and dust, out of direct sunlight, and away from heats sources or vents. To ensure accurate humidity measurement, place monitor, away from humidity sources. The wireless remote sensor is not waterproof and should also avoid prolonged contact with direct sunlight. You can place it under a covering to avoid both rain and sun.
USING YOUR DEVICE
Maximum and Minimum Records
- The SC92 displays maximum and minimum records for both temperature and humidity.
- “24hr” refers to maximum and minimum readings from the last 24 hours.
- “All-time” refers to maximum and minimum readings since batteries were installed.
- Press “+/MEM” button in normal mode to enter 24hr or All-time mode.
- Press “-/CH” button to choose the channel to display on the monitor.
- Options: CHl, CH2, CH3, and CH1-CH3 (auto-alternating display from CHl to CH3 every 5 seconds).
- Press and hold “+/MEM” button to manually clear the maximum and minimum records currently being viewed. Dashes will display to confirm that you have cleared the records.
Note: Records will be erased if batteries are removed.
Backlight
Touch ·Q’.- or press any button to temporarily activate the backlight for 10 seconds.
Note: The backlight can’t be set to be on permanently.
Calibration
Calibration can improve accuracy when product placement or environmental factors impact your data accuracy.
As part of the calibration process, you will calibrate the monitor and each connected channel sequentially, the steps for which are outlined below. To exit calibration mode at any point and save your adjustments, leave the monitor for 10 seconds.
Note: This product has passed professional testing and calibration. No extra calibration is required before use.
Calibrations will be erased if the batteries are removed.
Adjustments below are relative to temperature and humidity readings currently viewed. Humidity adjustable range: ±9%RH
Temperature adjustable range: ± S.4″F (±3″C)
- To access calibration mode, press and hold “SET” button for 3 seconds. Indoor temperature display flashes.
- Press “+/MEM” or “-/CH” button to increase or decrease the temperature for the indoor display.
- Press “SET” button to confirm. Indoor humidity display flashes.
- Press “+/MEM” or “-/CH” button to increase or decrease the humidity for the indoor display.
- Press “SET” button to confirm. Outdoor temperature display of channel 1 flashes.
- Press “+/MEM” or “-/CH” button to increase or decrease the temperature for the outdoor display.
- Press “SET” button to confirm. Outdoor humidity display of channel 1 flashes.
- Press “+/MEM” or “-/CH” button to increase or decrease the humidity for the outdoor display.
- Press “SET” button to confirm. Outdoor temperature display of channel 2 flashes.
- Press “+/MEM” or “-/CH” button to increase or decrease the temperature for the outdoor display.
- Press “SET” button to confirm. Outdoor humidity display of channel 2 flashes.
- Press “+/MEM” or “-/CH” button to increase or decrease the humidity for the outdoor display.
- Press “SET” button to confirm. Outdoor temperature display of channel 3 flashes.
- Press “+/MEM” or “-/CH” button to increase or decrease the temperature for the outdoor display.
- Press “SET” button to confirm. Outdoor humidity display of channel 3 flashes.
- Press “+/MEM” or “-/CH” button to increase or decrease the humidity for the outdoor display.
- Press “SET” button to confirm.
- Main monitor will automatically enter into normal service mode.
Note:
- The display will save the adjustments and exit calibration mode after 10 seconds of inactivity.
- The calibration process will finish after you have completed the calibration of all connected channels.
- Calibrations will be erased if the batteries are removed.
TROUBLESHOOTING

After-sales Support
If your device fails to work or you are less than completely satisfied with this product in any way, please don’t hesitate to contact us. For further support and discount information, join our Facebook group or follow us on lnstagram.


- +1(323)287-5798
- http://bit.ly/smartro_Ol
- [email protected]
- smartro_Ol
- Website: https://www.smartro.co/
FCC Statement:
This device complies with part 15 of the FCC Rules. Operation is subject to the following two conditions:
- ) This device may not cause harmful interference, and
- ) this device must accept any interference received, including interference that may cause undesired operation.
This equipment has been tested and found to comply with the limits for a Class B digital device, pursuant to part 15 of the FCC Rules. These limits are designed to provide reasonable protection against harmful interference in a residential installation. This equipment generates, uses, and can radiate radio frequency energy and, if not installed and used in accordance with the instructions, may cause harmful interference to radio communications. However, there is no guarantee that interference will not occur in a particular installation. If this equipment does cause harmful interference to radio or television reception, which can be determined by turning the equipment off and on, the user is encouraged to try to correct the interference by one or more of the following measures:
- Reorient or relocate the receiving antenna.
- Increase the separation between the equipment and receiver.
- Connect the equipment into an outlet on a circuit different from that to which the receiver is connected.
- Consult the dealer or an experienced radio/TV technician for help.
Caution:
Any changes or modifications not expressly approved by the party responsible for compliance could void the user’s authority to operate the equipment. This equipment complies with FCC radiation exposure limits set forth for an uncontrolled environment. This transmitter must not be co‐located or operating in conjunction with any other antenna or transmitter.





















