NEMO LIGHTING 072FOX000200 FOX wall

Box contents 
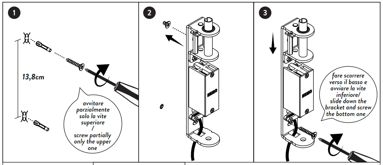
Installation 


Disassembly of Anti-glare accessory
CAUTION
Symbols and guarantee of the fixture are described in the enclosed sheet. / Disconnect power before proceeding with the installation of the fixture. / In the absence of the IP symbol, fi xture is only for indoor installation. / Use only bulbs of suitable type and power specified in the label. / Safety is guaranteed only if installation is carried out by a qualified electrician. /Products with anodized
fi nishes could show different color shades due to the industrial galvanic process. Shades have to be considered as aesthetic elements of the product. /Polishing process is hand-made. Shades are therefore due to this manual process. / Dimensions of products made with deformations of extrusions could be subject to changes of ±1cm. / As blown glass is produced by traditional craft techniques, its thickness, color and finish are subject to variations,a feature that makes each piece unique. /Do not install fixture in ambiences with presence of chlorine, salt air or aggressive agents, if not expressly mentioned. / The color tempetature (CCT) of LED sources can be different from the declared nominal value between a range of ±5%. /NEMO reserves the right to make any technical or formal alterations to its products without giving prior notice, especially for LED sources. /We recommend you to keep instructions for further consultations.
This lamp has been manufactured in conform-ity with EU Directive 2002/96/EC. The crossed-out wheelie bin symbol marked on the appliance means that it was put on the market after 13th August 2005 and that it must therefore be disposed of separately from household waste. Separate disposal of this product prevents any negative effects to public health and the environment deriving from unsuitable disposal and allows the materials it is made of to be recovered to achieve considerable savings of power and resources. The end user is responsible for delivering the appliance, at the end of its working life, to a suitable collection facility. Failure to do so will be punished according to the current national legislation. For detailed information on collection systems and methods, please contact the relative office in your town, the local waste disposal service or the shop where you purchased the product.
Lamping
LED, 15W, 839 lm, 110-240V, 2700K , 50/60Hz dimmable (on board)
This product contains a light source of energy class “F” 
INSTRUCTIONS FOR LAMP CLEANING
To clean the lamp, use only a soft cloth.
Viale Brianza, 30 – 20823 Lentate sul Seveso (MB) ITALY Tel +39 0362 166 05 00 –
Fax +39 0362 372 996
[email protected]
nemolighting.com
Copyright © 2021 NEMO Srl Milano, Italia.
The text and images are protected by copyright. Unauthorized reproduction.

























