Paul Neuhaus 835629 Carlo Outdoor Wall Light Instruction Manual
Package Contents

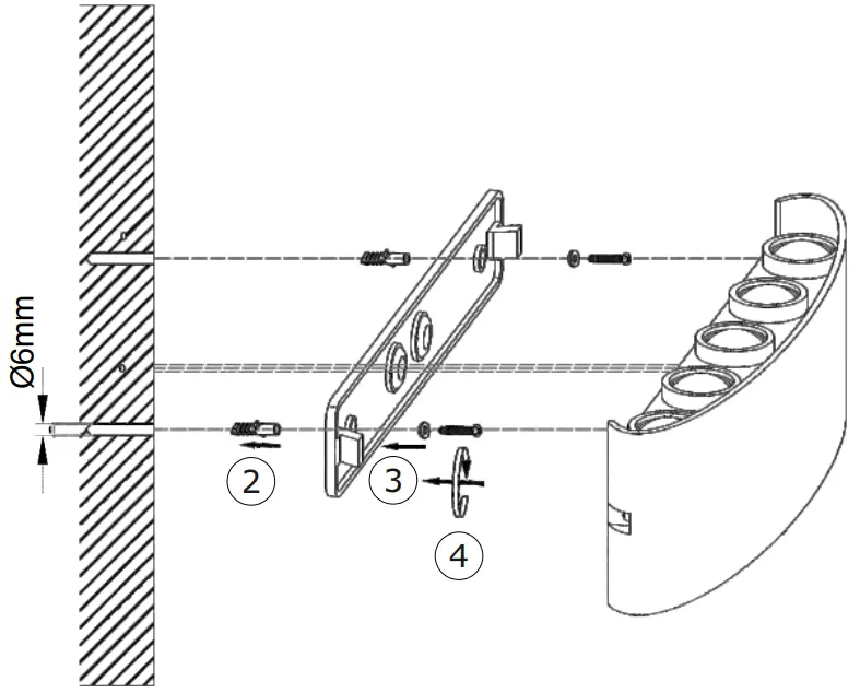
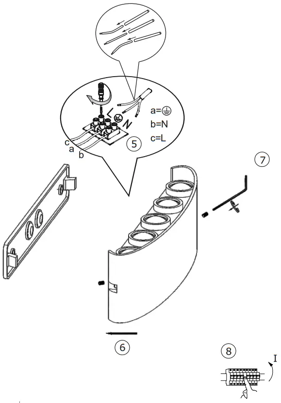
Assembly Instructions



Specifications
0,8 W
120 lm
10 W
960 lm
20.000 h
3.000 K
15.000 x
< 0,5 s![]()

Paul Neuhaus GmbH
Olakenweg 36 • D-59457 Werl
+49(0)2922 9721 9290
[email protected]
www.paul-neuhaus.de




















