Nitrofit Plus
Instruction Manual

Precautions
IMPORTANT SAFETY INSTRUCTIONS:

- Do not plug this product into a power outlet until it is fully assembled.
- Parts of this product may be too heavy for some poeple to assemble by themselves. Have a second person available to help with assembly if you suspect that the parts are too heavy to handle alone.
- Never leave children unattended when using this machine. There are moving parts such as the platform that can injure a childs hands or feet if caught.
- Use this appliance only for its intended use as described in this manual. Do not use any attachments that are not certified by the manufacturer.
- Never operate this appliance if it has a damaged cord or plug . If you notice any signs of water damage, do not use the machine and contact customer service.
- Do not allow moisture or perspiration to build up on the vibration platform. Use a towel to wipe up moisture or place the provided moisture absorbing exercise mat on the platform during exercises where moisture may occur. Failure to do so may result in water damage to the electronic components under the vibration platform. Medvibe will not warranty units with noticeable moisture damage.
- Do not use this product outdoors.
- To disconnect turn all controls to the off position then remove plug from outlet.
- This model is only intended for semi-commerical and personal household use. Use of this product in a commercial setting may lead to product failure and will void your warranty.
- This product must be grounded. If it should malfunction or breakdown, grounding provides a path of least resistance for an electric current to reduce the risk of electric shock. This product is equipped with a grounded cord. Make sure that the plug is properly installed and grounded in accordance with all local codes and ordinaces.
WARNING!

WARNING!

To avoid electric shock when using this system:
- Do not use the Nitro Fit during a lightning storm.
- Use only the AC Adapter that comes with your system.
- Do not use the AC Adapter if it has damaged, split or broken cords or wires.
- Make sure that the AC Adapter cord is fully inserted into the wall outlet or extension cord.
- Always carefully disconnect all plugs by pulling on the plug and not on the cord.
- Make sure the Nitro Fit power button is turned OFF before removing the AC Adapter cord from an outlet.
CAUTION!

It may be unsafe to use this machine if you have any of the following conditions:
- Pregnancy
- Acute thrombosis
- Serious cardiovascular disease
- Pacemaker
- Recent wounds from an operation or surgery
- Artificial joints
- Acute hernia, discopathy, spondylolysis
- Severe diabetes
- Epilepsy
- Recent infections
- Severe Migraines
- Tumors
- Recently placed IUD’s, metal pins, or plates
Use of this product while impaired by any of the above conditions should be performed only after a doctor has deemed it necessary and may result in further injury
Features & Applications
Physical Effects of Nitro Fit Deluxe Plus
NitroFit Vibration Training burns calories, engages muscles, and helps to increase your metabolism. Regardless of what age or gender you are, proper vibration training workouts will help you to develop muscle and in turn lose weight. Many Nitro Fit users don’t have time to go to the gym and hate regular exercise. The “Basic 10” is a simple ten minute whole body training session that involves performing exercises on the platform such as squats, push-ups, dips, and standing positions. (See exercise chart) Combine our workouts with a sensible diet and your weight loss will be accelerated.
For the active gym goer who focuses on lifting weights to develop muscle, NitroFit is the perfect compliment. Use your NitroFit WBV machine for warm up exercises and watch as your weight lifting abilities increase dramatically. NitroFit primes your muscles with blood and endorphins to provide explosive strength, power, flexibility and speed. No time for the gym, No problem! Use Nitrofit as a 10-15 minute workout to supplement your missed gym days. Attach the adjustable arm bands that can provide up to 50lbs of resistance in each arm. Combine bicep curls, upright rows and more to standing positions on the platform for a sweat breaking workout.
Many people suffering from osteoporosis, MS, Parkinson’s, Fibromyalgia and other developmental disabilities can’t perform traditional exercises in the gym. Users can stand on or rest specific part of their body on the NitroFit platform to loosen up sore muscles, build bone density, retrain atrophied muscles, strengthen tendons, and increase blood flow. Additionally, chiropractors and physical Therapists use NitroFit to force movement into their patients tight or sore muscles. Many of our NitroFit customers report immediate relief from back and neck pain. Regular use of NitroFit WBV can strengthen your body and prevent various pain from recurring.
NITRO FIT Deluxe Plus Product Features
- Net Weight: 102 lbs
- Max Power: 2 HP
- Speed Range: 30 Levels
- Adjustable upper body resistance bands
- Amplitude: 13mm Max
- Frequency: Controlled for comfort Oversized platform: 14″ x 22.5″
- Full length exercise mat
- Platform exercise mat
- Bearings: Commercial grade
- Exercise Towel
NITRO FIT Deluxe Plus Product Specifications
- Ergonomic construction with sleek design
- Large LCD display showing TIME,SPEED,BODY FAT, and PULSE RATE
- Durable steel frame with TPR covering.
- Quality 110 V DC Motor
- Overload Current Protection, anti-jamming and anti-static
- CE/RoHS certified
Assembly Instructions
NITRO FIT Deluxe Plus Parts List
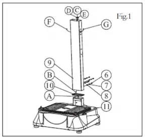
- Refer to the diagram below to identify the components of the Nitro Fit Deluxe Plus .

NOTE:
Please make sure you have all washers, screws and bolts before assembling your system.
- Place the Post (9) onto the Base Unit (11). Note: The vibration absorber (10) has been pre-attached in the base for you by the factory. Connect the Base Unit Wire Connector (A) to the Post Bottom Wire Connector (B). Affix the Post to the Base Unit, secure it with Flat Washers (8), Spring washers (7) and Bolts (6) provided. See Figure 1.

- Place the Right Handle Bar (2) near the Post (9). Connect the Right Handle Wire Connector (L) to the Post Side Wire Connector (G). Align the Right Handle Bar (2) to the Post and fasten with Flat Washers (8), Spring Washers (7), and Bolts (6). Place the Left Handle Bar (3) near the Post (9). Connect the Left Handle Wire Connector (K) to the Post Side Wire Connector (F). Align the Left Handle Bar (3) to the Post and fasten with Flat Washers (8), Spring Washers (7), and Bolts (6). Note: K,F and G,L may be pre-assembled and coiled in the left(3) and right(2) Handle Bars. If so, run connector wires from each handlebar into the holes on either side of the post (9). Then pull wires up through the top of the post(9) See Figure 2.

- Place the Control Panel (1) near the Post (9). Connect the Control Panel Wire Connector (I) to the Post Top Wire Connector (C). Connect the Control Panel Wire Connectors (H, J) to the Post Top Wire Connectors (D, E). Align the Control Panel to the Post and fasten with Flat Washers (5) and Bolts (4). Connect resistance bands (12) to the loop holes on the platform base. See Figure 3.

NOTE: INSPECT AND BALANCE MACHINE BEFORE USE!

Operations
The NITRO FIT Deluxe Plus is very simple to operate. Turn the power switch located at the bottom of the machine to the on position. Then use the LCD control panel as follows:
Display Button functions:

- “ON/OFF”-Activates manual operation and programs “P1-P5”
- “PROGRAM” -Cycles through program options (Manual,FA,P1-P5)
- “MODE”-Cycles through display options (SPEED, PROGRAM)
- “ENTER”- Confirms selections in the body fat reading program”FA”.
- “+”or “-” – Increases or decreases vibration speed during operation, adjusts pre-set timers, or height/weight/gender selection while in body fat reading program “FA”.
Display Layout:
The head unit is partitioned into 7 informational windows:
Window 1: Displays Program Selection, Gender Selection and Unit Selection
Window 2: Displays Meter Bars and Program Settings
Window 3: Displays Active Gender
Window 4: Displays Pulse
Window 5: Displays Calories Burned
Window 6: Displays Remaining Time
Window 7: Displays Vibration Speed Setting
To Operate the machine:
- Press ON/ OFF button to start or stop the machine
- To Set up your work out time: Press “MODE” to select ‘TIME” or “CALORIES” display. Select “TIME”to set up your workout time. When you see “000” flash on the screen in window 6, you can press “+’”(up) to increase or “-” (down) to decrease the timer from 1 to 10 minutes. Default workout time is 10 minutes.
- Set up speed (frequency) range: Once the “ON/OFF” button is pressed, the platform will begin to move. You can adjust the speed range by pressing “+” (up) to increase or “-” (down) to decrease the speed (frequency) of your machine. There are total 30 speed levels displayed in window 7.
- Built-in programs: Before you start workout, you can choose one of the built-in programs by pressing the button “PROGRAM”. You can see programs display in screen window 1 in sequences “P1-P2-P3-P4-P5-FA”. The five built in programs have pre-set speeds that automatically change every minute. You can’t adjust speed settings in a program mode . To control speed settings use manual mode.
How to use the body fat calculator program “FA”
- Ensure that the platform is deactivated and the screen is illuminated blue. Push the “PROGRAM” button until the screen reads “FA”. Push the “ENTER” button and select your gender icon. Hit “ENTER”
- The screen will now ask you to input your height, age, and weight. Press “ENTER” after each parameter ( age, height , weight,) that you input to move to the next screen.
NOTE: Height and weight are calculated in metric units.
To calculate your height in metric units, multiply your height in inches by .0254. Enter this number using the “+” and “-” buttons and hit “ENTER”. To calculate your weight Kilos, multiply your weight in pounds by 2.2 and enter the results using the “+” and “-“buttons and hit “ENTER”. - The screen will now display “—“. Place each of your hands over the pulse contacts on each handlebar and squeeze lightly for up to 5 seconds. A two digit number will appear on the screen. This number is your BMI (Body Mass Index) Remember this number and see chart below for reference.

NOTE: Results may vary. This machine uses a Bioelectrical impedance analysis system that calculates total body water and estimates body mass. Accuracy is not guaranteed. For the most effective body fat testing, please consult with a physician or certified personal trainer.
Suggested Use
NITRO FIT Deluxe Plus SUGGESTED USE
- The NITRO FIT Deluxe Plus will provide optimal results when used for 10 minutes a day for 3 days a week.
- Additional use is not recommended. Should you choose to extend your work out on the Nitro Fit Deluxe Plus , please limit your work out to a maximum of two 15 minute sessions in one day.
- Get off the machine immediately if you feel light headed, dizzy, or any other abnormal dis comfort.
- While the NITRO FIT Deluxe Plus can be used as a stand alone work out, adding resistance training to your regimen will yield faster fitness results.
- As with any exercise program your diet is just as important as your work-out. Using the NITRO FIT Deluxe Plus in conjunction with a healthy diet will also yield faster fitness results.
TIPS TO READ BEFORE USE:
Troubleshooting





Nitrofit Deluxe Plus User Manual – Optimized PDF
Nitrofit Deluxe Plus User Manual – Original PDF




















