HiKOKI M3612DA 36V Brushless MultiVolt Variable Speed Router

GENERAL POWER TOOL SAFETY WARNINGS
WARNING
Read all safety warnings, instructions, illustrations and specifications provided with this power tool.
Failure to follow all instructions listed below may result in electric shock, fi re and/or serious injury.
Save all warnings and instructions for future reference.
The term “power tool” in the warnings refers to your mainsoperated (corded) power tool or battery-operated (cordless) power tool.
Work area safety
a) Keep work area clean and well lit.
Cluttered or dark areas invite accidents.
b) Do not operate power tools in explosive atmospheres, such as in the presence of flammable liquids, gases or dust.
Power tools create sparks which may ignite the dust or fumes.
c) Keep children and bystanders away while operating a power tool.
Distractions can cause you to lose control.
Electrical safety
a) Power tool plugs must match the outlet. Never modify the plug in any way. Do not use any adapter plugs with earthed (grounded) power tools.
Unmodifi ed plugs and matching outlets will reduce risk of electric shock.
b) Avoid body contact with earthed or grounded surfaces, such as pipes, radiators, ranges and refrigerators.
There is an increased risk of electric shock if your body is earthed or grounded.
c) Do not expose power tools to rain or wet conditions.
Water entering a power tool will increase the risk of electric shock.
d) Do not abuse the cord. Never use the cord for carrying, pulling or unplugging the power tool.
Keep cord away from heat, oil, sharp edges or moving parts.
Damaged or entangled cords increase the risk of electric shock.
e) When operating a power tool outdoors, use an extension cord suitable for outdoor use.
Use of a cord suitable for outdoor use reduces the risk of electric shock.
f) If operating a power tool in a damp location is unavoidable, use a residual current device (RCD) protected supply.
Use of an RCD reduces the risk of electric shock.
Personal safety
a) Stay alert, watch what you are doing and use common sense when operating a power tool.
Do not use a power tool while you are tired or under the infl uence of drugs, alcohol or medication.
A moment of inattention while operating power tools may result in serious personal injury.
b) Use personal protective equipment. Always wear eye protection.
Protective equipment such as a dust mask, non-skid safety shoes, hard hat or hearing protection used for appropriate conditions will reduce personal injuries.
c) Prevent unintentional starting. Ensure the switch is in the off -position before connecting to power source and/or battery pack, picking up or carrying the tool.
Carrying power tools with your fi nger on the switch or energising power tools that have the switch on invites accidents.
d) Remove any adjusting key or wrench before turning the power tool on.
A wrench or a key left attached to a rotating part of the power tool may result in personal injury.
e) Do not overreach. Keep proper footing and balance at all times.
This enables better control of the power tool in unexpected situations.
f) Dress properly. Do not wear loose clothing or jewellery. Keep your hair and clothing away from moving parts.
Loose clothes, jewellery or long hair can be caught in moving parts.
g) If devices are provided for the connection of dust extraction and collection facilities, ensure these are connected and properly used.
Use of dust collection can reduce dust-related hazards.
h) Do not let familiarity gained from frequent use of tools allow you to become complacent and ignore tool safety principles.
A careless action can cause severe injury within a fraction of a second.
Power tool use and care
a) Do not force the power tool. Use the correct power tool for your application.
The correct power tool will do the job better and safer at the rate for which it was designed.
b) Do not use the power tool if the switch does not turn it on and off .
Any power tool that cannot be controlled with the switch is dangerous and must be repaired.
c) Disconnect the plug from the power source and/ or remove the battery pack, if detachable, from the power tool before making any adjustments, changing accessories, or storing power tools.
Such preventive safety measures reduce the risk of starting the power tool accidentally.
d) Store idle power tools out of the reach of children and do not allow persons unfamiliar with the power tool or these instructions to operate the power tool.
Power tools are dangerous in the hands of untrained users.
e) Maintain power tools and accessories. Check for misalignment or binding of moving parts, breakage of parts and any other condition that may aff ect the power toolʼs operation. If damaged, have the power tool repaired before use.
Many accidents are caused by poorly maintained power tools.
f) Keep cutting tools sharp and clean. Properly maintained cutting tools with sharp cutting edges are less likely to bind and are easier to control.
g) Use the power tool, accessories and tool bits etc. in accordance with these instructions, taking into account the working conditions and the work to be performed.
Use of the power tool for operations diff erent from those intended could result in a hazardous situation.
h) Keep handles and grasping surfaces dry, clean and free from oil and grease.
Slippery handles and grasping surfaces do not allow for safe handling and control of the tool in unexpected situations.
Battery tool use and care
a) Recharge only with the charger specifi ed by the manufacturer.
A charger that is suitable for one type of battery pack may create a risk of fi re when used with another battery pack.
b) Use power tools only with specifi cally designated battery packs.
Use of any other battery packs may create a risk of injury and fire.
c) When battery pack is not in use, keep it away from other metal objects, like paper clips, coins, keys, nails, screws or other small metal objects, that can make a connection from one terminal to another.
Shorting the battery terminals together may cause burns or a fire.
d) Under abusive conditions, liquid may be ejected from the battery; avoid contact. If contact accidentally occurs, fl ush with water. If liquid contacts eyes, additionally seek medical help.
Liquid ejected from the battery may cause irritation or burns.
e) Do not use a battery pack or tool that is damaged or modifi ed.
Damaged or modifi ed batteries may exhibit unpredictable behaviour resulting in fi re, explosion or risk of injury.
f) Do not expose a battery pack or tool to fi re or excessive temperature.
Exposure to fi re or temperature above 130°C may cause explosion.
g) Follow all charging instructions and do not charge the battery pack or tool outside the temperature range specifi ed in the instructions.
Charging improperly or at temperatures outside the specifi ed range may damage the battery and increase the risk of fire.
Service
a) Have your power tool serviced by a qualifi ed repair person using only identical replacement parts.
This will ensure that the safety of the power tool is maintained.
b) Never service damaged battery packs.
Service of battery packs should only be performed by the manufacturer or authorized service providers.
PRECAUTION
Keep children and infi rm persons away.
When not in use, tools should be stored out of reach of children and infi rm persons.
CORDLESS ROUTER SAFETY WARNINGS
- Hold the power tool by insulated gripping surfaces, when performing an operation where the cutting accessory may contact hidden wiring.
Cutting accessory contacting a “live” wire may make exposed metal parts of the power tool “live” and could give the operator an electric shock. - Use clamps or another practical way to secure and support the workpiece to a stable platform.
Holding the work by your hand or against the body leaves it unstable and may lead to loss of control. - Single-hand operation is unstable and dangerous.
Ensure that both handles are gripped fi rmly during operation. - The bit is very hot immediately after operation. Avoid bare hand contact with the bit for any reason.
- Use bits of the correct shank diameter suitable for the speed of the tool.
ADDITIONAL SAFETY WARNINGS
- Always charge the battery at a temperature of 0°C–40°C.
A temperature of less than 0°C will result in over charging which is dangerous. The battery cannot be charged at a temperature higher than 40°C.
The most suitable temperature for charging is that of 20°C–25°C. - Do not use the charger continuously.
When one charging is completed, leave the charger for about 15 minutes before the next charging of battery. - Do not allow foreign matter to enter the hole for connecting the rechargeable battery.
- Never disassemble the rechargeable battery and charger.
- Never short-circuit the rechargeable battery.
Shortcircuiting the battery will cause a great electric current and overheat. It results in burn or damage to the battery. - Do not dispose of the battery in fi re. If the battery is burnt, it may explode.
- Bring the battery to the shop from which it was purchased as soon as the post-charging battery life becomes too short for practical use. Do not dispose of the exhausted battery.
- Do not insert object into the air ventilation slots of the charger. Inserting metal objects or infl ammables into the charger air ventilation slots will result in electrical shock hazard or damaged charger.
- When using this unit continuously, the unit may overheat, leading to damage in the motor and switch. Therefore, whenever the housing becomes hot, give the tool a break for a while.
- If the machine is used continuously at low speed, an extra load is applied to the motor which can result in motor seizure. Always operate the power tool so that the blade is not caught by the material during operation.
Always adjust the blade speed to enable smooth cutting. - Preparing and checking the work environment. Make sure that the work site meets all the conditions laid forth in the precautions.
- Make sure that the battery is installed fi rmly. If it is at all loose it could come off and cause an accident.
- Handle the bits very carefully.
- Check the bit carefully for cracks or damage before operation. Replace cracked or damaged bit immediately.
- Avoid cutting nails. Inspect for and remove all nails from the workpiece before operation.
- Hold the tool fi rmly with both hands.
- Make sure the bit is not contacting the workpiece before the switch is turned on.
- Before using the tool on an actual workpiece, let it run for a while. Watch for vibration or wobbling that could indicate improperly installed bit.
- Be careful of the bit rotating direction and the feed direction.
- Always switch off and wait for the bit to come to a complete stop before removing the tool from workpiece.
- After changing the bits or making any adjustments, make sure the collet chuck and any other adjustment devices are securely tightened.
Loose adjustment device can unexpectedly shift, causing loss of control, loose rotating components will be violently thrown. - Do not expose directly your eye to the light by looking into the light.
If your eye is continuously exposed to the light, your eye will be hurt. - Never touch moving parts.
Never place your hands, fi ngers or other body parts near the tool’s moving parts. - NEVER leave tool running unattended. Turn power off .
Don’t leave tool until it comes to a complete stop. - The power tool is equipped with a temperature protection circuit to protect the motor. Continuous work may cause the temperature of the unit to rise, activating the temperature protection circuit and automatically stopping operation. If this happens, allow the power tool to cool before resuming use.
- Do not give a strong shock to the switch panel or break it.
It may lead to a trouble. - Do not use the product if the tool or the battery terminals (battery mount) are deformed.
Installing the battery could cause a short circuit that could result in smoke emission or ignition. - Keep the tool’s terminals (battery mount) free of swarf and dust.
○ Prior to use, make sure that swarf and dust have not collected in the area of the terminals.
○ During use, try to avoid swarf or dust on the tool from falling on the battery.
○ When suspending operation or after use, do not leave the tool in an area where it may be exposed to falling swarf or dust.
Doing so could cause a short circuit that could result in smoke emission or ignition. - Always use the tool and battery at temperatures between -5°C and 40°C.
CAUTION ON LITHIUM-ION BATTERY
To extend the lifetime, the lithium-ion battery equips with the protection function to stop the output.
In the cases of 1 to 3 described below, when using this product, even if you are pulling the switch, the motor may stop. This is not the trouble but the result of protection function.
- When the battery power remaining runs out, the motor stops.
In such a case, charge it up immediately. - If the tool is overloaded, the motor may stop. In this case, release the switch of tool and eliminate causes of overloading. After that, you can use it again.
- If the battery is overheated under overload work, the battery power may stop. In this case, stop using the battery and let the battery cool. After that, you can use it again.
Furthermore, please heed the following warning and caution.
WARNING
In order to prevent any battery leakage, heat generation, smoke emission, explosion and ignition beforehand, please be sure to heed the following precautions.
- Make sure that swarf and dust do not collect on the battery.
○ During work make sure that swarf and dust do not fall on the battery.
○ Make sure that any swarf and dust falling on the power tool during work do not collect on the battery.
○ Do not store an unused battery in a location exposed to swarf and dust.
○ Before storing a battery, remove any swarf and dust that may adhere to it and do not store it together with metal parts (screws, nails, etc.). - Do not pierce battery with a sharp object such as a nail, strike with a hammer, step on, throw or subject the battery to severe physical shock.
- Do not use an apparently damaged or deformed battery.
- Do not use the battery in reverse polarity.
- Do not connect directly to an electrical outlets or car cigarette lighter sockets.
- Do not use the battery for a purpose other than those specifi ed.
- If the battery charging fails to complete even when a specifi ed recharging time has elapsed, immediately stop further recharging.
- Do not put or subject the battery to high temperatures or high pressure such as into a microwave oven, dryer, or high pressure container.
- Keep away from fi re immediately when leakage or foul odor are detected.
- Do not use in a location where strong static electricity generates.
- If there is battery leakage, foul odor, heat generated, discolored or deformed, or in any way appears abnormal during use, recharging or storage, immediately remove it from the equipment or battery charger, and stop use.
- Do not immerse the battery or allow any fluids to flow inside. Conductive liquid ingress, such as water, can cause damage resulting in fiGHFre or explosion. Store your battery in a cool, dry place, away from combustible and flammable items. Corrosive gas atmospheres must be avoided.
CAUTION
- If liquid leaking from the battery gets into your eyes, do not rub your eyes and wash them well with fresh clean water such as tap water and contact a doctor immediately.
If left untreated, the liquid may cause eye-problems. - If liquid leaks onto your skin or clothes, wash well with clean water such as tap water immediately. There is a possibility that this can cause skin irritation.
- If you find rust, foul odor, overheating, discolor, deformation, and/or other irregularities when using the battery for the fi rst time, do not use and return it to your supplier or vendor.
WARNING
If a conductive foreign matter enters in the terminal of lithium ion battery, the battery may be shorted, causing fi re. When storing the lithium ion battery, obey surely the rules of following contents.
○ Do not place conductive debris, nail and wires such as iron wire and copper wire in the storage case.
○ To prevent shorting from occurring, load the battery in the tool or insert securely the battery cover for storing until the ventilator is not seen.
REGARDING LITHIUM-ION BATTERY TRANSPORTATION
When transporting a lithium-ion battery, please observe the following precautions.
WARNING
Notify the transporting company that a package contains a lithium-ion battery, inform the company of its power output and follow the instructions of the transportation company when arranging transport.
○ Lithium-ion batteries that exceed a power output of 100 Wh are considered to be in the freight classifi cation of Dangerous Goods and will require special application procedures.
○ For transportation abroad, you must comply with international law and the rules and regulations of the destination country.
○ If the BSL36B18 is installed in the power tool, the power output will exceed 100 Wh and the unit will be classifi ed as Dangerous Goods for freight classification.
USB DEVICE CONNECTION PRECAUTIONS (UC18YSL3)
When an unexpected problem occurs, the data in a USB device connected to this product may be corrupted or lost.
Always make sure to back up any data contained in the USB device prior to use with this product.
Please be aware that our company accepts absolutely no responsibility for any data stored in a USB device that is corrupted or lost, nor for any damage that may occur to a connected device.
WARNING
- Prior to use, check the connecting USB cable for any defect or damage. Using a defective or damaged USB cable can cause smoke emission or ignition.
- When the product is not being used, cover the USB port with the rubber cover. Buildup of dust etc. in the USB port can cause smoke emission or ignition.
NOTE
- There may be an occasional pause during USB recharging.
- When a USB device is not being charged, remove the USB device from the charger. Failure to do so may not only reduce the battery life of a USB device, but may also result in unexpected accidents.
- It may not be possible to charge some USB devices, depending on the type of device.
< USB charging>
- Charging a USB device from an electrical outlet (Fig. 27-a)
- Charging a USB device and battery from an electrical outlet (Fig. 27-b)

- How to recharge USB device (Fig. 28)

- When charging of USB device is completed (Fig. 29)

NAMES OF PARTS (Fig. 1–Fig. 29)


① | Battery |
② | Motor |
③ | Head cover |
④ | Dial |
⑤ | Stopper pole |
⑥ | Depth indicator |
⑦ | Wing bolt |
⑧ | Lock pin |
⑨ | Stopper block |
⑩ | Base |
⑪ | Sub base |
⑫ | Collet chuck |
⑬ | Straight guide |
⑭ | Wing bolt (A) |
⑮ | Lock spring |
⑯ | ON/OFF Lock button |
⑰ | Name plate |
⑱ | Handle |
⑲ | Switch trigger |
⑳ | Lock lever |
㉑ | LED light |
㉒ | Threaded column |
㉓ | Latch |
㉔ | Charge indicator lamp |
㉕ | Bit |
㉖ | 23 mm Wrench |
㉗ | Loosen |
㉘ | Tighten |
㉙ | Scale |
㉚ | Nuts |
㉛ | Cut depth setting screw |
㉜ | Nut |
㉝ | Template guide |
㉞ | Screw |
㉟ | Template |
㊱ | Guide bar |
㊲ | Bar holder |
㊳ | Feed screw |
㊴ | Wing bolt (B) |
㊵ | Separate |
㊶ | Work piece |
㊷ | Rotation of bit |
㊸ | Router feed |
㊹ | Inner peripheral cutting (Clockwise) |
㊺ | Outer peripheral cutting (Counterclockwise) |
㊺ | Trimmer guide |
㊼ | Roller |
㊽ | Dust collector |
㊾ | Knob nut |
㊿ | Joint (C) |
SYMBOLS
![]() | M3612DA: Cordless Router |
![]() | To reduce the risk of injury, user must read instruction manual. |
![]() | Always wear eye protection. |
![]() | Always wear hearing protection. |
![]() | Only for EU countriesDo not dispose of electric tools together with household waste material! In observance of European Directive 2012/19/EU on waste electrical and electronic equipment and its implementation in accordance with national law, electric tools that have reached the end of their life must be collected separately and returned to an environmentally compatible recycling facility. |
| Direct current | |
| Rated voltage |
| No-load speed |
![]() | Disconnect the battery |
![]() | Switching ON |
![]() | Switching OFF |
![]() | Switch locks to the “ON” position |
![]() | Warning |
![]() | Prohibited action |
Battery
![]() | Lights ; The battery remaining power is over 75% |
![]() | Lights ; The battery remaining power is 50%–75%. |
![]() | Lights ; The battery remaining power is 25%–50%. |
![]() | Lights ; The battery remaining power is less than 25% |
![]() | Blinks ; The battery remaining power is nearly empty. Recharge the battery soonest possible. |
![]() | Blinks ; Output suspended due to high temperature. Remove the battery from the tool and allow it to fully cool down. |
![]() | Blinks ; Output suspended due to failure or malfunction. The problem may be the battery so please contact your dealer. |
STANDARD ACCESSORIES
In addition to the main unit (1 unit), the package contains the accessories listed on page 272.
Standard accessories are subject to change without notice.
APPLICATIONS
- Woodworking jobs centered on grooving and chamfering
SPECIFICATIONS
- Power tool
Model M3612DA Voltage 36 V No-Load Speed 11000–25000 min–1 Collet Chuck Capacity 12 mm, 8 mm, 6 mm or 1/2″, 1/4″ Main Body Stroke 50 mm Battery available for this tool* Multi volt battery Weight** 3.8 kg (BSL36A18)
4.1 kg (BSL36B18)* Existing batteries (BSL3660/3620/3626, BSL18xx series, etc.) cannot be used with this tool.
** According to EPTA-Procedure 01/2014
NOTE
Due to HiKOKI’s continuing program of research and development, the specifi cations herein are subject to change without prior notice. - Battery
Model BSL36A18 BSL36B18 Voltage 36 V / 18 V (Automatic Switching*) Battery capacity 2.5 Ah / 5.0 Ah 4.0 Ah / 8.0 Ah (Automatic Switching*) Available cordless products** Multi volt series, 18 V product Available charger Sliding charger for lithium ion batteries * The tool itself will automatically switch over.
** Please see our general catalogue for details.
CHARGING
Before using the power tool, charge the battery as follows.
- Connect the charger’s power cord to the receptacle.
When connecting the plug of the charger to a receptacle, the charge indicator lamp will blink in red (At 1- second intervals). - Insert the battery into the charger.
Firmly insert the battery into the charger as shown in Fig. 3
- Charging
When inserting a battery in the charger, the charge indicator lamp will blink in blue.
When the battery becomes fully recharged, the charge indicator lamp will light up in green. (See Table 1)
(1) Charge indicator lamp indication
The indications of the charge indicator lamp will be as shown in Table 1, according to the condition of the charger or the rechargeable battery.
Table 1
| Indications of the charge indicator lamp | ||||
| Charge indicator lamp (RED / BLUE / GREEN / PURPLE) | Before charging | Blinks (RED) | Lights for 0.5 seconds. Does not light for 0.5 seconds. (off for 0.5 seconds) | Plugged into power source |
| While charging | Blinks (BLUE) | Lights for 0.5 seconds. Does not light for 1 second. (off for 1 second) | Battery capacity at less than 50% | |
| Blinks (BLUE) | Lights for 1 second. Does not light for 0.5 seconds. (off for 0.5 seconds) | Battery capacity at less than 80% | ||
| Lights (BLUE) | Lights continuously | Battery capacity at more than 80% | ||
| Charging complete | Lights (GREEN) | Lights continuously | ![]() | |
| Overheat standby | Blinks (RED) | Lights for 0.3 seconds. Does not light for 0.3 seconds. (off for 0.3 seconds) | Battery overheated. Unable to charge. (Charging will commence when battery cools) | |
| Charging impossible | Flickers (PURPLE) | Lights for 0.1 seconds. Does not light for 0.1 seconds. (off for 0.1 seconds) | Malfunction in the battery or the charger | |
(2) Regarding the temperatures and charging time of the rechargeable battery The temperatures and charging time will become as shown in Table 2.
Table 2
| Charger | UC18YSL3 | ||||||
| Battery | Type of battery | Li-ion | |||||
| Temperatures at which the battery can be recharged | 0°C–50°C | ||||||
| Charging voltage | V | 14.4 | 18 | ||||
| BSL14xx series | BSL18xx series | Multi volt series | |||||
| (4 cells) | (8 cells) | (5 cells) | (10 cells) | (10 cells) | |||
| Charging time, approx. (At 20°C) | min | BSL1415S : 15 BSL1415 : 15 BSL1415X : 15 BSL1420 : 20 BSL1425 : 25 BSL1430C : 30 | BSL1430 : 20 BSL1440 : 26 BSL1450 : 32 BSL1460 : 38 | BSL1815S : 15 BSL1815 : 15 BSL1815X : 15 BSL1820 : 20 BSL1825 : 25 BSL1830C : 30 BSL1850C : 32 | BSL1830 : 20 BSL1840 : 26 BSL1850 : 32 BSL1860 : 38 | BSL36A18 : 32 BSL36B18 : 52 | |
| USB | Charging voltage | V | 5 | ||||
| Charging current | A | 2 | |||||
NOTE
The recharging time may vary according to the ambient temperature and power source voltage.
4. Disconnect the charger’s power cord from the receptacle.
5. Hold the charger fi rmly and pull out the battery.
NOTE
Be sure to pull out the battery from the charger after use, and then keep it.
Regarding electric discharge in case of new batteries, etc.
As the internal chemical substance of new batteries and batteries that have not been used for an extended period is not activated, the electric discharge might be low when using them the fi rst and second time. This is a temporary phenomenon, and normal time required for recharging will be restored by recharging the batteries 2–3 times.
How to make the batteries perform longer.
- Recharge the batteries before they become completely exhausted.
When you feel that the power of the tool becomes weaker, stop using the tool and recharge its battery. If you continue to use the tool and exhaust the electric current, the battery may be damaged and its life will become shorter. - Avoid recharging at high temperatures.
A rechargeable battery will be hot immediately after use. If such a battery is recharged immediately after use, its internal chemical substance will deteriorate, and the battery life will be shortened. Leave the battery and recharge it after it has cooled for a while.
CAUTION
○ If the battery is charged while it is heated because it has been left for a long time in a location subject to direct sunlight or because the battery has just been used, the charge indicator lamp of the charger lights for 0.3 seconds, does not light for 0.3 seconds (off for 0.3 seconds). In such a case, fi rst let the battery cool, then start charging.
○ When the charge indicator lamp fl ickers (at 0.2-second intervals), check for and take out any foreign objects in the charger’s battery connector. If there are no foreign objects, it is probable that the battery or charger is malfunctioning. Take it to your authorized Service Center.
○ Since the built-in micro computer takes about
3 seconds to confi rm that the battery being charged with UC18YSL3 is taken out, wait for a minimum of 3 seconds before reinserting it to continue charging. If the battery is reinserted within 3 seconds, the battery may not be properly charged.
PRIOR TO OPERATION
WARNING
Pull out battery before carrying out any adjustment, servicing or maintenance.
When fi nished with a job, pull out the battery.
- Power switch
Ensure that the switch is in the OFF position. If the battery installed to power tool while the switch is in the ON position, the power tool will start operating immediately, which could cause a serious accident. - Removing and inserting the battery (Fig. 2)

- Remaining battery indicator (Fig. 4)

INSTALLING AND REMOVING BITS
WARNING
Be sure to switch power OFF and pull out the battery to avoid serious trouble.
Installing bits
- Loosen the lock lever, raise the tool to the maximum stroke position and return the lock lever to the tightening position.
- Clean and insert shank of bit into the collet chuck until shank bottoms, then back it out approximately 2 mm.
- With the bit inserted and pressing the lock pin holding the shaft, use the 23 mm wrench to firmly tighten the collet chunk in a clockwise direction (viewed from under the router). (Fig. 5)

CAUTION
○ Ensure that the collet chuck is fi rmly tightened after inserting a bit. Failure to do so will result in damage to the collet chuck.
○ Ensure that the lock pin is not inserted into the shaft after tightening the collet chuck. Failure to do so will result in damage to the collet chuck, lock pin and shaft. - When using the 8 mm or 1/4″ diameter shank bit, replace the equipped collet chuck with the one for 8 mm or 1/4″ diameter shank bit which is provided as the standard accessory.
- Be sure to use a chuck sleeve when using a 6 mm bit with a collet chuck capacity of 12 mm. First insert the chuck sleeve deeply in the collet chuck, then insert the bit in the chuck sleeve. Tighten the collet chuck fi rmly as in step (1) and (2).
Removing bits
- Loosen the lock lever, raise the tool to the maximum stroke position and return the lock lever to the tightening position.
- Pressing the lock pin, loosen the collet chuck with the included 23 mm wrench to pull out the bit. (Fig. 6)

CAUTION
Ensure that the lock pin is not inserted into the shaft after tightening the collet chuck. Failure to do so will result in damage to the collet chuck, lock pin and shaft.
HOW TO USE THE ROUTER
Adjusting depth of cut (Fig. 7)

- Use stopper pole to adjust depth of cut.
① Place the tool on a flat wood surface.
② Turn the stopper block so that section to which the cutting depth setting screw on a stopper block is not attached comes to the bottom of the stopper pole. Loosen pole lock knob allowing the stopper pole to contact with stopper block.
③ Loosen the lock lever and press the tool body until the bit just touches the flat surface. Tighten the lock lever at this
point. (Fig. 8)
④ Tighten pole lock knob. Align the depth indicator with the “0” graduation of scale.
⑤ Loosen pole lock knob, and raise until indicator aligns with the graduation representing the desired cutting depth. Tighten pole lock knob.
⑥ Loosen the lock lever and press the tool body down until the stopper block to obtain the desired cutting depth.
(2) As shown in Fig. 9 (a), loosening the two nuts on the threaded column and moving then down will allow you to move down to the end position of the bit when the lock lever is loosened. This is helpful when moving the router to align the bit with the cutting position. As shown in Fig. 9 (b), tighten the upper and lower nuts to secure the cutting depth.
(3) When you are not using the scale to set the cutting depth, push up the stopper pole so that it is not in the way.
Stopper block (Fig. 10)

The 2 cut-depth setting screws attached to the stopper block can be adjusted to simultaneously set 3 diff erent cutting depth. Use a wrench to tighten the nuts so that the cut-depth setting screws do not come loose at this time.
Guiding the router
WARNING
Be sure to switch power OFF and pull out the battery to avoid serious trouble.
- Template Guide (Standard Accessory)
Use the template guide when employing a template for producing a large quantity of identifi cally shaped products.
As shown in Fig. 11, secure the template guide to thebase of the router with two accessory screws. At this time, ensure that the projection side of the template guide is facing the bottom surface of the base of the router.
A template is a profi ling mold made of plywood or thin lumber.
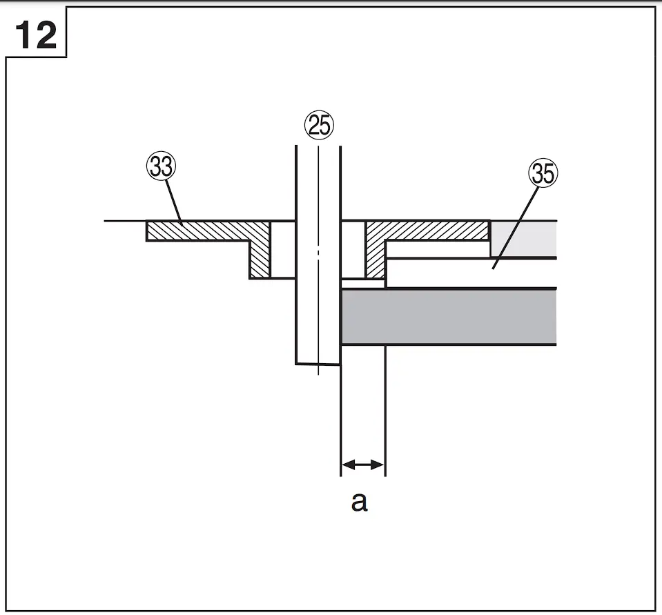
When making a template, pay particular attention to the matters described bellow and illustrated in Fig. 12.
When using the router along the interior plane of the template, the dimensions of the fi nished product will be less than the dimensions of the template by a amount equal to dimension “A”, the diff erence between the radius of the template guide and the radius of the bit. The reverse is true when using the router along the exterior of the template.
Secure the template to the workpiece. Feed the router in the manner that the template guide moves along the template as shown in Fig. 13.
- Straight guide (Standard accessory) (Fig. 14)

Use straight guide for chamfering and groove cutting along the materials side.
Insert the guide bar into the hole in the bar holder, then lightly tighten the 2 wing bolts (A) on top of the bar holder.
Insert the guide bar into the hole in the base, then fi rmly tighten the wing bolt (A).
Make minute adjustments of the dimensions between the bit and the guide surface with the feed screw, then firmly tighten the 2 wing bolts (A) on top of the bar holder and the wing bolt (B) that secures the straight guide.
As shown in Fig. 15, securely attach the bottom of the base to processed surface of the materials. Feed the router while keeping the guide plane on the surface of the materials.
Switch operation
This product is equipped with an ON/OFF Lock button to prevent any inadvertent switch trigger operation. To activate the tool, press down on the ON/OFF Lock button and draw the switch trigger. (Fig. 16)
When the switch trigger is fully drawn, a further press of the ON/OFF Lock button will lock the switch trigger in place, allowing the release of the switch trigger for continued operation. (Fig. 17 (a))
The switch trigger will not be locked if the ON/OFF Lock button is released before the switch trigger is fully drawn, making it possible to operate the tool with a press of the switch trigger.
To unlock the switch trigger, draw the switch trigger once again to release the ON/OFF Lock button and discontinue operation. (Fig. 17 (b))
Prior to using the tool, make sure that the ON/OFF Lock button and the switch trigger are operating properly.
How to use the LED light (Fig. 18)

The LED light will light the area at the tip of the tool when the switch is “ON”.
The LED light will automatically power off 10 seconds after the switch is released.
Adjusting the rotation speed
The M3612DA has an electronic control system that allows rpm changes.
As shown in Fig. 19, dial position “1” is for minimum speed, and position “6” for maximum speed.
Cutting
CAUTION
- Wear eye protection when operating this tool.
- Keep your hands, face and other body parts away from the bits and any other rotating parts, while operating the tool.
NOTE
- Do not press the lock pin while the motor is rotating.
Also, do not switch the tool on while pressing the lock pin.
Doing so may damage the lock pin and/or shaft as well as result in injury. - Please limit the cutting depth of a single cut to under 20 mm.
- When cutting a deep groove, repeat the cut 2 or 3 times.
Deep cutting operations can make the tool diffi cult to control and may overload the motor, resulting in malfunction. - Moving the tool forward fast may cause a poor quality of cut, or damage to the bit or motor. Moving the tool forward too slowly may burn and mar the cut.
The proper feed rate will depend on the bit size, the kind of workpiece and depth of cut. Before beginning the cut on the actual workpiece, it is advisable to make a sample cut on a piece of scrap lumber. This will show exactly how the cut will look as well as enable you to check dimensions. - Abnormalities and overloads will trigger the overload protector, and stop operation. Remove the load immediately, and turn the power off , then on. The rotation speed should return to normal.
- As shown in Fig. 20, remove the bit from the work pieces and press the switch lever up to the ON position. Do not start cutting operation until the bit has reached full rotating speed.

- The bit rotates clockwise (arrow direction indicated on the base). To obtain maximum cutting eff ectiveness, feed the router in conformance with the feed directions shown in Fig. 21.

Trimmer Guide (Optional accessory) (Fig. 22)

Use the trimmer guide for trimming or chamfering. Attach the trimmer guide to the bar holder as shown in Fig. 23.
After aligning the roller to the appropriate position, tighten the two wing bolts (A) and the other two wing bolts (B). Use as shown in Fig. 24.
Dust Collector Set (Standard accessory)
Connect the dust collector set cleaner to collect dust.
- Mounting the dust collector.
Use a screwdriver to attach the two screws to the base. (Fig. 25)
Align the holes on the dust collector with the two screws and attach the dust collector.
Tighten the two knob nuts.
Connect the cleaner to the dust collector. (Fig. 26)
- Dismounting the dust collector.
Use a screwdriver to loosen the two screws.
LED LIGHT WARNING SIGNALS (Fig. 30)
This product features functions that are designed to protectthe tool itself as well as the battery. When any of the safeguard functions are triggered, any of the LED light will blink as described in Table 3.
In this case, follow the instructions described under corrective action.
Table 3
| Safeguard Function | LED Light Display | Corrective Action |
| Overload Protection | On 0.1 second/off 0.1 second | Remove the cause of the overloading. |
| Temperature Protection | On 0.5 second/off 0.5 second | Allow the tool and battery to thoroughly cool. |
MAINTENANCE AND INSPECTION
WARNING
Be sure to turned off the switch and remove the battery before maintenance and inspection.
- Inspecting the bit
Continued use of a dull or damaged bit will result in reduced cutting effi ciency and may cause overloading of the motor. Replace the bit with a new one as soon as excessive abrasion is noted. - Oiling
To ensure smooth vertical movement of the router, occasionally apply a few drops of machine oil to the sliding portions of the columns and end bracket. - Inspecting the mounting screws
Regularly inspect all mounting screws and ensure that they are properly tightened. Should any of the screws be loose, retighten them immediately. Failure to do so could result in serious hazard. - Maintenance of the motor
The motor unit winding is the very “heart” of the power tool.
Exercise due care to ensure the winding does not become damaged and/or wet with oil or water. - Inspection of terminals (tool and battery)
Check to make sure that swarf and dust have not collected on the terminals.
On occasion check prior, during and after operation.
CAUTION
Remove any swarf or dust which may have collected on the terminals.
Failure to do so may result in malfunction. - Cleaning on the outside
When the power tool is stained, wipe with a soft dry cloth or a cloth moistened with soapy water. Do not use chloric solvents, gasoline or paint thinner, for they melt plastics. - Storage
Store the power tool in a place in which the temperature is less than 40°C and out of reach of children.
NOTE
Storing lithium-ion batteries.
Make sure the lithium-ion batteries have been fully charged before storing them.
Prolonged storage (3 months or more) of batteries with a low charge may result in performance deterioration, signifi cantly reducing battery usage time or rendering the batteries incapable of holding a charge.
However, signifi cantly reduced battery usage time may be recovered by repeatedly charging and using the batteries two to fi ve times.
If the battery usage time is extremely short despite repeated charging and use, consider the batteries dead and purchase new batteries.
CAUTION
In the operation and maintenance of power tools, the safety regulations and standards prescribed in each country must be observed.
SELECTING ACCESSORIES
The accessories of this machine are listed on page 273.
For details regarding each bit type, please contact the HiKOKI Authorized Service Center.
| Important notice on the batteries for the HiKOKI cordless power tools Please always use one of our designated genuine batteries. We cannot guarantee the safety and performance of our cordless power tool when used with batteries other than these designated by us, or when the battery is disassembled and modifi ed (such as disassembly and replacement of cells or other internal parts). |
| GUARANTEE We guarantee HiKOKI Power Tools in accordance with statutory/country specifi c regulation. This guarantee does not cover defects or damage due to misuse, abuse, or normal wear and tear. In case of complaint, please send the Power Tool, undismantled, with the GUARANTEE CERTIFICATE found at the end of this Handling instruction, to a HiKOKI Authorized Service Center. |
| Information concerning airborne noise and vibration The measured values were determined according to EN62841 and declared in accordance with ISO 4871. Measured A-weighted sound power level: 97 dB (A) Wear hearing protection. Vibration total values (triax vector sum) determined according to EN62841. Cutting MDF: |
The declared vibration total value and the declared noise emission value have been measured in accordance with a standard test method and may be used for comparing one tool with another.
They may also be used in a preliminary assessment of exposure.
WARNING
- The vibration and noise emission during actual use of the power tool can diff er from the declared total value depending on the ways in which the tool is used especially what kind of workpiece is processed; and
- Identify safety measures to protect the operator that are based on an estimation of exposure in the actual conditions of use (taking account of all parts of the operating cycle such as the times when the tool is switched off and when it is running idle in addition to the trigger time).
| NOTE Due to HiKOKI’s continuing program of research and development, the specifi cations herein are subject to change without prior notice. |
TROUBLESHOOTING
WARNING
- To avoid injury from an accidental start, turn the switch OFF and remove the plug from the power source or remove the battery from the main body before making any adjustments.
- All electrical or mechanical repairs should be done only by qualifi ed service technicians. Contact HiKOKI Authorized Service Center.
- Power tool
Problem Possible Cause Remedy Tool doesn’t run No remaining battery power Charge the battery. Battery isn’t fully installed. Push the battery in until you hear a click. Tool suddenly stopped Tool was overburdened Get rid of the problem causing the overburden. During operation, lighten the applied pressure. Battery or tool overheated Allow the tool and battery to thoroughly cool. Doesn’t cut well The bit is worn or missing teeth. Replace with a new bit. The collet chuck is loose. Firmly tighten the collet chuck. Switch can’t be pulled ON/OFF Lock button is pushed in Release the ON/OFF Lock button. Battery cannot be installed Attempting to install a battery other than that specified for the tool. Please install a multi volt type battery. - Charger
Symptom Possible cause Remedy The charge indicator lamp rapidly flickers purple, and battery charging doesn’t begin. The battery is not inserted all the way. Insert the battery firmly. There is foreign matter in the battery terminal or where the battery is attached. Remove the foreign matter. The charge indicator lamp blinks red, and battery charging doesn’t begin. The battery is not inserted all the way. Insert the battery firmly. The battery is overheated. If left alone, the battery will automatically begin charging if its temperature decreases, but this may reduce battery life. It is recommended that the battery be cooled in a well-ventilated location away from direct sunlight before charging it. Battery usage time is short even though the battery is fully charged. The battery’s life is depleted. Replace the battery with a new one. The battery takes a long time to charge. The temperature of the battery, the charger, or the surrounding environment is extremely low. Charge the battery indoors or in another warmer environment. The charger’s vents are blocked, causing its internal components to overheat. Avoid blocking the vents. The cooling fan is not running. Contact a HiKOKI Authorized Service Center for repairs. The USB power lamp has switched off and the USB device has stopped charging. The battery’s capacity has become low. Replace the battery with one that has capacity remaining. Plug the charger’s power plug into an electric socket. USB power lamp does not switch off even though the USB device has finished charging. The USB power lamp lights up green to indicate that USB charging is possible. This is not a malfunction. It is unclear what the charging status of a USB device is, or whether its charging is complete. The USB power lamp does not switch off even when charging is complete. Examine the USB device that is charging to confirm its charging status. Charging of a USB device pauses midway. The charger was plugged into an electrical socket while the USB device was being charged using the battery as the power source. This is not a malfunction.
The charger pauses USB charging for about 5 seconds when it is differentiating between power sources.A battery was inserted into the charger while the USB device was being charged using a power socket as the power source. Charging of the USB device pauses midway when the battery and the USB device are being charged at the same time. The battery has become fully charged. This is not a malfunction.
The charger pauses USB charging for about 5 seconds while it checks whether the battery has successfully completed charging.Charging of the USB device doesn’t start when the battery and the USB device are being charged at the same time. The remaining battery capacity is extremely low. This is not a malfunction. When the battery capacity reaches a certain level, USB charging automatically begins.























































