JOCEL JVA030658 MIST FAN
GENERAL SAFETY INSTRUCTIONS
- Before using this Mist fan, these instructions should be carefully read to ensure that the best result is obtained.
- Please keep these instructions; the guarantee certificate; the sales receipt; and if possible, the gift box with the inner packaging.
- The Mist Fan must only be used as intended in accordance with the enclosed operating instructions.
- Before plugging in the Mist Fan into the mains electrical supply, check that the voltage and power supply complies with the specification’s indications on the rating plate of the appliance.
- Do not use the Mist Fan with damp or wet hands.
- Always place the Mist Fan against a stable, flat surface. Also ensure that the surface can take the weight of the unit during use.
- Always make sure the Mist Fan is securely in place before it is switched on.
- The Mist Fan is intended for DOMESTIC USE ONLY and should NOT be used for commercial purposes.
- Switch off the Mist Fan and remove the power plug from the mains electrical supply whenever the Mist Fan is not in use, before cleaning or when changing accessories.
- Do not use the Mist Fan outdoors.
- Test the Mist Fan and the cable regularly for damage. If there is damage of any kind, the Mist Fan should not be used.
- Under no circumstances must the Mist Fan, the power cord or the power plug be placed in or come into contact with water or other liquid.
- Adequate air space should be provided for air circulation.
- Do not allow the power cord to hang over sharp table edges or come into contact with hot surfaces.
- Under no circumstances must the Mist Fan come into contact with curtains, clothing, dish, towels or other flammable material during use.
- The Mist Fan is not intended for use by persons (including children) with reduced physical or sensory capabilities or lack of experience and knowledge unless they have been given supervision or instruction concerning the use of the Mist Fan by a person responsible for their safety.
- Close adult supervision is necessary when the Mist Fan is being used by children.
- To unplug the Mist Fan, grasp the plug firmly and remove it from the mains electrical supply. DO NOT PULL ON THE CORD.
- Repairs to the Mist Fan should only be performed by the Technical Department.
- Keep these instructions in a safe place for future reference.
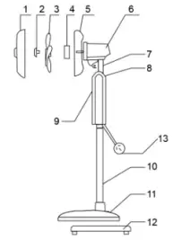
components
Main Housing
- Front Grill
- Fan blade nut
- Fan blade
- Rear grill lock nut
- Rear grill
- Motor body
- Tilt neck
- Switch housing
- Display & Control Panel
- Support poles
- Base
- Base weight
- Power cord & plug
Water components 
- Mist Outlet
- Mist delivery hose
- Water tank cap
- Water tank
- Indicator light
- Variable mist setting switch
- Humidifier power base
Main unit control and remote control 

ASSEMBLING YOUR FAN
- Unpack all the parts of the fan and remove the packaging.
- Insert the 2 Standing Bars into the Base with 2 screws in each bar. Note that each Standing Bar has 2 holes on one side. This side with the holes must be installed into the base. (Each Standing Bar comes with 2 screws already fitted. Unscrew the screws from the Standing Bars and then insert the Standing Bars into the Base).

- Place the weight under the Base then assemble with 4 screws provided.

- Ensure that the weight is correctly assembled as depicted in the diagrams below.

- Assemble the main unit onto the 2 Standing Bars. Note that there are 2 screws on the Main Unit which the installer must loosen before installing. After installation, these 2 screws can be tightened.

- Place the Humidifier Power Base onto the Base.

- Remove the Fan Blade Nut (2) and the Rear Grille Lock Nut (4) from the Motor Shaft Spindle (n).

- Fit the Rear Grille (5) by positioning it onto the location pins (p). Secure the grille (5) to the Motor Body with the Grille Lock Nut (4). Note: The handle on the Rear Grille (5) must face upward.

- Push the Fan Blade (3) onto the Motor Shaft Spindle (n) by matching the Slots on the Base of the Fan Blade with the Shape Pin (o).

- Secure the Blade (3) with the fan Blade Nut (2) by turning it COUNTER – CLOCKWISE. Check that the fan blade rotates freely by turning it with your hand.
- Open securing clips around the front grille and loosen the clip screw at the top of the front grille. Position the top clip on the uppermost part of the rear grille. Push the top clip down and press rim of the front grille onto the rear grille. Close all the clips and tighten the safety screw.
- Place the Water Tank on the Humidifier Power Base.
- Connect the Mist Delivery Hose to the Mist Outlet and the Cap of the Water Tank.
- Place the Cap of the Water Tank on the Water Tank.
- Insert 2 x AAA size batteries (not supplied) into the remote control.
- The 40cm Pedestal Mist Fan is now ready to use.
OPERATING THE MIST FAN
- Remove the Water Tank from the Humidifier Power Base, turn it upside down and you will see a small plastic cover.
- Open the cover by turning it in a counter-clockwise direction.
- Fill the Water Tank with clean water.
- Close the plastic cover by tightening it in a clockwise direction. Note that there is a white silicone ring that must not be loosened when filling the Water Tank with water.
- Place the Water Tank back onto the Humidifier Power Base.
- Plug the Mist Fan into the mains electrical supply. A “beep” sound will be heard indicating that the Mist Fan is connected to the power.
- The “
” indicator light on the Main Control Panel will illuminate. - Now the Mist Fan can be switched on either on its Main Control Panel or by the Remote Control.
- Press the
button to switch the Mist Fan on. - By default, the Mist Fan will be switched ON in
- Low-Speed Setting,
- Fixed Direction and
- Normal Wind mode setting
- After switching on the Mist Fan you can select different Speed Settings or the Wind Mode that you prefer.
- The table below shows which switches perform which speed and wind functions:

- When there is no water in the Water Tank, the Humidifier power Base will stop working and the indicator light will change from Green to Red.
- Should this occur, switch OFF the Mist Fan and re-fill the Water Tank with water so you can continue to use the Mist function as and when desired.
- The user can adjust the tilt angle by pushing down from the top of the Grille or by pulling upward from the bottom of the Grille.
Caution: The 40cm Pedestal Mist Fan should always be switched off when making this adjustment.
CLEANING
- Switch off and unplug from the power supply before assembling or disassembling and before cleaning.
- Keep the air vents at the rear of the main body free from dust or fluff. Use a vacuum cleaner to remove these when necessary. Do not probe any opening to remove fluff.
- Fan component parts should be cleaned using mild soap and a damp cloth or sponge.
- Do not allow any water or other liquid to enter the motor housing.
- Remove soapy film with a damp cloth or sponge and then dry thoroughly.
CAUTION: Do not use harsh detergents, chemical cleaners, or solvents as they may damage the surface finish of the fan components.
SPECIFICATIONS
| RATED VOLTAGE | AC 220~240V |
| RATED FREQUENCY | 50~60Hz |
| RATED POWER | 70W = 30 W (potência de vapor) + 40W (potência da ventoinha) |
| TANK CAPACITY | 2L |
GENERAL WARRANTY TERMS
- The warranty is valid only on the presentation of the invoice of purchase.
- This WARRANTY is limited exclusively to parts substitution ineffective due to faulty manufacture, made in our workshops.
- The elimination of several faults of the scope of the guarantee is made for repair or replacement of defective parts, according to the discretion of our technical services. Defective parts are our property.
- Are not covered under warranty damage caused by transportation, neglect or poor use, improper assembly or installation, as well as external influences such as: lightning strikes or power, flooding, humidity, etc.
- Lose warranty, all appliances that are not being used according to the instructions, or connected to FEEDING NETWORKS not guarantee a constant voltage of 220/240V.
- The warranty does not cover damages for personal injury or damage caused directly or indirectly in any capacity whatsoever.
- This warranty terminates when it is found to have been undergoing repairs, alterations or interventions by any person not authorized by Jocel.
THE WARRANTY EXPIRES
- If the appliance has not been installed by an Accredited Technician.
- Exceeded the period of 2 years for home appliances and 06 months for industrial appliances, the warranty expires and assistance will be made by charging the costs of manpower, according to current fees.
- With the modification or disappearance of the nameplate of the appliance.
TECHNICAL ASSISTANCE
For technical assistance requests, our services are available through the following contacts:
Telef. 00 351 252 910 362
Fax: 00 351 252 910367
E-mail: [email protected] www.jocel.pt
DECLARATION OF CONFORMITY
We declare on our own responsibility that the machine indicated below
- Product MIST FAN
- Brand JOCEL
- Model JVA030658
Complies with the following European directives and standards implementation:
Low Voltage 2014/35/EU EN 60335-1:2012+A11:2014+A13:
- 2017+A1:2019+A14:2019+A2:2019
- EN 60335-2-80:2003+A1:2004+A2:2009
- EN 60335-2-98:2003+A1:2005+A2:2008
- EN 62233:2008
Electromagnetic Compatibility 2014/30/EU EN 55011:2016 + A1:2017
- EN 55014-1:2006 + A1:2009 + A2:2011
- EN 55014-1:2017
- EN 55014-2:2015
- EN 61000-3-2:2014
- EN 61000-3-3:2013



























