SLGT24M
Medium Hydroponic Grow Tent Garden
Reflective 600D Mylar with Observation Window and Floor Tray for Indoor Plant Growing
Features:
- Reinforced by Heavy Metal Rods, with Durable Zipper
- Double Stitching Protection to Ensure Long-Lasting Use
- Easily Observe the Plants without Stepping into Tent
- Lightweight and Velcro Design
- Removable Water-Resistant Floor Tray
- Easy to Clean or Wash
- Heavy Duty All Steel Poles
- Double Duct Port Enclosures
- Blocks all Light from Escaping
- Adjustable Vent Doors
- High-Reflectivity, Carbon Filter Belts
- Inner Tool Organizer
- Light-Proof SBS Zippers
- Effectively Improve Light Efficiency
What’s in the Box:
- Tent Body
- Metal Poles:
• (8) A Pole
• (4) B Pole
• (4) C Pole
• (1) D Strengthen Pole
• (1) E Pole Hanging Bar Lower
• (1) F Pole Hanging Bar Deep - (8) Triangle Connector
- (2) Filter Straps
- (1) Floor Tray
- (1) Grow tent pole shelf
Technical Specs:
- Construction Materials: 600D Canvas with Metal Poles and Corner Adapters
- Maximum Temperature: 80°C
- Hanging Bar Weight Capacity: 44 lbs.
- Metal Push-Lock Corners: Handle Up to 90 lbs.
- Filter Straps Size: 55’’ -inches
- Floor Tray Size (L x W x H): 24” x 24” x 3.95” -inches
- Hanging Bar Size: 24” -inches
- Pole Shelf Size (L x W x H): 4.72” x 4.72” x 2.76” –inches
- Strengthen Pole Size: 24”–inches
- Tent Body Size (L x W x H): 24” x 24” x 48” -inches
Note on STEP 1
First, firmly install Pole shelf on the height pole.
You may attach the pole shelf from TOP or BOTTOM then drag to your desired position.
DO NOT attach the Pole shelf in the middle.
Questions? Issues?
We are here to help!
Phone: (1) 718-535-1800
Email: [email protected]
Components:
- A
8pc. - B
4pc. - C
4pc. - D
1pc. - E
1pc. - F
1pc.

- Tent
- Floor Tray
- Filter Straps
- Corner Adapter
- Grow tent pole shelf
(A-F) Framework Support
Assembly Instructions
STEP 1

First, firmly install Pole shelf on the height pole.
STEP 2

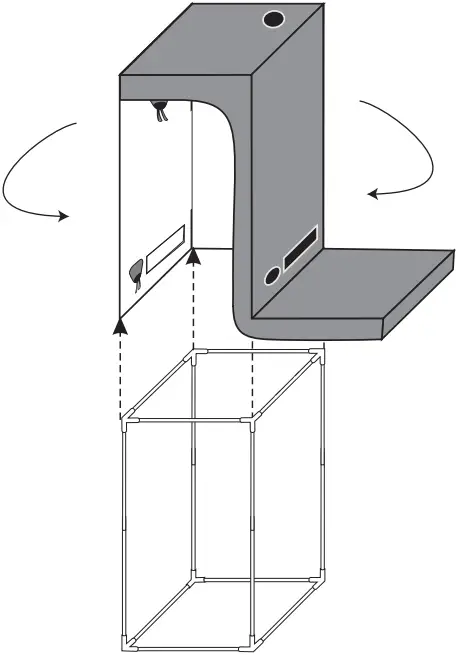
Unzip all zippers of the tent to cover all the way. First, gently pull up the top of tent shell on the frame to make sure all corners are squarely in place. Having a helper makes this process easier.
STEP 3

Pull the bottom of tent shell to cover the base of tent frame properly. Put all hanging bars on the top of frame
STEP 4


Reflective 600D Mylar with Observation Window and Floor Tray for Indoor Plant Growing
Features:

















