Hunter 19400 Doherty 4 Light Chandelier
INSTALLATION

WARNING:
- To avoid possible electrical shock, before installing your light fixture, disconnect the power by turning off the circuit breakers to the outlet box associated with the wall switch location.
- The lighting fixture must be grounded. If the ground wire for the installation site is not present, immediately STOP installation and consult a qualified electrician.
- All wiring must be in accordance with national and local electrical codes ANSI/NFPA 70. If you are unfamiliar with wiring or in doubt, consult a qualified electrician.
READ AND SAVE THESE INSTRUCTIONS
These instructions are provided for your safety. It is very important that they are read carefully and completely before beginning installation of the lighting fixture.
Tools Required
Here are the tools you’ll need to complete your installation: 
Doherty
For Models: 19400
Specification
Fixture weight: ±2 lbs
Peso ±2 lb: 11.2 lbs (5.08 kg)
Poids fixe: ±2 lbs
PREPARING FOR INSTALLATION
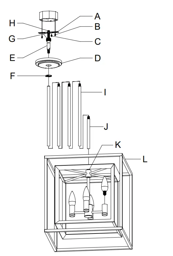
Carefully remove all contents from the carton. Shut off the power at the circuit breaker and completely remove the old fixture from the ceiling, including the old mounting bracket. Remove the new mounting bracket assembly from the bag. One end of the threaded post (H) should be attached to the mounting bracket (A) with a hex nut (G) in place. The other end should be connected to the canopy loop (E). Unscrew the canopy loop ring (F) from the canopy loop (E). Depending on the placement of your junction box the position of threaded post (H) may need to be adjusted to allow the canopy to be flush with the ceiling. Determine this by lifting mounting bracket (A) up to the junction box and place canopy (D) over the canopy loop (E), so that it is flush with the ceiling. Adjust the position of threaded post (H) on the mounting bracket (A) so that the canopy (D) covers at least half of the exterior threads on the canopy loop (E) while it is securely connected to threaded post (H). The threaded post (H) can be adjusted by loosening hex nut (G) to allow movement of threaded post (H) on mounting bracket (A). Once the ideal position of the threaded post (H) is determined, tighten up the hex nuts (G) onto the threaded post (H) just beneath the mounting bracket (A) to secure the threaded post in place.
ASSEMBLING THE FIXTURE
There are 4 12-inch rods (I), and 1 6-inch rod (J) included for each fixture. Determine the correct number of rods needed for proper hanging height. To lengthen the fixture, add additional rods. To shorten the fixture, trim the wires to desired length. Leave at least 8 to 10 inches of wire in addition to the desired length and slide any excess rods off the fixture’s wiring to discard. Keep in mind that you must use at least one rod to hang the fixture. Thread the wires through the rods and pull the wires until taut before connecting the rods together. Screw rod onto threaded post (K) on the fixture. Pull the fixture wires through the canopy loop ring (F), the top of canopy (D), and canopy loop (E). Screw the top rod to canopy loop (E). Have a helper support the fixture’s weight and attach the mounting bracket (A) to the junction box by securely tightening the mounting screws (B). 
CONNECTING THE WIRES
Attach the fixture’s wires to the power supply wires from the junction box. Connect black to black (Live); white to white (grounded); grounding to grounding (green or copper). Twist the ends of the wire pairs together. Then, twist on a wire connector. Make sure all twists are in the same direction. Loop fixture’s ground wire around grounding screw (C) and tighten. If there is no ground wire (green or copper) from the junction box, contact a qualified electrician.
FINISHING THE INSTALLATION
Place the canopy (D) flush to the ceiling and slide the canopy loop ring (F) up beneath the canopy. Tightly screw canopy loop ring (F) onto the canopy loop (E) to properly secure the canopy (D) in place. Install light bulbs (not included) in accordance with the fixture’s specifications. Do not exceed the recommended wattage. Your installation is now completed. Turn on the power and test the fixture.
CLEANING TIPS
Treat the fixture gently! Regular cleaning will reduce the need for deep cleaning. For regular cleaning, turn off the light and wipe down the fixture with a clean lint-free cotton or microfiber cloth. Never spray cleaner directly onto the fixture.
NOTICE:
In order to use a 12in rod by itself you must first remove the post from the 6in rod and install it on one of the ends of the 12in rod.
Hunter Pro Tip:
Twist or tape wire ends together to make it easier to pass them through the downrods. Threaded post may also be removed for easier wire access.





















