LOL SURPRISE 580492 Tweens + Tots Baby Sitters- Rae Sands

IMPORTANT INFORMATION
- An adult must be present when children are playing with water.
- Do not store the dolls in direct sunlight for extended periods of time.
- Before beginning, cover the play area to protect from possible water damage.
- Accessories vary per doll.
- Do not place the dolls in extremely hot water.
L.O.L. SURPRISE! TWEENS™ Doll
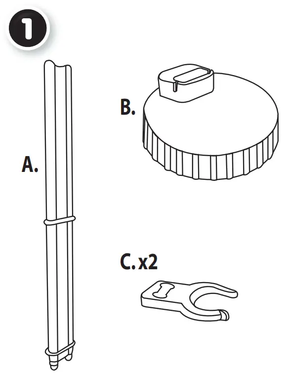
- Stand is meant for L.O.L. SURPRISE! TWEENS™ doll only.
- Two c-clips are included. Each one is a different size to fit around the outfit.
- Doll’s hair will either glow in the dark or change color in cold water.
- Doll will either have cold or warm color change on the body or face. For face color-change, the color will change on the lips using the towel, and eyeshadow/lashes using the brush. Note: The brush doesn’t absorb water.
- Avoid getting the clothes wet. ONLY place the doll’s hair in water. Remove the doll’s clothing if needed before placing the doll in water.
- Use a towel to dry of the hair and allow it to air dry thoroughly. Do not use a blow dryer or subject to excessive heat.
L.O.L. Surprise! ™ Doll
- Your doll has a water surprise and will either cry or pee. Collect them all to see each feature!
- For best results, fill the bottle and feed the doll two times.
- Do not feed the doll extremely hot water.
- Squeeze out all water from the bottle and the doll after each use.
- Thoroughly drain the doll on a dry towel in well-ventilated area after use and before storing.
- Air dry only. Do not place in the dryer or subject to excessive heat.
WARNING
An adult must be present and supervise when placing the included towel in warm water, as the water may be hot.
COLOR -CHANGE
- Only L.O.L. SURPRISE! TWEENS™ doll will have color-changing hair, body, or face feature.
- This manual shows the specific doll with specific features.
Glow-in-the-Dark Feature:
- To see glow-in-the-dark feature, hold the doll in the light for a few minutes and then place it in a dark room. If using a lamp or flashlight, place the doll near or directly under the light for best results.
Cold and Warm Water Color-Change Feature:
- For cold color change, use ice water at approximately 32˚F (0˚C) for best results.
- Warm color change will start at approximately 100.4ºF (38ºC) but best results occur if the water is approximately 104ºF (40ºC).
- Not all included fashions or accessories change color.
- Extreme weather conditions may cause the color change pattern reveal upon arrival. To return it to its original color, place the doll in a room temperature area at approximately 68–77 °F (20–25 °C).
- If color change does not work properly or quickly, the temperature of the doll’s hair may be too close to the temperature of the water.
- Color change temperatures may vary according to weather conditions.
TIPS:
- When removing the hands to dress doll, pinch the wrists’ joints and gently pull. DO NOT PULL FROM THE FINGERS.

- Your doll is articulated, but the knee joint will need to be loosened. To loosen the knee joint, use slight force to pull the leg forward until the knee clicks. Then, push the leg back and it will click again.

Package Content

Operating Instruction







Customer Support
www.LOLsurprise.com
© 2022 MGA Entertainment, Inc.
L.O.L. SURPRISE! TWEENS™ and BABYSITTING PARTY™ are trademarks of MGA in the U.S. and other countries. All logos, names, characters, likenesses, images, slogans, and packaging appearance are the property of MGA.
MGA Entertainment, Inc.
9220 Winnetka Ave.
Chatsworth, CA 91311 U.S.A.
(800) 222-4685
MGA Entertainment UK Ltd.
50 Presley Way, Crownhill
Milton Keynes, MK8 0ES
Bucks, UK
+ 0800 521 558
MGA Entertainment (Netherlands) B.V.
Baronie 68-70, 2404 XG Alphen a/d Rijn
The Netherlands
Tel: +31 (0) 172 758 038
Imported by MGA Entertainment Australia Pty Ltd Suite 2.02, 32 Delhi Road, Macquarie Park NSW 2113 1300 059 676
Please keep this manual as it contains important information. Illustrations are for reference only. Styles may vary from actual contents.



















