Whirlpool WIO 3O41 PL Freestanding Dishwasher

THANK YOU FOR BUYING A HOTPOINT PRODUCT. In order to receive more complete assistance, please register your appliance at: www.whirlpool.eu/register You can download the Safety Instructions and the User Manual, by visiting our website docs.whirlpool.eu, and following the instructions on the back of this booklet. Before using the appliance carefully read the Safety Instructions guide.
PRODUCT DESCRIPTION
APPLIANCE
- Upper rack
- Foldable flaps
- Upper rack height adjuster
- Upper spray arm
- Lower rack
- Cutlery basket
- Lower spray arm
- Filter Assembly
- Salt reservoir
- Detergent and Rinse Aid dispensers
- Rating plate
- Control panel
CONTROL PANEL

- ON-OFF/Reset button with indicator light
- Program selection button
- Salt refill indicator light
- Rinse Aid refill indicator light
- Program number and delay time indicator
- Tablet indicator light
- Display
- Multizone indicator lights
- Multizone button
- Delay button
- Turbo button with indicator light
- Power Clean® button with indicator light
- START/Pause button with indicator light / Tab
FIRST TIME USE
SALT, RINSE AID, AND DETERGENT
ADVICE REGARDING THE FIRST-TIME USE: After installation, remove the stoppers from the racks and the retaining elastic elements from the upper rack.
FILLING THE SALT RESERVOIR: The use of salt prevents the formation of LIMESCALE on the dishes and on the machine’s functional components.
- It is mandatory that THE SALT RESERVOIR NEVER BE EMPTY.
- It is important to set the water hardness.
The salt reservoir is located in the lower part of the dishwasher (see PRODUCT DESCRIPTION) and must be filled when the SALT REFILL indicator light in the control panel is lit.

- Remove the lower rack and unscrew the reservoir cap (anticlockwise).
- Only the first time you do this: fill the salt reservoir with water.
- Position the funnel (see figure) and fill the salt reservoir right up to its edge (approximately 1 kg); it is not unusual for a little water to leak out.
- Remove the funnel and wipe any salt residue away from the opening.
Make sure the cap is screwed on tightly so that no detergent can get into the container during the wash program (this could damage the water softener beyond repair). Whenever you need to add salt, it is mandatory to complete the procedure before the beginning of the washing cycle to avoid corrosion.
SETTING THE WATER HARDNESS
To allow the water softener to work in a perfect way, it is essential that the water hardness setting is based on the actual water hardness in your house. This information can be obtained from your local water supplier.
The factory sets the default value for the water hardness.
- Switch on the appliance by pressing the ON/OFF
- Switch off the appliance by pressing the ON/OFF
- Hold down button P for 5 seconds, until you hear a
- Switch on the appliance by pressing the ON/OFF
- The current selection level number and the salt indicator light both
- Press button P to select the desired hardness level (see WATER HARDNESS TABLE).
| Water Hardness Table | ||||
| Level | °dH
German degrees | °fH
French degrees | °Clark
English degrees | |
| 1 | Soft | 0 – 6 | 0 – 10 | 0 – 7 |
| 2 | Medium | 7 – 11 | 11 – 20 | 8 – 14 |
| 3 | Average | 12 – 16 | 21 – 29 | 15 – 20 |
| 4 | Hard | 17 – 34 | 30 – 60 | 21 – 42 |
| 5 | Very hard | 35 – 50 | 61 – 90 | 43 – 62 |
- Switch off the appliance by pressing the ON/OFF Setting is complete!
As soon as this procedure is complete, run a program without loading. Only use salt that has been specifically designed for dishwashers. After the salt has been poured into the machine, the SALT REFILL indicator light switches off.
If the salt container is not filled, the water softener and the heating element may be damaged as a result.
FILLING THE RINSE AID DISPENSER
Rinse aid makes dish DRYING easier. The rinse aid dispenser A should be filled when the RINSE AID REFILL indicator light in the control panel is lit.

- Open the dispenser B by pressing and pulling up the tab on the
- Pour in the rinse aid (max.110 ml), making sure it does not overflow from the If this happens, clean the spill immediately with a dry cloth.
- Press the lid down until you hear a click to close it.
NEVER pour the rinse aid directly into the appliance tub.
ADJUSTING THE DOSAGE OF RINSE AID
If you are not completely satisfied with the drying results, you can adjust the quantity of rinse aid used.
- Switch the dishwasher on using the ON/OFF
- Switch it off using the ON/OFF
- Press button P three times – a beep will be
- Switch it on using the ON/OFF
- The current selection level number and rinse aid indicator light
- Press button P to select the level of rinse aid quantity to be
- Switch it off using the ON/OFF button
The setting is complete!
If the rinse aid level is set to ZERO (ECO), no rinse aid will be supplied. The LOW RINSE AID indicator light will not be lit if you run out of rinse aid. A maximum of 5 levels can be set according to the dishwasher model. The factory setting is specific to the model, please follow instruction above to check this for your machine.
- If you see bluish streaks on the dishes, set a low number (1-2).
- If there are drops of water or limescale marks on the dishes, set a mid-range number (3-4).
FILLING THE DETERGENT DISPENSER
To open the detergent dispenser use the opening device C. Introduce the detergent into the dry dispenser D only. Place the amount of detergent for pre-washing directly inside the tub.
- When measuring out the detergent refer to the mentioned earlier infor-mation to add the proper quantity. Inside the dispenser D there are indi-cations to help the detergent dosing.
- Remove detergent residues from the edges of the dispenser and clo-se the cover until it clicks.
- Close the lid of the detergent dispenser by pulling it up until the closing device is secured in place.

The detergent dispenser automatically opens up at the right time according to the program. If all-in-one detergents are used, we recommend using the TABLET button, because it adjusts the program so that the best washing and drying results are always achieved.
Usage of detergent not designed for dishwashers may cause mal-function or damage to the appliance.
PROGRAMS TABLE

ECO program data is measured under laboratory conditions according to European Standard EN 60436:2020.
Note for Test Laboratories:
For information on comparative EN testing conditions, please send an email to the following address: [email protected]. Pre-treatment of the dishes is not needed before any of the programs.
- Not all options can be used simultaneously.
- Values given for programs other than the program Eco are indicative only. The actual time may vary depending on many factors such as temperature and pressure of the incoming water, room temperature, amount of detergent, quantity and type of load, load balancing, additional selected options and sensor calibration. The sensor calibration can increase program duration up to 20 min.
PROGRAMS DESCRIPTION
Instructions on wash cycle selection.
- ECO
Eco programme is suitable to clean normally soiled tableware, that for this use, it is the most efficient programme in terms of its combined energy and water consumption, and that it is used to assess complian-ce with the EU Ecodesign legislation. - 6th SENSE ®
For normally soiled dishes with dried food residues. Senses the level of soiling on the dishes and adjusts the program accordingly. When the sensor is detecting the soil level an animation appears in the display and the cycle duration is updated. - INTENSIVE
Program recommended for heavily soiled crockery, especially suitable for pans and saucepans (not to be used for delicate items). - MIXED
Mixed soil. For normally soiled dishes with dried food residues. - FAST WASH&DRY
Normally soiled crockery. Everyday cycle, that ensures optimal cleaning and drying performance in shorter time. - CRYSTALS
Program for delicate items, which are more sensitive to high temperatu-res, for example glasses and cups. - RAPID 30’
Program to be used for half load of lightly-soiled dishes with no dried food residues. Does not include drying phase. - SILENT
Suitable for night-time operation of the appliance. Ensures optimal cle-aning and drying performance with the lowest noise emission. - SANITIZING
Normally or heavily soiled crockery, with additional antibacterial wash. Can be used to perform maintenance of the dishwasher. - PREWASH
Use to refresh crockery planned to be washed later. No detergent to be used with this program. - SELF-CLEAN
Program to be used to perform maintenance of the dishwasher, to be carried out only when the dishwasher is EMPTY using specific deter-gents designed for dishwasher maintenance
Notes: Please note that cycle Rapid 30’ is dedicated for lightly soiled dishes.
OPTIONS AND FUNCTIONS
OPTIONS can be selected directly by pressing the corresponding button (see CONTROL PANEL).
If an option is not compatible with the selected program see PROGRAMS TABLE, the corresponding LED flashes rapidly 3 times and beeps will sound. The option will not be enabled.
MULTIZONE
If there are not many dishes to be washed, a half loading may be used in order to save water, electricity and detergent.
Select the program and then press the MULTIZONE button: The symbol of the chosen rack will appear on the display. By default the appliance washes dishes in all racks.
To wash only the specific rack, press this button repeatedly:
![]()
shown on the display (only lower rack)
shown on the display (only upper rack)
shown on the display (only cutlery rack)
shown on the display (option is OFF and the appliance will wash dishes in all racks).
Remember to load the upper or lower rack only, and to reduce the amount of detergent accordingly. If upper rack is removed, please apply detergent directly to tub instead of detergent dispenser.
DELAY
The start time of the program may be delayed for a period of time between 1 and 12 hours.
- Press the DELAY button: the corresponding «h» symbol appears on the display; each time you press the button, the time (1h, 2h, etc. up to max. 12h) from the start of the selected wash cycle will be increased.
- Select the wash program, press the START/Pause button, and within 4 seconds close the door: the timer will begin counting down.
- Once this time has elapsed, the indicator light «h» switches off and the wash cycle begins.
To adjust the delay time and select a shorter period of time, press the DELAY button. To cancel it, press the button repeatedly until the selected delayed start indicator light «h» switches off.
The DELAY function cannot be set once a wash cycle has been started.
TURBO
This option can be used to reduce the duration of the main programs while maintaining the same washing and drying performance levels. After selecting the program, press the TURBO button and the indicator light will switch on. To deselect the option, press the same button again.
POWER CLEAN
Thanks to the additional power jets this option provides a more intensive and powerful wash in the lower rack, in the specific area. This option is recommended for washing pots and casseroles. Press this button to activate POWER CLEAN (the indicator lights up).
TABLET (Tab)
This setting allows you to optimize the performance of the program according to the type of detergent used. Press the START/Pause button for 3 seconds (the corresponding symbol will light up) if you use combined detergents in tablet form (rinse aid, salt, and detergent in 1 dose).
If you use powder or liquid detergent, this option should be off.
OPERATION INDICATOR
A LED light projected on the floor indicates that the dishwasher is working. One of the following operating modes can be selected:
- a) Disabled function.
- b) When the cycle starts the light goes on for few seconds, stays off during the cycle and flashes at the end of the cycle.
- c) The light stays on during the cycle and flashes at the end of the cycle (default mode).
If the delayed start was set, the light goes on either for the first few seconds or the entire duration of the countdown, based on whether mode (b or c) was set. The light goes off every time the door is opened. To select the mode you prefer, switch on the machine, hold down button P until one of the three letters appears on the display, press button P until you reach the desired letter (or mode), hold down button P to confirm the selection.
Note: If NaturalDry is active and it opens the door, then Operation Indicator will not flash at the end of cycle.
NaturalDry
NaturalDry is a convection drying system which automatically opens the door during/after drying phase to ensure exceptional drying per-formance every day. Door opens at the temperature that is safe to your kitchen furniture, thus door will not be opened when the option of TURBO is on. As additional steam protection, special designed protection foil is added together with the dishwasher. To see how to mount protection foil please refer to (INSTALLATION GUIDE).
NaturalDry functionality could be disabled by the user as follows:
- Go to the Dishwasher software menu pressing and holding P button (6 sec).
- You are currently in Light Control Menu (please refer to OPERATION INDICATOR description), if you don’t want to change anything please press and hold P button (until one of the two letters appears on the display).
- You switched to NaturalDry Control Menu, you could change status of NaturalDry functionality by pressing P button:
- E – enabled
- d – disabled
To confirm the change and exit from the Control Menu please press and hold P button (3 sec).
LOADING THE RACKS
CUTLERY RACK
The third rack was designed to house the cutlery. Arrange the cutlery as shown in the figure. A separate arrangement of the cutlery makes collection easier after washing and improves washing and drying performance.
Knives and other utensils with sharp edges must be positioned with the blades facing downwards.
The geometry of the rack makes it possible to place such small items as coffee cups in the area in the middle.

The cutlery basket is equipped with two sliding side trays to make the most of the height of the space be-low and enable the loading of high items into upper rack.
UPPER RACK

Load delicate and light dishes: glasses, cups, saucers, low salad bowls. The upper rack has tip-up sup-ports which can be used in a vertical position when arranging tea/ dessert saucers or in a lower position to load bowls and food containers.
FOLDABLE FLAPS WITH ADJUSTABLE POSITION

The side foldable flaps can be fold or unfold to optimize the arrangement of crockery inside the rack. Wine glasses can be placed safely in the foldable flaps by inserting the stem of each glass into the corresponding slots.
Depending on the model:
- to unfold the flaps there is needed to slide it up and rotate or release it from the snaps and pull it down.
- to fold the flaps there is needed to rotate it and slide flaps down or pull it up and attach flaps to the snaps.
ADJUSTING THE HEIGHT OF THE UPPER RACK

The height of the upper rack can be adjusted: high position to place bulky crockery in the lower basket and low position to make the most of the tip-up supports by creating more space upwards and avoid collision with the items loaded into lower rack. The upper rack is equipped with a Upper Rack height adjuster (see figure), without pressing the levers, lift it up by simply holding the rack sides, as soon as the rack is stable in its upper position. To restore to the lower position, press the levers A at the sides of the rack and move the basket downwards.
We strongly recommend that you do not adjust the height of the rack when it is loaded. NEVER raise or lower the basket on one side only.
LOWER RACK

For pots, lids, plates, salad bowls, cutlery etc. Large plates and lids should ideally be placed at the sides to avoid interferences with the spray arm. The lower rack has tip-up supports which can be used in a vertical po-sition when arranging plates or in a horizontal position (lower) to load pans and salad bowls easily.
POWER CLEAN

Power Clean uses the special water jets in the rear of cavity to wash more intensively the high dirty items. The lower rack has a Space Zone, a special pull-out support in the rear of the rack that can be used to support frying pans or baking pans in upright position, thus taking up less space. Placing the pots/casseroles faced to the Power Clean® component please activate the POWER CLEAN on the panel.
How to use Power Clean:
- Adjust the Power Clean area G folding down the rear plate holders to load pots.
- Load pots and casseroles inclined vertically in Power Clean area. Pots have to be inclined towards the power water jets.

DAILY USE
- CHECK WATER CONNECTION: Check that the dishwasher is connected to the water supply and that the tap is open.
- SWITCH ON THE DISHWASHER: Open the door and press the ON/OFF button.
- LOAD THE RACKS (see LOADING THE RACKS).
- FILLING THE DETERGENT DISPENSER
- CHOOSE THE PROGRAM AND CUSTOMISE THE CYCLE: Select the most appropriate program in accordance with the type of crockery and its soiling level (see PROGRAMS DESCRIPTION) by pressing the P button. Select the desired options (see OPTIONS AND FUNCTIONS).
- START: Start the wash cycle by pressing the START/Pause button (led is lit) and closing the door within 4 sec. When the program starts you hear a single beep. If the door was not closed within 4sec., the alarm sound will be played. In this case, open the door, press the START/Pause button, and close the door again within 4 sec.
- END OF WASH CYCLE: The end of the wash cycle is indicated by beeps and by the flashing of the wash cycle number on the display. Open the door and switch off the appliance by pressing the ON/OFF button. Wait for a few minutes before removing the crockery – to avoid burns. Unload the racks, beginning with the lower one.
The machine will switch off automatically during certain extended periods of inactivity, in order to minimize electricity consumption. If the crockery is only lightly soiled or if it has been rinsed with water before being placed in the dishwasher, reduce the amount of detergent used accordingly.
MODIFYING A RUNNING PROGRAM
If a wrong program was selected, it is possible to change it, provided that it has only just begun: open the door, press and hold the ON/OFF button, and the machine will switch off. Switch the machine back on using the ON/OFF button and select the new wash cycle and any desired options; Start the wash cycle by pressing the START/Pause button (led is lit) and closing the door within 4 sec.
ADDING EXTRA CROCKERY
Without switching off the machine, open the door (START/Pause led starts blinking) (beware of HOT steam!) and place the crockery inside the dishwasher. Press the START/Pause button and close the door within 4 sec., and the cycle will resume from the point at which it was interrupted.
ACCIDENTAL INTERRUPTIONS
If the door is opened during the wash cycle, or if there is a power cut, the cycle stops. Press the START/Pause button and close the door within 4 sec., and the cycle will resume from the point at which it was interrupted.
ACCIDENTAL INTERRUPTIONS
If the door is opened during the wash cycle, or if there is a power cut, the cycle stops. Press the START/Pause button and close the door within 4 sec., the cycle will resume from the point at which it was inter-rupted.
ADVICE AND TIPS
TIPS
Before loading the baskets, remove all food residues from the crockery and empty the glasses. You do not need to rinse beforehand under running water.
Arrange the crockery so that it is held in place firmly and does not tip over; and arrange the containers with the openings facing downwards and the concave/convex parts placed obliquely, thus allowing the water to reach every surface and flow freely.
Warning: lids, handles, trays, and frying pans do not prevent the sprayer arms from rotating.
Place any small items in the cutlery basket. Very soiled dishes and pans should be placed in the lower basket because in this sector the water sprays are stronger and allow a higher washing performance. After loading the appliance, make sure that the sprayer arms can rotate freely.
UNSUITABLE CROCKERY
- Wooden crockery and
- Delicately decorated glasses, artistic handicrafts, and antique crockery. Their decorations are not resistant.
- Parts in synthetic material that do not withstand high
- Copper and tin
- Crockery soiled with ash, wax, lubricating grease or
The colors of glass decorations and aluminum/silver pieces can change and fade during the washing process. Some types of glass (e.g. crystal objects) can become opaque after a number of wash cycles too.
DAMAGE TO GLASS AND CROCKERY
- Only use glasses and porcelain guaranteed by the manufacturer as dishwasher safe.
- Use a delicate detergent suitable for crockery
- Collect glasses and cutlery from the dishwasher as soon as the wash cycle is over.
TIPS ON ENERGY SAVING
- When the household dishwasher is used according to the manufacturer’s instructions, washing tableware in a dishwasher usually consumes less energy and water than hand dishwashing.
- In order to maximize dishwasher efficiency it is recommended to initiate the wash cycle once the dishwasher is fully loaded. Loading the household dishwasher up to the capacity indicated by the manufacturer will contribute to energy and water Information on the correct loading of tableware can be found in the Loading chapter.
- In case of partial loading, it is recommended to use dedicated wash options if available (Half load/ Zone Wash, Multizone), filling up only selected racks. Incorrect loading or overloading the dishwasher may increase resource usage (such as water, energy, and time, as well as increase noise levels), reducing cleaning and drying performance.
- Manual pre-rinsing of tableware items leads to increased water and energy consumption and is not recommended.
HYGIENE
To avoid odor and sediment which can be accumulated in the dishwasher please run a high-temperature program at least once a month. Use a teaspoon of detergent and run it without loading to clean your appliance.
CARE AND MAINTENANCE
CLEANING THE FILTER ASSEMBLY
Regularly clean the filter assembly so that the filters do not clog and that the waste water flows away correctly. Using a dishwasher with clogged filters or foreign objects inside the filtration system or spray arms may cause unit malfunction resulting in loss of performance, noisy work, or higher resource usage. The filter assembly consists of three filters that remove food residues from the washing water and then recirculate the water.
The dishwasher must not be used without filters or if the filter is loose.
At least once per month or after every 30 cycles, check the filter assembly and if necessary clean it thoroughly under running water, using a non-metallic brush and following the instructions below:
- Turn the cylindrical filter A in an anti-clockwise direction and pull it out (Fig 1).
- Remove the cup filter B by exerting a slight pressure on the side flaps (Fig 2).
- Slide out the stainless-steel plate filter C (Fig 3).
- In case you find foreign objects (such as broken glass, porcelain, bones, or fruit seeds ) please remove them carefully.
- Inspect the trap and remove any food residues. NEVER REMOVE the wash-cycle pump protection (black detail) (Fig 4).

After cleaning the filters, re-place the filter assembly and fix it in position correctly; this is essential for maintaining the efficient operation of the dishwasher.
CLEANING THE WATER INLET HOSE
If the water hoses are new or have not been used for an extended period of time, let the water run to make sure it is clear and free of impurities before performing the necessary connections. If this precaution is not taken, the water inlet could become blocked and damage the dishwasher.
CLEANING THE SPRAY ARMS
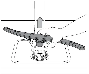
On occasions, food residue may become encrusted onto the spray arms and block the holes used to spray the water. It is, therefore, recommended that you check the arms from time to time and clean them with a small non-metallic brush. To remove the upper spray arm, turn the plastic locking ring in an anti-clockwise direction. The upper spray arm should be replaced so that the side with the greater number of holes is facing upwards.
The lower spray arm may be removed by pulling it upwards.
WATER SOFTENING SYSTEM
Water softener automatically reduces water hardness, consequently preventing scale buildup on the heater, contributing also to better cleaning efficiency. This system regenerates itself with salt, therefore it is required to refill salt containers when empty. The frequency of regeneration depends on the water hardness level setting – regeneration takes place once per 5 Eco cycles with the water hardness level set to 3. The regeneration process starts in the final rinse and finishes in the drying phase before the cycle ends.
- Single regeneration consumes: ~3.5L of water;
- Takes up to 5 additional minutes for the cycle;
- Consumes below 0.005kWh of energy.
TROUBLESHOOTING
In case your dishwasher doesn’t work properly, check if the problem can be solved by going through the following list. For other errors or issues please contact authorized After-sales Service which contact details can be found in the warranty booklet. The manufacturer ensures the availability of spare parts for at least 10 years after production date of this appliance.
| PROBLEMS | POSSIBLE CAUSES | SOLUTIONS |
| Salt
indicator is lit | Salt reservoir is empty. (After refill the salt indica- tor may remain lit for several wash cycles). | Refill reservoir with salt (for more information – see page 2). Adjust water hardness – see table, page 2. |
| Rinse aid indicator is lit | Rinse aid dispenser is empty. (After refill the rinse aid indicator may remain lit for several wash cycles). | Refill dispenser with rinse aid (for more information – see page 2). |
|
The dishwasher won’t start or does not respond to commands. | The appliance has not been plugged in properly. | Insert the plug into the socket. |
| Power outage. | For safety reasons, dishwasher will not re-start automatically when power returns. Open dishwasher door, press START/Pause button and close the door within 4 seconds. | |
| The dishwasher door is not closed. NaturalDry pin is not pulled in. | Vigorously push the door until you hear the “click”. | |
| Cycle is interupted by door opening for more than 4 seconds. | Press START/Pause and close the door within 4 seconds. | |
| It does not respond to commands.
Display shows: 9 or 12 and On/Off LED is blin- king rapidly | Switch off the appliance by pressing the ON/OFF button, switch it back on after approxi- mately one minute and restart the program. If problem persists, unplug the appliance for 1 minute, then plug it back in. | |
| The dishwasher won’t drain.
Display shows: 3 and On/Off LED is blinking rapidly | The wash cycle has not finished yet. | Wait until the wash cycle finishes. |
| The drain hose is bent. | Check that the drain hose is not bent (see INSTALATION INSTRUCTION). | |
| The sink drain pipe is blocked. | Clean the sink drain pipe. | |
| The filter is clogged up with food residues. | Clean the filter (see CLEANING THE FILTER ASSEMBLY). | |
|
The dishwasher makes excessive noise. | The dishes are rattling against each | Position the crockery correctly (see LOADING THE RACKS). |
|
An excessive amount of foam has been produced. | The detergent has not been measured out correctly or it is not suitable for use in dishwashers (see FILLING THE DETERGENT DISPENSER). Restart the current cycle by switching OFF the dishwasher, then switch it on again, select a new program, press START/Pause and close the door within 4 seconds. Please do not add any detergent. | |
|
The dishes are not clean. | The crockery has not been arranged properly. | Arrange the crockery correctly (see LOADING THE RACKS). |
| The spray arms cannot rotate freely, being hinde- red by the dishes. | Arrange the crockery correctly (see LOADING THE RACKS). | |
| The wash cycle is too gentle. | Select an appropriate wash cycle (see PROGRAMS TABLE). | |
| An excessive amount of foam has been produced. | The detergent has not been measured out correctly or it is not suitable for use in dishwa- shers (see FILLING THE DETERGENT DISPENSER). | |
| The cap on the rinse aid compartment has not been shut correctly. | Make sure the cap of the rinse aid dispenser is closed. | |
| The filter is soiled or clogged. | Clean the filter assembly (see CARE AND MAINTENANCE). | |
| There is no salt. | Fill the salt reservoir (see FILLING THE SALT RESERVOIR). | |
| The dishwasher does not fill the water.
Display shows: H, 6 and On/Off LED is blinking rapidly | No water in the water supply or the tap is closed. | Make sure there is water in the water supply or the tap running. |
| The inlet hose is bent. | Make sure the inlet hose is not bent (see INSTALLATION) reprogram the dishwasher and reboot. | |
| The sieve in the water inlet hose is clogged; it is necessary to clean it | After having carried out the verification and cleaning, turn off and turn on the dishwa- sher and restart a new program. | |
| Dishwasher finishes the cycle prema- turely.
Display shows: 15 and On/Off LED is blinking rapidly | Drain hose positioned too low or siphoning into home sewage system. | Check if end of drain hose is placed at correct height (see INSTALLATION).Check for siphoning into home sewage system, install air admittance valve if necessary. |
|
Air in water supply. |
Check water supply for leaks or other issues letting air inside. |
Policy and standard documentation and additional product information can be found by:
- Visiting our website: docs.hotpoint.eu
- Using QR Code
- Alternatively, contact our After-sales Service (See phone number in the warranty booklet).

When contacting our After-sales Service, please state the codes provided on your product’s identification plate. The model information can be retrieved using the QR-Code reported in the energy label. The label also includes the model identifier that can be used to consult the portal of the registry at https://eprel.ec.europa.eu
(available only on certain models).
The model information can be retrieved using the QR-Code reported in the energy label. The label also includes the model identifier that can be used to consult the portal of the registry at https://eprel.ec.europa.eu (available only on certain models).

FAQ’s
Most common problems with WIO 3O41 PL Whirlpool dishwashers: The dishwasher do not drain properly. The detergent cup is not working properly. The dishwasher is not filling with water. The dishwasher door is leaking.
While it depends on the cycle you choose, most dishwasher cycle times can last anywhere from 1.5 to 4 hours. The average dishwasher running time can vary based on sensor readings, how dirty your dishes are or how long it takes to heat water between cycle phases.
Dishes Not Loaded Properly: Overloading and improper loading of the dishwasher are two of the most common reasons a Whirlpool dishwasher doesn’t dry effectively. Avoid overloading by leaving adequate space for air to circulate between each item.
The Sani-Rinse option on a WIO 3O41 PL Whirlpool® dishwasher will eliminate 99.999% of food soil bacteria and can be added to a normal, sensor/auto or heavy cycle. There’s no need to load the dishwasher differently or go through any separate steps to run a sanitize cycle.
The Whirlpool Supreme Clean dishwasher (WIO 3O41 PL) can clean over 156 items, using just six liters of water. This water usage is significantly smaller compared to the average water usage when washing up by hand
Using a heated dry cycle is the best way to ensure that your dishes will be the driest at the end of the cycle. There may still be some moisture, especially on the upper rack or on plastic items, but a heated dry cycle gives the best drying results.
Reasons for a Dishwasher Stopping Mid Cycle If your dishwasher keeps beeping and stopping, the odds are that the door latch is loose. The reason why the dishwasher is stopping mid-cycle is that the sensor on the door latch is shorted or obscured. It could also mean that the door latch is simply broken.
Despite the fact that a dishwasher has a 10-year lifespan on average.
The drain on the dishwasher is not functioning properly. The detergent cup isn’t working properly. The dishwasher is not receiving any water. The door of the dishwasher leaks.
For a variety of reasons, your dishwasher might not drain. The filter in the dishwasher is where clogs most frequently occur.
Using a hot dry cycle is the best way to ensure that your dishes will be the driest possible after the cycle is complete.
Plates and glasses crowded close to one another run the risk of breaking or chipping (and won’t be cleaned either). To prevent getting burned by the steam, wait until the machine has cooled before entering it. After using the dishwasher, shut the door to prevent someone from tripping over it.
Condensation, which is typical throughout the drying process, could be present on the interior walls of the dishwasher.
During the cycle, the dishwasher frequently stops twice or three times to heat the water to the proper temperature for cleaning.
You can access the filter by removing your lowest dish rack, which reveals the dishwasher’s bottom. The filter is located in the back corner of the dishwashing tub or the bottom of the bottom spray arm.
Download this PDF Link: Whirlpool WIO 3O41 PL Freestanding Dishwasher User Guide



















