Leuchten Direkt 994336 LED Panel

SPECIFICATION


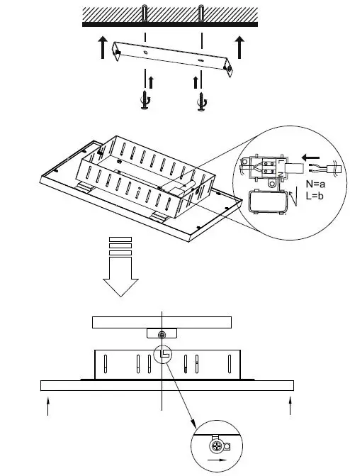
INSTRUCTION

Bitte geben Sie bei technischen Fragen die Chargennummer (XXXXX-XX-XX-XXXXX-XXx) an.Diese finden Sie auf dem Typenschild.
Please let us know the batch number (xXxxX-XX-XX-XXXXX-XXX) for any technical questions.This can be found on the rating plate.
Leuchten Direkt GmbH
Olakenweg 36.59457 Werl
Germany



















