POWERSMITH 40V Max Lithium-Ion Leaf Jet Blower User Manual
PBL140JH
IMPORTANT SAFETY RULES
Warning: When using electric gardening appliances, basic safety precautions should always be followed to reduce the risk of fire, electric shock, and personal injury. Read all instructions before using this appliance.
FOR ALL APPLIANCES
- Avoid dangerous environments – do not use appliances in damp or wet locations.
- Don’t use in rain.
- Keep children away – all people and pets should be kept at a distance from the work area.
- Dress properly – do not wear loose clothing or jewelry. They can be caught in moving parts. Wear protective clothing; use of work gloves, long pants, a long-sleeved shirt and safety footwear is recommended when working outdoors. Wear protective hair covering to contain long hair.
- Use safety glasses – always use face or dust mask if the area in which you are working is dusty.
- Use right appliance – do not use appliance for any job except that for which it is intended.
- Do not force appliance – it will do the job better and with less likelihood of a risk of injury at the rate for which it was designed.
- Do not overreach – keep proper footing and balance at all times.
- Stay alert. Use common sense. Do not operate appliance when you are tired or under the influence of drugs, alcohol or medication.
- When no use, appliances should be stored indoors in dry places out of reach of children.
- Maintain appliance with care. Follow instructions for lubricating and changing accessories. Keep handles dry, clean, and free from oil and grease.
- Check damaged parts. Before using the appliance, make sure the safety guards are intact. Never use a tool without its safety guard. Check the alignment of the moving parts, the binding of the moving parts.
- Check for broken or defective parts that can affect the safe operation of your tool. A guard or other part that is damaged should be properly repaired or replaced by an authorized service center unless indicated elsewhere in this manual.
- Recharge only with the charger specified by the manufacturer. A charger that is suitable for one type of battery pack may create a risk of fire when used with another battery pack.
- Use appliances only with specifically designated battery packs. Use of any other battery packs, may create a risk of injury and fire.
- When battery pack is not in use, keep it away from other metal objects, like paper clips, coins, keys, nails, screws or other small metal objects, that can make a connection from one terminal to another. Shorting the battery terminals together may cause burns or a fire.
- Under abusive conditions, liquid may be ejected from the battery; avoid contact. If contact accidentally occurs, flush with water. If liquid contacts eyes, additionally seek medical help. Liquid ejected from the battery may cause irritation or burns. (This advice is considered correct for conventional Ni-Mh, Ni-Cd, lead acid and lithium-ion cell types. If this advice is incorrect for a cell design that differs from these, then the correct advice
may be substituted.) - Do not use a battery pack or appliance that is damaged or modified. Damaged or modified batteries may exhibit unpredictable behavior resulting in fire, explosion or risk of injury.
- Do not expose a battery pack or appliance to fire or excessive temperature. Exposure to fire or temperature above 40°C or low 0°C may cause explosion.
- Follow all charging instructions and do not charge the battery pack or appliance outside of the temperature range specified in the instructions. Charging improperly or at temperatures outside of the specified
range may damage the battery and increase the risk of fire. - Check the work area before each use. Remove all objects such as rocks, broken glass, nails, wire, or string which can be thrown or become entangled in the machine.
- Never place blower on any surface, except a hard, clean surface when motor is running. Gravel, sand, and other debris can be picked up by the air inlet and thrown at the operator or bystanders, causing possible serious injuries.
IMPORTANT SAFETY RULES
- Never use blower to spread chemicals, fertilizers, or any other toxic substances. Spreading these substances could result in serious injury to the operator or bystanders.
- Never use blower near fires, fireplaces, hot ashes, barbecue pits, etc. Use near fires or ashes can spread fires and result in serious injury and/or property damage.
- Battery blowers do not have to be plugged into an electrical outlet; therefore, they are
always in operating condition. Be aware of possible hazards when not using your battery powered blower or when changing accessories. Following this rule will reduce the risk of electric shock, fire, or serious personal injury. - Do not point the blower nozzle in the direction of people or pets.
- Never run the unit without the proper equipment attached. Always ensure the blower tubes are installed.
- For household use only.
- Have servicing performed by a qualified repair person using only identical replacement parts. This will ensure that the safety of the product is maintained.
- Do not modify or attempt to repair the appliance or the battery pack (as applicable) except as indicated in the instructions for use and care.
SAVE THESE INSTRUCTIONS
IMPORTANT SAFETY INSTRUCTIONS
FOR CHARGER & BATTERY
- Save these Instructions. This manual contains important safety and operating instructions for your battery charger.
- Before using the battery Charger, read all instructions and cautionary markings on (1) Battery Charger, (2) Battery, and (3) Product using battery.
- Use only the charger which accompanied your product or direct replacements as listed in this manual. Do not substitute any other charger.
- Do not recharge battery in damp or wet environments. Do not expose battery pack to water or rain.
- Do not operate charger with damaged cord or plug. Replace immediately.
- Do not operate charger if it has received a sharp blow, been dropped or otherwise damaged in any way. Take it to a qualified serviceman.
- Do not disassemble charger or battery pack. Take it to a qualified serviceman when service or repair is required. Incorrect reassembly may result in a risk of electric shock or fire.
- Do not charge battery pack when temperature is below 50° F (10° C) or above 104° F (40° C). Store tool and battery pack in a location where temperature will not exceed 122° F (50° C). This is important to prevent serious damage to the battery cells.
- Place charger on flat non-flammable surface and away from flammable materials when re-charging the battery pack.
- To reduce risk of electric shock, unplug charger from outlet before attempting any maintenance or cleaning.
- If operating time has become excessively shorter, stop operating immediately. It may result in a risk of overheating, possible burns and even an explosion.
- Battery leakage may occur under extreme usage or temperature conditions. Avoid contact with skin and eyes. If liquid comes in contact with your skin, wash immediately with soap and water. If liquid gets into your eyes, wash them out with clear water for at least 10 minutes, and then seek medical attention right away.
- Do not attempt to use a step-up transformer, an engine generator or DC power receptacle.
- Do not short the battery pack. Do not touch the terminal with any conductive material. Avoid storing battery pack in a container with other metal objects such as nails, coins, etc. Always protect the battery terminals when battery pack is not used.
- Do not charge battery pack inside a box or container of any kind. The battery must be placed in a well ventilated area during charging.
- Do not allow anything to cover or clog the charger vents.
- Do not incinerate the battery pack even if it is severely damaged or is completely worn out. The battery pack can explode in a fire.
- Disconnect charger from the power source when not in use. This will reduce the risk to electric shock or damage to the charger if metal pieces should fall into the opening. It also will help prevent damage to the charger during a power surge.
- Use only the following type and size battery: PLB14025 (only use for charger PC1401).
Warning: A battery short can cause a large current flow, overheating, possible burns and even a breakdown.
Warning: 120 volts are present at charging terminals, do not probe with conductive objects. Electric shock or electrocution may result. Do not allow any liquid to get inside charger. Electric shock may result.
IMPORTANT BATTERY INFORMATION:
DISPOSING OF THE BATTERY
- Your batteries are LITHIUM-ION rechargeable batteries. Certain Local, State and Federal laws prohibit disposal of these batteries in ordinary trash.
- Consult your local waste authorities for your disposal/recycling options.
- More information regarding battery disposal in U.S. and Canada is available at;
http://www.rbrc.org/index.html, or by calling 1-800-822-8837 (1-800-8BATTER).
SAVE THESE INSTRUCTIONS
SYMBOLS
Some of the following symbols may be used on this product. Please study them and learn their meaning. Proper interpretation of these symbols will allow you to operate the product better and safer.
SYMBOL | NAME | EXPLANATION |
| V | Volts | Voltage |
A | Amperes | Current |
| Hz | Herz | Frequency (cycles per second) |
W | Watts | Power |
| …/min. | Per Minute | Revolutions, strokes, surface speed, orbits etc., per minute |
CFM | Cubic Feet Per Minute | Air Volume |
| MPH | Miles Per Hour | Air Velocity |
| Alternating Current | Type of current | |
| Direct Current | Type of characteristic of current | |
| Read the Operator’s Manual | To reduce the risk of injury, the user must read and understand operator’s manual before using this product |
| Wear Eye and Ear Protection | Always wear eye protection with side shields marked to comply with ANSI Z87.1 along with hear- ing protection when operating this equipment. | |
| Safety Alert | Precautions that concern your safety. |
![]() | Long Hair | Failure to keep long hair away from the air inlet could result in personal injury. |
| keep Bystanders Away | keep all at least 50 ft. away. |
![]() | Blower Tubes | Do not operate without tubes in place |
| Loose Clothing | Failure to keep loose clothing from being drawn into air intake could result in personal injury. |
![]() | Impeller Blades | Rotating impeller blades can cause severe injury. |
SYMBOLS
The following signal words and meanings are intended to explain the levels of risk associated with this product.
SYMBOL SIGNAL | MEANING |
| | Indicates an imminently hazardous situation, which, if not avoided, will result in death or serious injury. |
| Indicates a potentially hazardous situation, which, if not avoided, could result in death or serious injury. |
| | Indicates a potentially hazardous situation, which, if not avoided, may result in minor or moderate injury. |
| (Without Safety Alert Symbol) Indicates important information not re- lated to an injury hazard, such as a situation that may result in property damage. |
Specifications
Motor ————————- 40V, Brushless
Battery ———————— 40V Max, 2.5Ah, Lithium-Ion
No Load Speed ————— 21000 RPM
Air Volume (Max) ————- 450 CFM
Air Speed (Max) —————120 MPH
Charging Time —————- 75 minutes
Net Weight (With Battery) —– 6.6 lbs.
Unpacking & Content
IMPORTANT! Due to modern mass production techniques, it is unlikely the tool is faulty or that a part is missing. If you find anything wrong, do not operate the tool until the parts have been replaced or the fault has been rectified. Failure to do so could result in serious personal injury.
CONTENTS IN PACKAGE
| Description | Q’TY | Description | Q’TY |
| Blower | 1 | Charger (PC1401) | 1 |
| Blower Tube | 1 | Battery Pack (PLB14025) | 1 |
| Battery Cartridge | 1 | Screws | 4 |
| Operator’s Manual | 1 |
KNOWING your BLOWER

- Blower Tube
- Trigger Switch
- Turbo Button
- Cruise Control Lever
- Handle
- Battery Cartridge
- Battery Pack
- Battery Locking Tab
ASSEMBLY AND ADJUSTMENTS
Warning: Always be sure that the product is switched off and the battery is disconnected before adjusting, adding accessories, or checking a function on the tool.
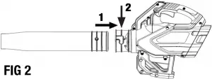
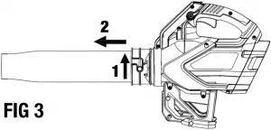
ASSEMBLING AND DISASSEMBLING THE BLOWER TUBE
Install the blower tube to the motor housing as shown in Fig 2. Check and make sure the blower tube is firmly secured. Disassemble the blower tube as shown in Fig 3. Do not try to separate the tube by force or by using tools.

NOTE: Before disassembling the blower tube, be sure the trigger switch is in the OFF position.
ASSEMBLY AND ADJUSTMENTS
ASSEMBLING THE BATTERY CARTRIDGE
- Place battery cartridge right underneath the blower housing as shown in Fig 4.

- Tighten four screws included to secure the battery cartridge in place. See Fig 5.

INSTALLING OR REMOVING THE BATTERY PACK
IMPORTANT! The battery pack is not fully charged when it is purchased. Before using the product for the first time, charge the battery pack. Make sure to read all safety precautions and follow the instructions in the Charging
Battery section.
Warning: Always be sure that the product is switched off before insertion or removal of the battery pack.
- To install the battery pack, slide the battery pack into battery cartridge at the bottom of the product housing all the
way until it locks in place with a click, as shown in FIG 1. Lightly pull on the battery to ensure it is locked into place
and will not accidentally fall out of the product. - To remove the battery pack, pull the battery pack away from the product while depressing the battery locking tab
(8-Fig1)
Operation
APPLICATIONS
You may use this product for the purposes listed below.
- Clearing leaves and yard debris from your lawn.
- Keeping decks and driveways free from leaves, debris and pine needles.
Before each use, inspect the entire product for damaged, missing, or loose parts such as screws, nuts, bolts, caps, etc. Securely tighten all fasteners and caps and do not operate this product until all missing or damaged parts are replaced.
STARTING AND STOPPING THE BLOWER (FIG 6)
To Start the Blower, depress the trigger switch (2). Depress the
switch more to increase the air speed and release the switch
slightly to decrease the speed.
To Stop the Blower, release the trigger switch.
Turbo Function: Your blower comes with a turbo button (3) to
enhance the air speed, press the turbo button to temporarily increase the air speed to the maximum. The blower will resume
the previous speed when the turbo button is released.

Operation
Cruise Control Lever : Your blower is equipped with a cruise control lever (4) to lock the speed at the desired setting. Depress the trigger switch to start the blower. Once the blower is on, pull back the cruise control lever clockwise to
increase the speed. This will lock the speed at the desired setting. The blower will be working at that speed setting without depressing the trigger switch. It helps to reduce the fatigue for the user. To decrease the speed, push the cruise control lever counterclockwise.
CHARGING THE BATTERY (FIG 7)
NOTE: Always Check that the power supply corresponds to the voltage on
the ratings plate.
- Plug the charger (1) into a 120 Volt AC power source. The green light (3) will illuminate for 5 seconds, then the light will go off if no battery pack in the charger. .
- Slide the battery (2) all the way into the charger until it locks in place with a click, as shown in FIG 7. The flashing green light indicates that the battery is charging. A solid green indicates the battery is fully charged.
- The flashing red light (4) indicates the battery temperature is too high to be charged. Wait the battery cool down to start the charging.
- The solid red light indicates the battery is damaged and will never be
charged. - Batteries may become warm while charging. This is normal.
- If battery is hot after continuous use in the tool, allow it to cool down to room temperature before charging. This will extend the life of your batteries.
NOTE: It takes approximately 75 minutes to charge up a completely discharged battery.
USING THE BLOWER
- To keep from scattering debris, blow around the outer edges of a debris pile. Never blow directly into the center of a pile.
- To reduce sound levels, limit the number of pieces of equipment used at any one time.
- Use rakes and brooms to loosen debris before blowing. In dusty conditions, slightly dampen surfaces if water is available.
- Conserve water by using power blowers instead of hoses for many lawn and garden applications, including areas such as gutters, screens, patios, grills, porches, and gardens.
- Watch out for children, pets, open windows, or freshly washed cars, and blow debris safely away.
- After using blowers or other equipment, clean up! Dispose of debris properly.
MAINTENANCE
CLEANING
Avoid using solvents when cleaning plastic parts. Most plastics are susceptible to damage from various types of commercial solvents and may be damaged by their use. Use clean cloths to remove dirt, dust, oil, grease, etc.
Warning: Do not at any time let brake fluids, gasoline, petroleum-based products, penetrating oils, etc., come in contact with plastic parts. Chemicals can damage, weaken or destroy plastic which may result in serious personal injury.
Electric tools used on fiberglass material, wallboard, spackling compounds, or plaster are subject to accelerated wear and possible premature failure because the fiberglass chips and grindings are highly abrasive to bearings, brushes, commutators, etc. Consequently, we do not recommended using this tool for extended work on these types of materials. However, if you do work with any of these materials, it is extremely important to clean the tool using compressed air.
LUBRICATION
This tool is permanently lubricated at the factory and requires no additional lubrication.
STORING
- Clean the blower thoroughly before storing.
- Store the blower indoors, in a dry place that is inaccessible to children.
- Keep away from corrosive agents such as garden chemicals and deicing salts.
Troubleshooting
PROBLEM | POSSIBLE CAUSE | SOLUTION |
| Motor fails to start when switch is depressed. | Battery is not secure.
Battery is not charged. | To secure the battery pack, make sure the latches on the top of the battery pack snap into place.
Charge the battery pack according to the instructions included with your model. |
| The air velocity decreases obviously. | Excessive wearing of motor fan.
The air inlet is blocked by debris | Call for PowerSmith technical service for repair. Do not blower. Remove the battery pack, clear the debris. |
WARRANTY
This product is warranted free from defects in material and workmanship for 3 years after date of purchase. This limited warranty does not cover normal wear and tear or damage from neglect or accident. The original purchaser is covered by this warranty and it is not transferable. Prior to returning your tool to store location of purchase, please call Toll-Free Help Line for possible solutions.
THIS PRODUCT IS NOT WARRANTED IF USED FOR INDUSTRIAL OR COMMERCIAL PURPOSES. ACCESSORIES INCLUDED IN THIS KIT ARE NOT COVERED BY THE 3 YEAR WARRANTY. BATTERY INCLUDED IS WARRANTED FOR ONE (1) YEAR AFTER DATE OF PURCHASE.
For questions about this or any other PowerSmith Product,
Please call Toll-Free: 888-552-8665.
Or visit our web site: www.powersmithtools.com
EXPLODED VIEW

PARTS LIST
| NO. | PART NO. | DESCRIPTION | QTY |
| 1 | 01.01.1402 | Tapping Screw | 22 |
| 2 | F36.0400.0001 | Suction Con | 1 |
| 3 | F36.0400.0007 | Controller | 1 |
| 4 | F36.0200.0002 | Ventilated Cover | 1 |
| 5 | F36.0400.0004 | Left Housing | 1 |
| 6 | F36.0200.0006 | Speed Lock Lever | 1 |
| 7 | 01.04.1461 | ¢4 Washer | 1 |
| 8 | F36.0300.0003 | Turbo Button | 1 |
| 9 | F36.0300.0006 | Rocker Switch | 1 |
| 10 | F36.0200.0005 | Switch Trigger | 1 |
| 11 | H36.0100.0002 | Switch | 1 |
| 12 | 02.34.115 | Internal Wire | 1 |
| 13 | J36.0201.0200 | Terminal Base | 1 |
| 14 | F36.0400.0005 | Right Housing | 1 |
| 15 | 01.03.0063 | M5 Nut | 1 |
| 16 | F36.0200.0001 | Driving Sleeve | 1 |
| 17 | F36.0200.0010 | Flow Fan | 1 |
| 18 | 01.01.3061 | Tapping Screw | 4 |
| 19 | F36.0300.0001 | Current Collector | 1 |
| 20 | F36.0400.0006 | Brushless Motor | 1 |
| 21 | F36.0300.0002 | Collector-Shoe gear | 1 |
| 22 | F36.0200.0009 | Diffusion Tube | 1 |
| 23 | F36.0200.0011 | Blower Tube | 1 |
| 24 | F36.0400.0003 | Right Support | 1 |
| 25 | F36.0400.0002 | Left Support | 1 |
| 26 | 01.01.1694 | Tapping Screw | 4 |






















