PW1000-12 Power Inverter
User Manual

PW1000-12 Power Inverter
Welcome
Please read this manual thoroughly before installing and operating your new PowerBright TM Power Inverter. This manual contains information you need to obtain the performance required for your application. Keep this manual for future reference.
About PowerBright TM Inverters
PowerBright TM , an innovator in portable inverter design, has developed a new line of super-efficient power inverters with the highest surge capability in the industry. These extremely advanced, microprocessor controlled units run cooler and more reliable than any in their class.This unit has the highest efficiency available (up to 90%), so that longer run times and extended battery life are achieved. This PowerBright TM Inverter converts low voltage, direct current (DC) to 110V modified sine wave (MSW) alternating current (AC). The inverter draws power from 12V, deep-cycle batteries such as those used for marine, golf cart, & fork-lift or from other high current 12V sources.
A Higher Wattage Inverter May Be Required
To determine whether the PowerBright TM PW1000-12 will operate a particular appliance or a combination of appliances, run a test. All inverters are designed to automatically shut down in the event of a power overload. This protection feature prevents damage to the unit while testing appliances with combined wattages in the 1000 watt range. Turn on the highest wattage appliance first then other appliances. If an appliance combination in the 1000 watt range will not operate properly, then it is likely that this PowerBright TM inverter does not have the required capacity to operate the appliance in question.
WARNINGS, CAUTIONS AND NOTES
It’s very important that any operator & installer of this inverter read & follow all WARNINGS,CAUTIONS & NOTES & all installation & operation instructions. In particular, comply with WARNINGS (possibility of serious injury or death), CAUTIONS (possibility of damage to the inverter & /or other equipment) & NOTES (included to assist you in achieving the max. performance & longest working life from this advanced-design inverter.
WARNINGS: INVERTER OUTPUT
This is a heavy-duty device that produces voltages similar to\ commercial AC power.
- Danger of shock or electrocution – treat inverter output the same as commercial AC power.
- Do not use the inverter near flammable materials or in any locations that may accumulate flammable fumes or gases. This is an electrical device that can briefly spark when electrical connections are made or broken.
- Do not allow water or other liquids to contact the inverter.
- Do not use appliances with damaged or wet cords.
CAUTIONS: INVERTER OPERATING ENVIROMENT
- Surrounding air temperature should be between -20°C and 40°C – ideally between 15°C and 25°C (60 – 80°F).
- Keep the inverter away from direct sunlight, if at all possible.
- Keep the area surrounding the inverter clear to ensure free air circulation around the unit. Do not place items on or over the inverter during operation. The unit will shut down if the internal temperature gets too hot. Restart the inverter after it cools.
- This Power Bright TM inverter will only operate from a 12V power source. Do not attempt to connect the inverter to any other power source, including any AC power source
- Do not reverse DC input polarity – this will void the warranty.
APPLIANCE CAUTIONS:
- Do NOT plug in battery chargers for cordless power tools if the charger carries a warning that dangerous voltages are present at the battery terminals.
- Certain chargers for small nickel-cadmium or nickel-metalhydride batteries can be damaged if powered by this inverter. Two types of appliances are susceptible to damage: Small, battery-operated appliances such as flashlights, cordless razors and toothbrushes that plug directly into an AC receptacle.
- DO Not use this inverter with the above two types of equipment.
- The majority of portable appliances do not have this problem. Most portable appliances use separate transformers or chargers
that plug into AC receptacles to supply a low-voltage DC or AC output to the appliance. - Some fans with synchronous motors may slightly increase in speed (RPM) when powered by the inverter. This is not harmful to the fan or to the inverter.
- Route appliance cords and extension cords to prevent accidental pinching, crushing, abrading and tripping people,
- Use safety approved extension cords rated at15 amps or higher.
- GFCI devices may not work with modified sine wave (MSW) power.
- This inverter is not tested for use with medical equipment.
- This inverter is not tested for use in marine applications.
- In the event of a continuous audible alarm or automatic shut down, turn the inverter OFF immediately. Do not restart the inverter until the source of the problem has been identified and corrected.
- When attempting to power lead acid battery chargers, with modified sine wave, monitor the temperature of the battery charger for approximately 10 minutes. If the battery charger becomes abnormally warm, immediately disconnect it from the inverter.
Getting Started
When a motorized appliance or a tool turns on, there is an initial surge of power to start. This surge of power is referred to as the “starting load” or “peak load.” Once tarred, the tool or appliance requires less power to operate. This is referred to as the “continuous load” in terms of power requirements. You will need to determine how much power your tool or appliance requires to start up (starting load) and it’s continued running power requirements (continuous load). Power consumption is rated in watts, r it can be calculated from amperes (amps). This information is usually stamped or printed on most appliances and equipment. If this information is not indicated on the appliance or equipment, check the owner’s manual. For electrically sensitive equipment, contact the manufacturer to determine if the device you are using is compatible with modified sine wave AC.
Multiply: AC AMPS X 110 (AC voltage) = WATTS
This formula yields a close approximation of the continuous load of your appliance.
Multiply: WATTS X 2 = Starting Load for most appliances This formula yields a close approximation of the starting load of most appliances. Exceptions are motorized appliances such as pumps, freezers and air conditioners. These appliances can have startup loads of up to eight times the rated watts.
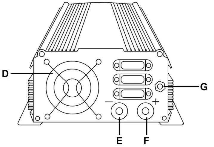
Front Panel PW1000-12
A. Two standard North American AC outlets, each rated at 15 Amps
B. Overload LED Indicator. If continuous power draw of appliance(s) exceeds 1000 watts, this light will turn ORANGE/RED and the inverter will automatically shut down. When this occurs, turn off the inverter and determine the cause of the overload before turning the inverter and the appliance back on.
C. ON/OFF Switch. Turns the inverter circuits ON and OFF.

D. High-Speed Cooling Fans. When the temperature inside the inverter exceeds a preset limit, the Cooling Fan automatically turns on to cool the inverter. When the temperature reduces, the fan turns off.
E. Negative Power Input Terminal.
F. Positive Power Input Terminal.
G. Ground Terminal
Determining the DC Power Requirements
Powering multiple appliances from the high-power PW1000-12 inverter requires a 12 volt bank of batteries (several batteries). To calculate the approximate power in amps a 2 volt battery bank has to supply you need to know the current, or amps required for powering the continuous AC load. A shortcut method is to divide the continuous AC oad wattage by 10. For example, the continuous AC load is 2000 watts. The current (amps) is: 2000/10 or 200 amps at 12 VDC. Add to the load any DC appliances that may e powered by the battery bank.
Sizing the Battery Bank
To determine the minimum battery bank ampere-hour rating that you will need to operate appliances from the inverter, and any DC appliances powered by the battery bank. ollow these steps:
- List the maximum wattage that the inverter has to provide (as above).
- Estimate the number of hours the appliances will be in use between battery recharges. This will differ depending on appliances. As an example, a typical home-use coffeemaker draws 500 watts during its brew time of 5 minutes, it maintains the temperature of the pot at about 100 watts. Typical use of a microwave oven is only for a few minutes. Some longer operating time appliances are lamps, TV’s, computers and refrigerator/freezers.
- Determine the total watt-hours of energy needed. Then multiply the average power consumption in watts by the number of hours of run time. For example: 2000 watts for 10 hours = 20,000 watt hours. Using the 2000 watts (or 200 Amps) for 10 hours example as above, then 200 amps is needed for 10 hours. This provides us with the basic amp-hours (AH) of battery that is required. Ten hours at 200 amps equals 2000 Amp Hours (AH). This answer is just a beginning because there are other conditions that determine actual run time. These include:
• AC appliance load and time in use (basic Amp Hour)
• Cable gage and length (cable losses)
• Charge level of the batteries (between use, chargers have to be able to fully charge the batteries)
• Temperature of the batteries (colder batteries provide fewer amps)
• Age and condition of the batteries (older batteries lose capacity (amp hours)
• Compliance with turning off unnecessary AC and DC loads. If there is any doubt about sizing the battery bank, it is safe to over estimate the amp hour requirements of the battery bank.
Note: The type of batteries you use to power your high power inverter is important. Operating a high-power inverter will routinely discharge batteries and they will require request recharging. Batteries used to start engines are not designed to repeatedly charge and discharge. Power Bright recommends using “deepcycle” or “marine” rated batteries.
Cable Gauges
When connecting the inverter to a battery bank use the thickest stranded insulated copper wire available, in the shortest length practical. If the inverter and the battery are positioned within four feet of each other, a minimum of #8gauge wire should be used to make the connections. When the distance between inverter and battery bank is four to six feet, a minimum of #6 gauge wire is required.
WARNING:
DANGER OF BATTERY EXPLOSION – INSTALL A FUSE
Battery Banks can deliver very high levels of current that can vaporize metal, start fires and cause explosions. Power Bright recommends installing one
ANL type fuse and fuse holder close to the positive battery bank terminal. This fuse protects the batteries from accidental DC cable shorts, which can cause batteries to Xplore. ANL fuses and fuse holders are available at most marine supply stores.
CAUTIONS:
- Loose connections can result in a severe decrease in voltage that can cause damage to cables and insulation.
- Failure to make correct polarity ( Pos, Neg ) connection between the inverter and the battery bank can result in blowing fuses in the inverter and can permanently damage the inverter. Damage caused by reversed polarity is not covered under the Power Bright warranty.
- Making the connection to the Positive terminal may cause a spark as a result of current flowing to charge capacitors within the inverter. This is a normal occurrence.
- Because of the possibility of sparking, however, it is extremely important that both the inverter and the 12 volt battery be positioned far from any possible source of flammable fumes or gases. Failure to heed this warning could result in fire or explosion.
- Operating the inverter without correctly grounding the unit may result in electrical shock.
Mounting the Inverter
Your Power Bright Inverter should not be mounted under the hood of a vehicle. If installing in a vehicle, choose a dry, cool, ventilated area closest to the battery as practical. Before drilling any mounting holes, make sure that there are no wires, fuel lines, or tanks directly behind the surface to be drilled. To mount the inverter:
- Inverter ON/OFF switch must be in the OFF position.
- The inverter should be mounted horizontally.
- Position the inverter against the mounting surface and mark locations of the mounting screw openings.
- Remove the inverter and drill four mounting holes.
- Fasten the inverter to the mounting surface using corrosion-resistant fasteners sized #10 or larger.
Connecting the Inverter
This inverter has two DC cable connections, one positive and one negative. The order of steps in the following procedure minimizes the danger of sparking near the battery bank.
- Prepare all cable set ends with ring terminals at the battery ends.
- Install one fuse holder with fuse in the Pos cable close to the battery bank end.
- Make sure the ON/OFF switch located on the front panel of the inverter is in the OFF (O) position.
- Ensure all appliance cords or extension cords are disconnected from the inverter.
- Connect an AWG 6 stranded insulated wire to the enclosure ground terminal and connect the free end of the wire to the vehicle’s chassis or any other ground point.
- Connect the unfused cable to the Negative (-) terminal of the battery bank.
- Connect the Negative cable to the Inverter’s Negative (-) terminal.
- Insulate the end of cable to be connected to the Pos (+) Inverter terminal.
- Connect the fused cable to the battery bank Pos (+) terminal.
- Connect the Poscable end to the Pos (+) inverter terminal.
NOTE: Sparking is normal for the first connection. Make sure you have good secure connections – Do not over-tighten.
Operation
- Turn On (I) the inverter. Make certain the Over Load LED is not lit.
- Turn OFF (0) the inverter. The Over Load LED may briefly “blink” and the\ audible alarm may also sound a short “chirp.” This is normal.
- When you have confirmed that the appliance to be operated is turned off, plug an appliance cord into one of the four 110v AC Outlets on the front panel of the inverter.
- Turn ON the inverter.
- Turn the appliance on.
- Plug in additional appliances and turn them on.
Notes:
- The audible alarm may make a momentary “chirp” when the inverter is turned OFF. This same alarm may also sound when the inverter is being connected to or disconnected from the 12 volt battery bank.
- When using an extension cord from the inverter to an appliance the extension cord should not be longer than 50 feet.
Television and Audio Suggestions
Although all Power Bright inverters are shielded and filtered to minimize signal interference, some interference with your television picture may be unavoidable, especially in each signal areas. However, here are some suggestions that may improve reception:
- First, make sure that the television antenna produces a clear signal under normal operating conditions. Also, ensure that the antenna cable is properly shielded and of good quality.
- Change the positions of the inverter, antenna cables and TV power cord.
- Isolate the TV, its power cord and antenna cables from the 12 volt power source by running an extension cord from the inverter to the television set.
- Coil the television power cord and the input cables running from the 12 volt power source to the inverter.
- Attach a “Ferrite Data Line Filter” to the television power cord. More than one filter may be required. These filters are available at most electronic supply stores.
Note:
Some inexpensive audio systems may produce a slight “buzzing” sound when operated with the inverter. The only solution to this problem is to use a sound system with ester power supply filtering.
How This Modified Sine Wave Power Inverter Works
There are two stages in which this power inverter changes the 12 volt DC (or battery) power into 110v AC (household current). STAGE1: This inverter uses a DC to DC converter to increase the DC input voltage from the battery to 145 volts DC. STAGE2: The inverter then converts the high voltage DC into 110v AC (household current), using advanced MOSFET transistor in a full bridge configuration. This design provides this Power Bright inverter with the capability to start and run difficult reactive loads, while providing excellent overload capability. The waveform that is generated by this conversion is a “modified sine wave” as shown in the diagram below. TM

Best use of Battery Power
Make sure any appliances are energy efficient and turned off after use. Use Compact Florescent Lamps. Wherever possible, charge with Solar Panels or Wind Generators. Do not allow lead acid batteries to remain discharged for long periods of time, they lose capacity (amp hours). Disposal / Recycling of Inverter / California Proposition 65 Electronic products are known to contain materials that are toxic if improperly disposed. Contact local authorities for disposal and recycling information. This inverter is certified to be “lead free”. Transformers in this inverter contain nickel composites. Nickel is a known neuro-toxin if ingested.
Troubleshooting
PROBLEM: No Input Voltage:
| Reason | Solution |
| Poor contact with battery terminals. | Shut down inverter and disconnect. Clean terminals thoroughly and reconnect |
| Blown DC battery fuse(s). | Turn off inverter. Fix problem. Replace fuse(s) with same type and rating |
PROBLEM: Inverter is Shut Down
| Reason | Solution |
| Battery voltage below 10 Volts | Charge or replace battery. |
| Inverter is too hot (thermal shut down mode). Red indicator is lit | Allow inverter to cool. Check for adequate ventilation. Re- duce the load on the inverterto rated continuous power. |
| Unit may be defective. | See warranty and call customer service. |
PROBLEM: Low Battery Alarm on all the Time
| Reason | Solution |
| Input voltage below 10.5 Volts – buzzing sound | Keep input voltage above 10.5 Volts to maintain regulation. |
| Poor or weak battery condition. | Recharge or replace battery. |
| Inadequate power being delivered to the inverter or excessive voltage drop. | Use lower gage (heavier) cable. Keep cable length as short as possible. |
PROBLEM: TV does not Work
| Reason | Solution |
| TV does not turn on. | Contact TV manufacturer to find out if the TV is compatible with a modified sine wave. |
Specifications
| Name | Description |
| Input | 12V (10-15V) DC |
| Output | 110V AC |
| Output waveform | Modified Sine Wave (MSW) |
| Continuous power | 1000 Watt |
| Surge power | 2000 Watt |
| Efficiency | Approx. 90 % |
| Power Switch | ON/OFF Control |
| Power Switch OFF | <0.5 ADC |
| Battery low alarm | 10.5 ± 0.5 V DC |
| Battery low shutdown | 10 ± 0.5 V DC |
| AC output sockets | 2 North American Standard 15 amps |
| External fuses | 3 X 30 amp (automotive spade type) |
| Dimensions | 5.8” (W) x 2.8” (H) x 10.4” (D) |
| Net Weight | 6 lb |
NOTE: All specifications are typical at nominal line, half load, and 77deg F25 deg C unless otherwise noted. Specifications are subject to change without notice
All Power Bright TM products are warranted to the original purchaser of this product. Please keep a copy of your purchase receipt. Warranty Duration: This product is warranted to the original purchaser for a period of one (1) Year from the original purchase date, to be free of defects in material and workmanship. PowerBright TM disclaims any liability for consequential damages. In no event will PowerBright TM be responsible for any amount of damages beyond the amount paid for the product at retail. In the event of a defective item, please ship the item, prepaid, with a complete explanation of the problem, your name, address and daytime phone number. PowerBright TM has been damaged by accident, in shipment, unreasonable use, misuse, neglect, improper service, commercial use, repairs by unauthorized personnel or other causes not arising out of defects in materials or workmanship. This warranty is does not extend to any units which have been used in violation of written instructions furnished. Warranty Disclaimers:
This warranty is in-lieu of all warranties expressed or implied and no representative or person is authorized to assume any other liability in connection with the sale of our products. There shall be no claims for defects or failure of performance or product failure under any theory of tort, contract or commercial law including, but not limited to negligence, gross negligence, and strict liability, breach of warranty and breach of contract.
Bright Manufacturing, LLC
Fort Lauderdale, FL
Toll Free: 1-866-295-6775
Fax: 954-603-4930
www.PowerBright.corn
TOLL FREE: 1.866.295.6775
DESIGNED IN USA
ASSEMBLED IN CHINA

















