

LIONHEART L20T-112/L20T-212 MANUAL
Introduction
Designed, engineered, and built with pride in Great Britain.
The Lionheart range brings boutique Single-Ended & Parallel Single-Ended Class ‘A’ tube tone to the discerning player who is looking for uniquely responsive BRITISH tube tone.
The Dark Art: In an age where guitar players have developed an unhealthy fascination with pre-amp distortion, the fabled sound of a tube power amp being pushed hard has almost passed into history.
Until now that is!
The 20W Parallel Class A Single Ended output stage installed in the L20T-112 and L20T-212 oozes classic, warm tube tones: The harder you drive it, the better it sounds. Plus with enough gain for contemporary tones, it also has a mean, spiteful side to it as well – making it ideal for any style of playing. Perfect for stage and studio use.
Every Lionheart product is extensively play tested by experienced guitarists before being shipped to our customers. Only when the unit is finished to our complete satisfaction is it assigned its own unique build number which is then hand-stamped onto the rear-mounted plaque.
Your L20T should give you years of trouble-free amplification, however, please take time to read this manual and familiarise yourself with the controls as it will allow you to get the best from your amplifier.
We hope you enjoy using your L20T as much as we enjoyed designing and making it.
Best wishes from all at Laney.
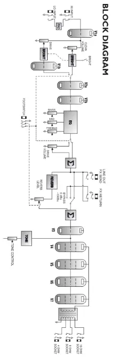
L20T-112/212 FEATURES

- –HI INPUT: ‘Hi’ stands for high gain. This input is designed for the connection of low output level guitars making it well suited for guitars with single coiled or low gain humbucker type pickups. The use of high gain pickups in this input may drive the preamp too hard causing a “mushy” sound. Only use good quality guitar cable.
- -LO INPUT: ‘Lo’ stands for low gain. This input is attenuated down approximately 50% from the Hi input and is designed for high output level guitars. It is useful in obtaining output that is “tight” not “mushy” from high gain humbucker type pickups. Also, use this input for the cleanest full-range sound with an extended low-end response. Only use good
quality guitar cable. - –CLEAN VOLUME: Sets how loud the clean channel is. Try cranking it up a little to drive the power tubes harder for that real retro sound and feel that only a quality tube amplifier can deliver. Now use your guitar volume to control the amount of distortion. (Wind it up for distortion back it off a little for clean).
- -BRIGHT: Adds brightness and life to the treble frequencies of your guitar when on the clean channel. Adds edge and picking emphasis when on the drive channel. The witch has more effect at low Clean Volume/Drive control settings. Use in conjunction with the Treble and Tone controls for optimum performance. Switch up to enable.

- -DRIVE: Sets the level of tube preamplifier drive or how dirty your sound is. This control should be used in conjunction with the Drive Volume (6) Setting low levels of gain with high levels of volume will give a clean preamplifier sound with tube output stage overdrive. Setting a medium drive level and medium Drive Volume will give a nice crisp bluesy lead tone, again with the ability to drive the output stage at higher Drive Volume settings. Setting a high level on the Drive control and a low setting on the Drive Volume will give you a punchy hard rock lead tone, with the ability to again drive the output tubes at higher Drive volume settings. Having set the Drive and Drive Volume controls to your desired sound try backing off your guitar volume and tone controls for lots of other cool sounds. Good tube amplifiers have the unique ability to produce a wide range of sounds by using only your guitar controls, playing weight, and style.
- – DRIVE VOLUME: Sets how loud the ‘Drive’ channel is. It is useful to experiment with drive levels and drive volumes. If you want a very open, warm and semi overdriven sound try reducing the amount of drive and increasing the drive volume. This reduces pre-amp gain but pushes the power amp section and makes it work harder giving you a very desirable level of power amp distortion which is a very pleasing “retro” style sound.
- -DRIVE SWITCH: Switch up to enable the ‘Drive’ channel. (This switch must be in the down (OFF) position in order for the drive to be switched remotely via a footswitch.)
- -DRIVE LED: This LED will illuminate when the Drive channel is activated with the Drive switch (8) or the included Laney FS2-MINI remote footswitch.
- -BASS, MIDDLE, TREBLE: These are a traditional set of passive tone controls. Passive controls have the advantage of always sounding musical at any of their settings mainly due to their unique interactive nature. This gives players a more natural set of tools to create their ideal sound. (Try them all set at midway (5) as a good starting point).

- -REVERB: Controls how loud the built-in reverb sounds.
- -TONE: The tone control works in a similar fashion to the Tone control you probably have on your guitar except that it uniquely works at the other end of the amplification chain. This has the ability to not only control the overall top end response but also reduce upper-end harmonics on the output stage and preamplifier overdrive sounds. This will give you bright cutting sounds at high settings and smooth rounded sounds at lower settings. (Midway (5) is a good starting point).
- -STANDBY SWITCH: Disconnects the main HT voltage from the tubes but keeps the tubes warm so that they are ready to go instantly. Switch to standby for short breaks when you don’t want to wait for the tubes to warm up again.
- -POWER LED: This LED will be lit when the amplifier is switched on. (Always switch off and disconnect the power cord when not in use).

- -POWER INLET SOCKET: Connect to your power source. Make sure the specified voltage is correct for your country!
- -POWER FUSE: This drawer contains the main safety fuse for the unit. The fuse protects the AC power to the amplifier. USE ONLY THE CORRECT SIZE AND RATING OF FUSE AS SPECIFIED ON THE PANEL. If a fuse blows or fails and a replacement of the same size and rating is installed and it in turn blows, the amplifier has suffered a malfunction internally and needs immediate service from a qualified technician. DO NOT TRY USING A FUSE OF HIGHER RATING. Using a fuse that is too large in the current rating may cause serious, irreparable damage to the amplifier and presents a serious fire hazard. The mains fuse ratings are detailed in the specs section at the rear of this manual
- – POWER: Main power switch for unit.
- -HT FUSE: This fuse protects the DC power to the tubes within the amplifier. USE ONLY THE CORRECT SIZE AND RATING FUSE AS SPECIFIED ON THE PANEL. If a fuse blows or fails and a replacement of the same size and rating is installed and it in turn blows, the amplifier has suffered a malfunction, at this point check the output tubes and replace faulty ones if required. Should tubes not be the problem the amplifier should be checked out by a qualified technician. Do not try using a fuse of greater value. Using a fuse that is too large in the current rating may cause serious, irreparable damage to the amplifier. Fuses are designed to protect, do not take chances.
- -EXTENSION CABINET: Use to connect an 8-16 ohm extension cabinet. Please note mismatched impedance will reduce the performance of the amplifier and in some cases may cause damage to your amplifier. Set the switch to the 8 ohms when using only the internal loudspeaker, switch to the 4-ohm setting when connecting to an additional 8-ohm cabinet. Try the L20T-112 into a Laney Lionheart LT212 cabinet – you will be amazed what this little baby cranks out. Note: If the onboard loudspeaker jack is removed, an 8-ohm cabinet can be connected directly to the 8-ohm socket.

- -FX-LOOP:
FX RETURN: Mono jack socket for the connection of the output of an external FX unit. This can also be used as a slave for the power amp. As the FX loop is an insert type, this will mute the preamp.
FX LOOP SWITCH: Selects the FX loop mode of operation
• 10 dBu – For connection of FX units with a -10dBu nominal output level. As this is intended for devices with a lower output level, this switch increases the gain from the FX loop by 10dBu.
• 0 dBu – For connection of FX units with a 0 debut nominal output level.
• Bypass – Removes the FX loop from the signal path.
FX SEND: Mono jack socket for connection to the input of an external FX unit. - -FOOTSWITCH SOCKET: Provided for connection of the included Laney FS2-MINI footswitch. This allows you to remotely switch between the clean/drive channel and switch the built-in reverb On/Off.
TUBE AMPLIFIER SURVIVAL TIPS
- Tube amplifiers: generally sound much warmer/sweeter than solid state transistor amplifiers but they also need a little more respect due to the fragile glass tubes themselves. The L20T-112 & L20T-212 use top-quality tubes, which should give you years of trouble-free service, however like all-tube amps; it is important to treat it with a certain amount of care.
- Tubes are fragile glass components: they can easily be damaged if thrown in and out of vehicles.
- Make sure the impedance: of your cabinets matches the setting on your amplifier. Improper impedance matching will result in reduced output power output and compromised sound at best and amplifier failure/premature tube failure at worst
- Allow the amplifier: to warm up to room temperature before switching it on, The sudden thermal shock generated can crack the cold glass tube housing plus any moisture is bad news around high voltage electronics.
- Allow the amplifier: to cool down after playing before moving. Hot tubes are more susceptible to damage than cool ones. Use good quality loudspeaker leads, cheap leads are often not up to the job of handling the large requirements for loudspeakers and can often short out.
- Tube amplifiers: don’t like running into an open circuit. A tube’s life expectancy is based upon a number of factors which include operating temperature, how hard and how often it is played, vibration due to travel, etc. Tubes should be changed in your amplifier if you notice any change in your amplifier’s performance etc. They need not be changed at any regular interval.
- Typical problems: with preamp tubes, can be a crackly noise, hiss, hum, and microphony. The preamp tubes can safely be changed with no other action required if they fail or reduce in performance. Typical output tube problems can be blown HT fuse; a sound lacking in punch, the sound lacking extreme highs or lows, and low-level hum. The Output tubes can be replaced singularly if you replace them with the exact same type AND grades factory fitted otherwise they should be replaced as a set. See the diagram following to see how to check the tube grade fitted. Exact replacement preamp tubes and matched sets of output tubes are available from Laney via your dealer.
- To change a tube: switch off the unit and unplug from the main supply. Wait for the tubes to cool down. Lay the amplifier down on its front face and remove the protective grille held in place with four screws. You should now be able to access the underside of the amplifier chassis. Preamp tubes are protected with a screen can, to remove; gently twist the screen can anti-clockwise and then pull up. The tube can then be gently pulled out. Take care when pushing the new tube in to make sure the pins are all aligned properly. Output tubes have a spring retainer which must be pulled away before the tube will come out.
- Amplifier connection: To avoid damage, it is advisable to establish and follow a pattern for turning on and off your equipment. With all system parts connected, effects processors, etc. BEFORE turning on your guitar amplifier. Many products have large transient surges at turn on and off which can cause damage to your speakers. By turning on our guitar amplifier LAST and making sure its volume controls are set to a minimum any transients from other equipment will not reach your loudspeakers. Wait until all system parts have stabilized; usually a couple of seconds. Similarly when turning off your system always turn down the volume controls on your guitar amplifier and then turn off ts power before turning off other equipment.
- Cables: never use shielded or microphone cable for any speaker connections as this will not be substantial enough to handle the amplifier load and could cause damage to your amplifier system.
- Caution: These professional loudspeaker systems are capable of generating very high sound pressure levels. Use care with placement and operation to avoid exposure to excessive levels that can cause permanent hearing damage.
Servicing: The user should not attempt to service these products. Refer all servicing to qualified service personnel.


TUBE TABLE
V1 | ECC83 | 005570 |
V2 | ECC83 | 005570 |
V3 | ECC83 | 005570 |
| V4-V7 | EL84 | 005563 |

QUICKSTART SETTINGS – suggestions only.

USER SETTINGS
L20T-112/212 CONNECTIONS WITH FX/WITH EXT CABINET & FX

| Product | GUITAR Amplifier |
| Power | 20 Watts RMS |
| Channels | Twin Channel |
| Features | Clean volume Bright switch Drive Drive volume Drive switch Bass Middle Treble Reverb Tone External Speaker socket FX loop/LINE OUT send FX Loop Return Footswitch socket (FS2-MINI) |
| Speaker | L20T-112 1 x Celestion G12H 70th Anniversary. L20T-212 1 x Celestion G12H 70th Anniversary & 1 X Celestion Vintage 30 |
| Unit Size/mm | L20T-112 465x565x255 (HxWxD) L20T-212 545x685x295 (HxWxD) |
| Unit Weight | L20T-112 22.8 Kg. L20T-212 33.5 KG |
| Carton Size mm | L20T-112 580x670x360 (HxWxD) L20T-212 590x750x380 (HxWxD) |
| Packed Weight | L20T-112 26.4 KG L20T-212 37 KG |

In the interest of continued product development, Laney reserve the right to amend product specification without prior notice
www.laney.co.uk
In order to take full advantage of your new product and enjoy the long and trouble-free performance, please read this owner’s manual carefully, and keep it in a safe place for future reference.
I) Unpacking: On unpacking your product please check carefully for any signs of damage that may have occurred whilst in transit from the Laney factory to your dealer. In the unlikely event that there has been damage, please re-pack your unit in its original carton and consult your dealer. We strongly advise you to keep your original transit carton, since, in the unlikely event that your unit should develop a fault, you will be able to return it to your dealer for rectification securely packed.
2) Amplifier Connection: In order to avoid damage, it is advisable to establish and follow a pattern for turning on and off your system. With all system parts connected, turn on source equipment, tape decks, cd players, mixers, effects processors, etc, BEFORE turning on your amplifier. Many products have large transient surges at turn on and off which can cause damage to your speakers. By turning on your bass amplifier LAST and making sure its level control is set to a minimum, any transients from other equipment should not reach your loudspeakers. Wait till all system parts have stabilized, usually a couple of seconds. Similarly when turning off your system always turn down the level controls on your bass amplifier and then turn off its power before turning off other equipment.
3) Cables: Never use a shielded or microphone cable for any speaker connections as this will not be substantial enough to handle the amplifier load and could cause damage to your complete system.
4) Servicing: The user should not attempt to service these products. Refer all servicing to qualified service personnel.
| Intended to alert the user to the presence of uninsulated ‘Dangerous Voltage’ within the product’s enclosure that may be sufficient to constitute a risk of electrical shock to persons. Ce symbole est utililise pur indiquer a l’utilisateur de ce produit de tension non-isolee dangereuse pouvant etre d’intensite suffisante pour constituer un risque de choc electrique. Este simbolo tiene el proposito de alertar at usuario de la presencia de ‘(voltaje) peligroso’ que no tiene aislamiento dentro de la caja del producto que puede tener una magnitud suficiente como pan constituir riesgo de corrientazo. Dieses Symbol soil den Anwender vor unsolierten gefahrlichen Spannungen innerhalb des Gehauses warnen, die von Ausrichender Starke sind, um einen elektrischen Schlag verursachen zu konnen. | |
| Intended to alert the user of the presence of important operating and maintenance (servicing) instructions in the literature accompanying the product Dieses Symbol soil den Anwender vor unsolierten gefahrlichen Spannungen innerhalb des Gehauses warnen.die von Ausrichender Starke sind, um einen elektrischen Schlag verursachen zu konnen. Este simbolo tiene el proposito de la alertar al usario de la presencis de instrucccones importances sobre la operation y mantenimiento en la literatura que viene conel producto. Dieses Symbol soil den Benutzer auf wichtige Instruktionen in der Bedienungsanleitung aufmerksam machen, die liandhabung undWartung des Produkts betreffen. | |
| CAUTION: ATTENTION: PRECAUTION:VORSICHT: | Risk of electrical shock – DO NOT OPEN. To reduce the risk of electrical shock, do not remove the cover. No user-serviceable parts inside. Refer servicing to qualified personnel. Risques de choc electrique – NE PAS OUVIRIR Afin de reduire le risque de choc electrique, ne pas enlever le couvercle. II ne se trouve a l’interieur aucune piece pouvant etre reparee par rutilisatcur. Confier rentreticn a un personnel qualific. Riesgo de corrientazo – no abra Para disminuir el risego de carrientazo, no abra la cubierta. No hay piens adentro que el pueda reparar. Deje todo mantenimiento a los tecnicos calificadod. Risiko – Elektrischer Schlag! Nicht often! Urn das Risiko eines elektrischen Schlages zu vermeiden. nicht die Abdeckung enfernen. Es befinden sich keine Teile darin, die vom Anwender repariert werden Konnten. Reparaturen nur von qualifiziertem Fachpersonal durchfuhren lassen. |
| WARNING: ADVERTISSEMENT: ADVERTENCIA: ACHTUNG: | To prevent electrical shock or fire hazards, do not expose this appliance to rain or moisture. Before using this appliance please read the operating instructions for further warnings. Afin de prevenir les risques de decharge electrique ou de feu, n’exposez pas cet appareil a la pluie ou a l’humidite. Avant d’utiliser cet apparel’. lisez les advertissments supplentaires situes dans le guide. Pan evitar corrientazos o peligro de incendio. no deja expuesto a la Iluvia o humedad este aparato Antes de usar este aparato, lea mas advertcias en la guia de operation. Urn einen elektrischen Schalg oder Feuergefahr zu vermeiden, sollte dieses Gent nicht dem Regen oder Feuchtigkeit ausgeseat werden.Vor Inbetriebnahme unbedingt die Bedienungsanleitung lessen. |
FCC COMPLIANCE STATEMENT
![]() | This device complies with Part 15 of the FCC rules Operation is subject to the following two conditions: I) This device may not cause harmful interference 2) This device must accept any interference received, that may cause undesired operation. |
| This product conforms to the requirements of the following European Regulations. Directives & Rules: CE Mark (93/68/EEC), Low Voltage (20 I 4/35/EU), EMC (2014/30/EU), RoHS (20 I I /65/EU), ErP (2009/I25/EU). |
![]() | In order to reduce environmental damage, at the end of its useful life, this product must not be disposed of along with normal household waste to landfill sites. It must be taken to an approved recycling center according to the recommendations of the WEEE (Waste Electrical and Electronic Equipment) directive applicable in your country. |
| SIMPLIFIED EU DECLARATION OF CONFORMITY Hereby, Laney Electronics Ltd. declares that the radio equipment is in compliance with Directives 2014/53/EU, 201 I/65/EU, 2009/ I 25/full text of the EU declaration of conformity is available at the following internet address: support Laney co UK/ap RP ovals |
IMPORTANT SAFETY INSTRUCTIONS WARNING:
When using electrical products, basic cautions should always be followed, including the following:
- Read these instructions.
- Keep these instructions safe.
- Heed all warnings.
- Follow all instructions.
- Do not use this apparatus near water.
- Clean only with a dry cloth.
- Do not block any of the ventilation openings. Install in accordance with the manufacturer’s instructions.
- Do not install near any heat sources such as radiators, heat registers, stoves, or other apparatus (including amplifiers) that produce heat.
- An apparatus with Class I construction shall be connected to a main socket outlet with a protective connection. Do not defeat the safety purpose of the polarized or grounding-type plug. A polarized plug has two blades with one wider than the other. A grounding-type plug has two blades and a third grounding prong. The wide blade or third prong is provided for your safety. If the provided plug does not fit into your outlet, consult an electrician for replacement of the obsolete outlet
- Protect the power cord from being walked on or pinched, particularly at plugs, convenience receptacles, and the point they exit from the apparatus.
- Only use attachments/accessories provided by the manufacturer.
- Use only with a cart, stand, tripod, bracket, or table specified by the manufacturer, or sold with the apparatus. When a cart is used, use caution when moving the cart/apparatus combination to avoid injury from tip-over.
- The mains plug or appliance coupler is used as the disconnect device and shall remain readily operable. The user should allow easy access to any mains plug, mains coupler, and mains switch used in conjunction with this unit thus making it readily operable. Unplug this apparatus during lightning storms or when unused for long periods of time
- Refer all servicing to qualified service personnel. Servicing is required when the apparatus has been damaged in any way, such as when the power-supply cord or plug is damaged, liquid has been spilled or objects have fallen into the apparatus, the apparatus has been exposed to rain or moisture, does not operate normally, or has been dropped.
- Never break off the ground pin. Connect only to a power supply of the type marked on the unit adjacent to the power supply cord.
- If this product is to be mounted in an equipment rack, rear support should be provided.
- Note for the UK only: If the colors of the wires in the mains lead of this unit do not correspond with the terminals in your plug, proceed as follows:
a) The wire that is colored green and yellow must be connected to the terminal that is marked by the letter E, the earth symbol, colored green or colored green and yellow. b)The wire that is colored blue must be connected to the terminal that is marked with the letter N or the color black.
c)The wire that is colored brown must be connected to the terminal that is marked with the letter L or the color red. - This electrical apparatus should not be exposed to dripping or splashing and care should be taken not to place objects containing liquids, such as vases, upon the apparatus
- Exposure to extremely high noise levels may cause permanent hearing loss. Individuals vary considerably in susceptibility to noise-induced hearing loss, but nearly everyone will lose some I Duration Per Day in Hours Sound Level dBA. slaw response hearing if exposed to sufficiently intense noise for a sufficient time. 8 90

The U.S. Government’s Occupational Safety and Health Administration (OSHA) has specified the 4 6 95 92 following permissible noise level exposures: According to OSHA, any exposure in excess of the above 3 97 permissible limits could result in some hearing loss. Earplugs or protectors to the ear canals or over 2 .4 100 102the ears must be worn when operating this amplification system in order to prevent a permanent I Los hearing loss if exposure is in excess of the limits as set forth above. To ensure against potentially I io re v. .,1/4-___i dangerous exposure to high sound pressure levels, it is recommended that all persons exposed to 0 less i is equipment capable of producing high sound pressure levels such as this amplification system be protected by hearing protectors while this unit is in operation. - Symbols & nomenclature used on the product and in the product manuals, intended to alert the operator to areas where extra caution may be necessary, are as follows:
Intended to alert the user to the presence of high ‘DangerousVoltage’ within the product’s enclosure that may be sufficient to constitute a risk of electrical shock to persons.
Intended to alert the user of the presence of important operating and maintenance (servicing) instructions in the literature accompanying the product.
Risk of electrical shock – DO NOT OPEN. To reduce the risk of electrical shock do not remove the cover. No user-serviceable parts inside. Refer servicing to qualified personnel.
To prevent electrical shock or fire hazards, do not expose this appliance to rain or moisture. Before using this appliance please read the operating instructions.
If your appliance features a tilting mechanism or a kickback style re LL cabinet, please use this design feature with caution. Due to the ease with which the amplifier can be moved between straight and tilted back positions, only use the amplifier on a level, stable surface. DO NOT operate the amplifier on a desk table, shelf, or otherwise unsuitable non-stable platform.

























