CONDUCTIX BAL0400 Retractors and Balancer User Manual
1 Operating area
Thanks to the spring retractor series 040871-..x1,6 all hand-guided tools can be kept ready for operation. These series make the handling of such tools easier. The load range of the spring retractor depends on its type. All the details are mentioned on the respective type label.
2 Safety Instruction
- Any modification of the spring retractor and its accessories may be carried out only with a written consent of the manufacturer.
- Reading and following strictly the complete operating and safety instructions guaranties a safe operation.
- Only skilled labour and familiarised with the spring retractor may operate, install, maintain and put it into operation. This labour has to be pre-informed about the possible risks which may occur by using the retractor.
- Standing under a pending load has to be avoided.
- It is very dangerous and strictly forbidden to disassemble the spring barrel!
- Uncouple the load only when the rope is completely retracted!
- The rope of the spring retractor has to be examined periodically. If damages are detected on the rope the retractor may not be further used.
- The suspension, the anti fall device and the safety chain have to be kept under surveillance permanently. If damages have been detected, replace the retractor immediately.
- Keep in mind ! The resile of an unloaded rope is very dangerous for the labour and destroys the spring. The maximum capacity mentioned on the type label must not be exceeded.
3 Installation / Initial Operation
Before beginning the installation, make sure that the equipment on which the spring retractor will be fastened is strong enough. Determination of the total load:
- Tool, accessories and parts of the hoses and ropes to be supported by the spring: the value of the total load must be situated within the specified type values.
- In order to enable the retractor to achieve its best performance, hang it up within the middle of the extension area of the rope.
- Always fasten the safety suspension (S) of the retractor on an adequate rake by the means of the appropriated accessories (never use the same rake on which the hook (A) has been attached).
- Max. permitted falling distance: 100 mm.
- Make sure that the existing construction is strong enough.
- If attaching the accessory rope 33303, make sure that it will be correctly positioned: consider the max. permitted falling distance.
- The clamp 21215 must clip both ends of the rope laying one on the other.
- After the first tightening, fasten the clamp with the recommended 2 Nm torque. Thus enable to the loosening between the rope and the clamp generated during the first clamping phase compensate (refer to the figure).
The retractor must be movable freely towards the tractive force.
- If screw fastening devices are applied for fixing the retractor on position (A) and / or position (S), self closing systems and / or split-pins have to be used.
- Attach the load on the hook.
- Never lubricate the retractor with fire hazard or volatile liquids.
- Never take off any labels. Replace any damaged label.
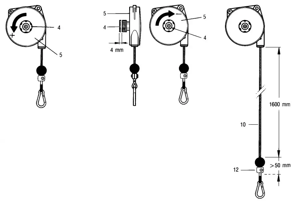
4 Adjustment of the load

- To increase the load : turn the button (4) counter clockwise. Now the button (4) must lay again on the cover (5) (figure left).
- To reduce the load : turn the button (4). Now the button (4) must lay again on the cover (5) (figure in the middle).
- Never retract completely the rope during this process. It may stop at least 50 mm before the end of the stroke. If necessary, reposition the clamp (12) in order to limit the adjustment area upwards (figure right).
5 Maintenance
No maintenance is necessary to guaranty the lifetime of the retractor.
If an intervention is necessary, in case of particularly intense operation, the spring/drum unit inside the retractor has to be slacken before. The spring is the exclusive dangerous part and it is positioned on the drum which is permanently greased. The spring and the drum form a complete unit: never take out the spring.
6 Characteristics
Order number Load range (kg) Cable extension (m) Weight (kg)
040871-01×1,6 0,4 – 1,0 1,6 0,6
040871-02×1,6 1,0 – 2,0 0,6
040871-03×1,6 2,0 – 3,0 0,7


















