Paul Neuhaus Q-Nevio LED table lamp with dimmer and CCT

This product contains a light source of energy efficiency class
ONERVIEW
SPECIFICATION
FEATURTE
- 832143
- 230V / 50Hz~
- 1x LED-Board 24V DC / 22,5W
- not changeable
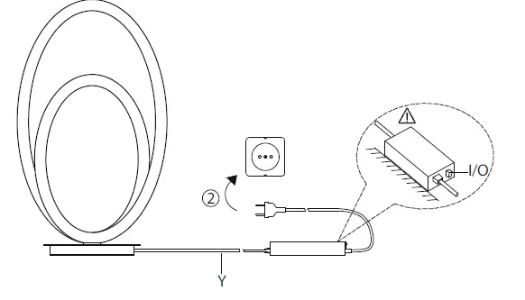
Fitting as table light
Electrical connection
- 230 voltage / 50Hz – connechtion
Teach remote control
See Q-remote control manual
Reset
Reset the lamp, factory new
Paul Neuhaus GmbH Olakenweg 36 59457
Werl Germany Telefon: +49 (0) 29 22-9721-0
Telefax: +49 (0) 2922-9721-9120
E-mail: [email protected]
https://scm.paul-neuhaus.de/public/conformity/ 


























