PANGEA AUDIO 325TWMSK Wall Mount Premier Se Turntable Shelf
Included Parts

Tools Needed
- Level
- Electric Drill
- Phillips Screwdriver
- Stud Finder
- Pencil/Pen
- Tape Measure (Optional)
Use caution to avoid electrical wires, pipes, or any other in-wall hazards that cannot be seen through drywall. If you are unsure before you drill, call a professional for installation.
INSTALLATION
Step 1

Step2

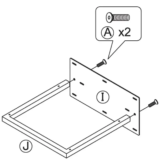
Step 3A
Mounting on wall studs (preferred):
- Locate and lightly mark wall studs and voids with a stud finder (not included).
- Level (not included) the backplate (I) in the desired position against the wall.
- Using step #1 marks as a guide, mark stud locations using backplate (I) as the template.
- Use drill bit (H) to drill holes through the drywall into the studs.
- Place screw (C) through screw cap (D).
- Put the screw through backplate and into the drilled hole, while placing the backplate against the wall.
- Hand tighten screw against backplate until firmly seated (do not overtighten).
- Snap screw cap (D) closed.
- Repeat for all other mounting spots.

Note: Most studs are spaced 16″ on center, and is the preferred method of mounting. It is recommended that at least four (4) screws are seated firmly into wooden studs. Mounting only on drywall is dangerous, and reduces the weight capacity of the shelf considerably. The drywall anchors are only supplied to supplement the stud-mounted screws.
Step 38
Mounting on drywall (only if needed):

- Locate and lightly mark wall studs and voids with a stud finder (not included).
- Level (not included) the backplate (I) in the desired position against the wall.
- Using step #1 marks as a guide, mark voids for drywall anchors (E) using backplate (I) as the template.
- Drill into drywall using drill bit (H) to create a starter hole for the drywall anchor (E).
- Turn drywall anchor into drywall with a Phillips screwdriver until flush with wall.
- Place screw (C) through screw cap (D).
- Put screw through backplate and into the drywall anchor, while placing the backplate against the wall.
- Hand tighten screw against backplate until firmly seated (do not overtighten).
- Snap screw cap (D) closed.
- Repeat for all other mounting spots.
Step4

- Put shelf (K) on spikes, aligning the spikes with the caps on the underside of the shelf.
- Level the shelf, left to right, and front to back, by adjusting the threaded spikes (B).
AN AMERICAN COMPANY
For more products from Pangea, visit WWW. PANGEAAU D10.COM 2021 © PANGEA AUDIO'”
Included Parts















