FN-1608 Series Stand Fan
Instruction Manual
FN-1608CW, FN-1608RW, FN-R1608CB, FN-R1608RW
GETTING TO KNOW YOUR STAND FAN
Congratulations on the purchase of your new Stand Fan.
Before first using your new Stand Fan, it is most important that you read and follow the instructions in this booklet, even if you feel you are familiar with this type of appliance.
Your attention is drawn particularly to the section dealing with IMPORTANT SAFEGUARDS. Find a safe and convenient place to keep this booklet handy for future reference.
This appliance has been designed to operate from a standard domestic power outlet. It is not intended for industrial or commercial use.
Your Stand Fan is safe and easy to use. It has been designed to function quietly and safely under normal circumstances. Your Stand Fan is fully portable with a sturdy stand and
contemporary design. Its energy-efficient blades circulate cool air while using less power than a standard light globe. The heavy-duty motor is rated for continuous use to combat long hot summers.
IMPORTANT SAFEGUARDS
- Read all instructions.
- Disconnect the power plug before dismantling, assembling, or cleaning.
- Avoid touching mobile parts of the fan.
- Make sure the fan is on a dry and even surface.
- Never insert fingers, pencils, or any other objects through the guards whenever the -power plug is connected, especially while running.
- Do not use the appliance for any other purpose than its intended use.
- The fan must not be used if the guards are not fastened according to instructions.
- When the power cord is damaged, it must be replaced by the manufacturer or its -service agent or a similarly qualified person in order to avoid a hazard.
- Do not use your appliance with an extension cord unless it has been checked and tested by a qualified electrician or electrical supplier.
- The appliance is not intended for use by young children or infirm persons unless they have been adequately supervised by a responsible person to ensure that they can use the appliance safely.
This appliance can be used by children over the age of 8 and by persons with sensory, mental, or physical disabilities or lack of experience and knowledge if they are under constant supervision or have been instructed in the safe use of the appliance and they understand the possible dangers. Children should not play with the appliance. Cleaning and customer service should not be performed by children without supervision.
If the power cord is damaged, it must be replaced by the manufacturer, customer service, or similarly qualified personnel in order to avoid a hazard.
- Young children or infirm persons should be supervised to ensure that they do not play with the appliance.
- The appliance is intended used for household use and indoor use only.
- This appliance can be used by children aged 8 years and above and persons with reduced physical, sensory or mental capabilities or lack of experience and knowledge if they have been given supervision or instruction concerning the use of the appliance in a safe way and understand the hazards involved. Children shall not play with the appliance.
Cleaning and user maintenance shall not be made by children without supervision. - Ensure that the fan is switched off from the supply mains before removing the guard.
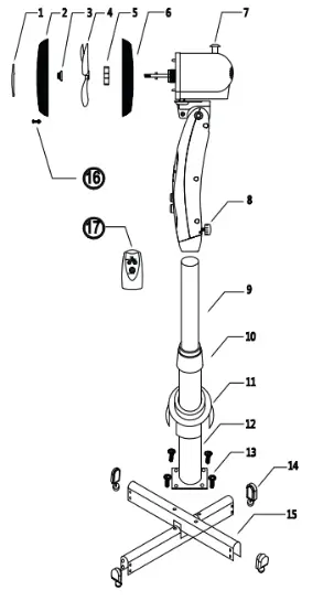
ASSEMBLY OF YOUR STAND FAN
Your Stand Fan has been boxed unassembled to minimize packaging waste. Each part is designed to fit together and be disassembled easily for cleaning or storage.
Note: Ensure the Stand Fan is disconnected from the power outlet before commencing assembly.
Assemble Parts Name
| 1. cover 2. Front guard 3. Blade Screw 4. Blade 5. Nut 6. Rear Guard 7. Panel 8. Screws 9. Into the pipe | 10. Pipe Lock 11. Foot cover 12. Out Pipe 13. Screw TM 5*8 14. Foot plastic 15. Cross Base 16. Screw TM2.5*10 17. Remote |
The figures in this document are for reference only. Illustrated product details may vary.
OPERATION FOR YOUR STAND FAN
Press the speed button you can select the different speed options:
3–HIGH SPEED
2–MIDDLE SPEED
1–LOW SPEED
0–OFF
OPERATION FOR YOUR STAND FAN WITH REMOTE CONTROL
Remove the cable tie and unravel the cords before operation.
The fan and motor assembly are attached to a 3-position ratchet. Tilt up or down until the assembly clicks into the desired position.
Press the speed button to adjust between low-medium-high settings.
REMOTE CONTROL BATTERY COMPARTMENT
Ensure batteries are inserted in the correct direction.- Do not mix battery types.
- When replacing, ensure both batteries are changed simultaneously.
- 2xAAA size batteries are required.
- MODE; When working, you can make it a normal wind model, Natural wind model, or sleep wind model if press this button.
- TIMER: You can set the time to 0.5h. 1h, 1.5h, 2h, 2.5h, 3h, 3.5h, 4h, 4.5h, 5h, 5.5h, 6h, 6.5h, 7h, 7.5h with this button.
- OFF: Stop working
- ON/SPEED: There are work and 3 speeds for you: on, low, mid, and high. Press this button and choose the speed you need.
Press the sleep, Nature, and Normal mode button to select the required MODE.
Natural: High alternates between High – Medium and Low speeds. Medium alternates between Medium and Low speeds. Low alternates Low and off.
Sleep mode:
- Sleep mode selected on high speed: The fan will operate at high speed in Nature mode for 30 minutes, at medium speed in Nature mode for 30 minutes, and then it will
operate at low speed in Nature mode for the remaining time. - Sleep mode selected on Medium speed: The fan will operate at medium speed in Nature mode for 30 minutes, and then it will operate at low speed in Nature mode for the remaining time.
- Sleep mode: The fan will operate at low speed in Nature mode.
Remote control operations are identical to the functions on the fan control panel.
The batteries after being used should not be thrown away, they will be reclaimed.
CARE AND CLEANING
Always disconnect electrical appliances before cleaning them.
Never spray with liquids or submerge the Pedestal Fan in water or any other liquid.
YOU CAN HELP PROTECT THE ENVIRONMENT!
Please remember to respect the local regulations: hand in the non-working electrical equipment to an appropriate waste disposal center.
Warranty conditions:
The plant guarantees the normal operation of the product within 12 months from the date of the sale, provided that the consumer complies with the rules of operation and care provided by this Manual.
The service life of the product is 5 years.
In order to avoid any misunderstanding, we kindly ask you to carefully study the Owner’s Manual, and the terms of the warranty, and check the correctness of filling the Warranty Card. The Warranty Card is valid only if the following information is correctly and clearly stated: model, serial number of the product, date of sale, clear seals of the company-seller, and signature of the buyer. The model and a serial number of the product must correspond to those specified in the Warranty Card.
If these terms are violated, and if the information specified in the Warranty Card is changed, erased, or rewritten, the Warranty Card is considered invalid.
Setup and installation (assembly, connection, etc.) of the appliance are described in the attached documentation; they can be carried out both by the user and by specialists having the necessary qualification sent by USC or selling companies (on a paid basis). In this case, the person (the institution) installing the appliance shall be responsible for the
correctness and quality of installation (setup). Please pay attention to the importance of the correct installation of the appliance, both for its reliable operation and for obtaining warranty and free service. Require the installation specialist to enter all the necessary information about the installation in the Warranty Card.
In case of failure of the appliance during the warranty period by the fault of the manufacturer, the owner is entitled to free warranty repair upon presentation of the correctly filled Warranty Card together with the appliance in the factory configuration packed in the original packaging to the warranty workshop or the place of its purchase. Satisfaction of the customer’s claim due to the fault of the manufacturer shall be made in accordance with the law «On Protection of Consumers’ Rights». In the case of warranty repair, the warranty period shall be extended for the period of repair and shipment.
WARRANTY CARD
Dear Buyer! Congratulations on your purchase of the ARDESTO brand appliance, which was designed and manufactured in accordance with the highest quality standards, and we thank you for choosing this particular instrument.
We ask you to keep the coupon during the warranty period. When purchasing a product, require a full warranty card.
- Warranty service is carried out only if there is a correctly and clearly filled original warranty card, which indicates: the product model, date of sale, serial number, warranty service period, and the seller’s seal. *
- The service life of household appliances is 5 years.
- The product is intended for consumer use. When using the product in commercial activities, the seller/manufacturer does not bear warranty obligations, after-sales service is performed on a paid basis.
- Warranty repair is carried out within the period specified in the warranty card for the product in an authorized service center on the conditions and terms determined by applicable law.
- The product is withdrawn from the warranty in case of violation by the consumer of the operating rules set forth in the instruction manual.
- The product is removed from warranty service in the following cases:
• misuse and non-consumer use;
• mechanical damage;
• damage caused by the ingress of foreign objects, substances, liquids, or insects;
• damage caused by natural disasters (rain, wind, lightning, etc.), fire, domestic factors (excessive humidity, dust, aggressive environment, etc.)
• damage caused by non-compliance of power and cable network parameters with state standards and other similar factors;
• when operating equipment in the power supply network with a missing single ground loop;
• in case of violation of seals installed on the product;
• lack of a serial number of the device, or inability to identify it. - The warranty does not cover consumables and accessories, as well as filters, shelves, drawers, stands, and other containers for storing products.
- The warranty period is 12 months from the date of sale.
* Tear-off maintenance tickets are provided by an authorized service center.
The completeness of the product is checked. I have read the terms of the warranty service, no complaints.
Customer Signature ________________
Elit service :
3, Petre Kavtaradze str., Tbilisi
94, Gorgiladze str., Batumi
71, Davit Guramishvili str., Gori
73 Kostava str., Akhaltsikhe
Product Information
Product………
Model……….
Serial number………………
Seller Information
Name of trade organization………………..
Address……………
Date of sale…………….
Seller stamp…………………
Warranty coupons
| Ticket number 3 Seller stamp | date of the application Cause of damage Date of execution |
| Ticket number 2 Seller stamp | date of the application Cause of damage Date of execution |
| Ticket number 1 Seller stamp | date of the application Cause of damage Date of execution |

Ensure batteries are inserted in the correct direction.
















