MODLand HDHH3B0L3W6 Hans Rectangular Smart Touch Wall Mount Bathroom Vanity Mirror

PRODUCT LIST
CHECK PRODUCT LIST AFTER OPENING THE PACKAGE

TOOLS YOU MAY NEED

INSTALLATION INSTRUCTIONS

- Level and mark the location (vertically hanging and horizontally hanging)
Notes
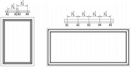
- Fix the mounting bar into the wall firstly with the distance as above drawing;
- For the mirror with ON/OFF button in the right bottom side, we have the special design to hang the mirror either vertically or horizontally;
- The distance between each 2 hanging holes is 7⅞ inch.

- Place the mounting bar against the wall and make some marks on the wall

- Drill the holes and place the suitable plastic anchors

- Screw the mounting bar onto the wall with the screw

- Connect the mirror with the main supply.
- We provide plug with mirrors.
- Optional to cut the plug directly, then connect to electrical wiring if using wall switch.
- ATTENTION: PLEASE CUT OFF THE MAIN POWER SUPPLY BEFORE WIRING!

- Hang the mirror onto the mounting bar (vertically hanging and horizontally hanging)
OPERATION INSTRUCTION
ON/OFF and CCT adjustment
- Button turns blue when connected to main supply.
- Button always on as long as connecting to main supply.
- Short-touch the button to turn on/off the mirror.
- Adjusting color temperatures (CCT) between warm white and cool white by long-touching the button for seconds.
- Finish setting by withdrawing your finger when the color reaches the one you need.
- Optional to be wired to wall switch by ON/OFF memory function.
ON/OFF and Dimmer
- Press and hold on for 3-5 seconds

- Short-touch the button to turn on/off the mirror.
- Long touching the button to adjust the brightness (Dimming).
Anti-Fog Function
- Mirror begins to be warm and defog after pressing the defogger button. Press again to quit the anti-fog function.
- Note: The defogger will stop automatically after 60 minutes of continuous operation to prevent any damage caused by prolonged high temperature.
Clock/Temperature
(This operation is specific to the clock version)

- Turn off the light to set the clock.
- Long touch button 1 or 2 for seconds, the Hour will flash, then short-touch button 1 and 2 to set Hour.
- Wait for seconds after setting up the Hour, then it will automatically switch to the Minute flash.
- Short-touch button 1and 2 to set up the Minute.
- Wait seconds after you finish the time setting, the time will be saved automatically.
- The clock shows for 5s, and shift to the temperature showing for 2s, then go back to show the clock.
Night Light

- It automatically displays the indoor temperature by auto sensing through the temperature sensor.
- DO NOT cover the temperature sensor.
- Night light will be auto-on/off according to the brightness surrounding when the rocker switch is keeping turned on.
- If need turn off the nightlight at night, please turn off the rocker switch manually.
AFTERCARE INSTRUCTIONS
- Clean using a soft dry cloth only when turned off. Never use cleaning agents or abrasive materials. Do not allow moisture to come into contact with lamp.
THANK YOU FOR YOUR SUPPORT
- We wish you have wonderful experience in our product.
- If you have any other needs or queries, please feel free to contact us by email at [email protected], and get replies within 48 business hours.
























