LG W051CS SSF Air Conditioner Owner’s Manual
Read this owner’s manual thoroughly before operating the appliance and keep it handy for reference at all times.
SAFETY INSTRUCTIONS
READ ALL INSTRUCTIONS BEFORE USE
Your safety and the safety of others are very important.
We have provided many important safety messages in this manual and on your appliance. Always read and follow all safety messages.
This is the safety alert symbol.
This symbol alerts you to potential hazards that can kill or injure you and others. All safety messages will follow the safety alert symbol and either the word WARNING or CAUTION.
These words mean:
WARNING
You may be killed or seriously injured if you do not follow instructions.
CAUTION
You may be injured or cause damage to the product if you do not follow instructions.
All safety messages will tell you what the potential hazard is, tell you how to reduce the chance of injury, and tell you what may happen if the instructions are not followed.
IMPORTANT SAFETY INSTRUCTIONS
WARNING
To reduce the risk of explosion, fire, death, electric shock, scalding or injury to persons when using this product, follow basic precautions, including the following:
INSTALLATION
- Before use, the appliance must be properly installed as described in this manual.
- Contact the authorized service technician for repair or maintenance of this unit.
- Contact the installer for installation of this unit.
- The air conditioner is not intended for use by young children or invalids without supervision.
- Keep any required ventilation openings clear of obstruction.
- Compliance with national gas regulations shall be observed.
- When the power cord is to be replaced, replacement work shall be performed by authorized personnel only using only genuine replacement parts.
- Installation work must be performed in accordance with the National Electric Code by qualified and authorized personnel only.
- Connect to a properly rated, protected, and sized power circuit to avoid electrical overload.
- Always plug into a grounded outlet.
- Do not under any circumstances, cut or remove the third (ground) prong from the power cord.
- When installing or moving the appliance, be careful not to pinch, crush, or damage the power cord.
- Plug in the power plug properly.
- Do not modify or extend the power cord.
- Do not start/stop operation by plugging/unplugging the power cord.
- Do not turn on the circuit breaker or power under condition that front grille, cabinet, control box are removed or opened. Otherwise, it may cause fire, electric shock, explosion or death.
- If the supply cord is damaged, it must be replaced by the manufacturer, its service agent or similarly qualified person in order to avoid a hazard.
- Use a dedicated circuit.
- Do not disassemble or modify the product.
- Adhere to all industry recommended safety procedures including the use of long-sleeved gloves and safety glasses.
- Disconnect the power cord or circuit breaker before installing or servicing the appliance.
- Keep packaging materials out of the reach of children. These materials can pose a suffocation risk to children.
- Store and install the product where it will not be exposed to temperatures below freezing or exposed to outdoor weather conditions.
- Do not store or use gasoline or other flammable vapors and liquids in the vicinity of this or any other appliance.
OPERATION
- Use this appliance only for its intended purpose.
- Never attempt to operate this appliance if it is damaged, malfunctioning, partially disassembled, or has missing or broken parts, including a damaged cord or plug.
- Repair or immediately replace all power cords that have become frayed or otherwise damaged. Do not use a cord that shows cracks or abrasion damage along its length or at either end.
- Do not run cord under carpets or mats where it could be stepped on and damaged.
- Keep the cord out from under heavy objects like tables or chairs.
- Do not place the power cord near a heat source.
- Do not use an adaptor or plug the product into a shared outlet.
- Do not tamper with controls.
- If you detect a strange sound, a chemical or burning smell, or smoke coming from the appliance, unplug it immediately, and contact the LG Electronics Customer Information Center.
- Never unplug the appliance by pulling on the power cord. Always grip the plug firmly and pull straight out from the outlet.
- Do not grasp the power cord or touch the appliance controls with wet hands.
- If water enters the product, turn off the power at the main circuit, then unplug the product and call for service.
- If the product has been submerged, contact the LG Electronics Customer Information Center for instructions before resuming use.
- Unplug the product when unused for long periods.
- Unplug the product before cleaning.
- In the event of a gas leak (propane gas, etc.) do not operate this or any other appliance. Open a window or door to ventilate the area immediately.
- This appliance is not intended for use by persons (including children) with reduced physical, sensory or mental capabilities, or lack of experience and knowledge, unless they have been given supervision or instruction concerning the use of the appliance by a person responsible for their safety. Children should be supervised to ensure that they do not play with the appliance.
- The interior of the product must only be cleaned by an authorized service center or a dealer.
- Do not use solvent-based detergent on the product. Doing so can cause corrosion or damage, product failure, electrical shock, or fire.
GROUNDING INSTRUCTIONS
- The power cord of this appliance is equipped with a three-prong (grounding) plug. Use this with a standard three-slot (grounding) wall power outlet to minimize the hazard of electric shock. The customer should have the wall receptacle and circuit checked by a qualified electrician to make sure the receptacle is properly grounded. DO NOT CUT OR REMOVE THE THIRD (GROUND) PRONG FROM THE POWER PLUG.
- Situations when the appliance will be disconnected occasionally; Because of potential safety hazards, we strongly discourage the use of an adapter plug.
- Attaching the adapter ground terminal to the wall receptacle cover screw does not ground the appliance unless the cover screw is metal, and not insulated, and the wall receptacle is grounded through the house wiring. The customer should have the circuit checked by a qualified electrician to make sure the receptacle is properly grounded.
- Disconnect the power cord from the adapter, using one hand on each. Otherwise, the adapter ground terminal might break. Do not use the appliance with a broken adapter plug.
- Situations when the appliance will be disconnected often; Do not use an adapter plug in these situations. Unplugging the power cord frequently can lead to an eventual breakage of the ground terminal. The wall power outlet should be replaced by a three-slot (grounding) outlet instead.
CAUTION
To reduce the risk of minor or moderate injury to persons, malfunction, or damage to the product or property when using this product, follow basic precautions, including the following:
INSTALLATION
- Take care when installing the product that exhaust or condensation does not damage nearby property.
- Follow installation instructions exactly to avoid excessive vibration or water leakage.
- Do not install the appliance in an area where it is directly exposed to sea air (salt spray).
- Saline conditions are a cause of corrosion. (Particularly, corrosion of the condenser and evaporator can damage the appliance or impair its performance.)
- Set up windbreak in front of the outdoor unit if installing it in coastal areas.
- Avoid direct exposure to salt winds.
- Install a firm and stiff concrete-wind shield that can withstand salt winds.
- Wear gloves and use caution when unpacking and installing the appliance. Screws or sharp edges can cause injuries.
OPERATION
- This appliance is not intended for use as a precision refrigeration system. Do not use it for special purposes such as maintaining pets, food, precision machinery, or art objects.
- When installing or moving the appliance, be careful not to pinch, crush, or damage the power cord.
- Make sure the air inlet and outlet are free from obstructions.
- Use a soft cloth to clean the appliance. Do not use waxes, thinners, or harsh detergents.
- Do not step on or place heavy objects on top of the appliance.
- Do not operate the appliance without the filter securely installed.
- Do not drink water drained from the appliance.
- Be sure to ventilate sufficiently when the air conditioner and a heating appliance such as a heater are used simultaneously.
- Being exposed to direct airflow for an extended period of time could be hazardous to your health.
- Remove the batteries if the remote control is not to be used for an extended period of time.
- Never mix different types of batteries, or old and new batteries for the remote control.
- Stop using the remote control if there is a fluid leak in the battery. If your clothes or skin are exposed to the leaking battery fluid, wash off with clean water.
- If the leaking battery fluid has been swallowed, rinse the inside of the mouth thoroughly and consult a doctor.
- Do not recharge or disassemble the batteries.
MAINTENANCE
- Clean the filter every two weeks.
- Never touch the metal parts of the air conditioner when removing the air filter.
- Never use strong cleaning agents or solvents when cleaning the air conditioner or spray water. Use a smooth cloth.
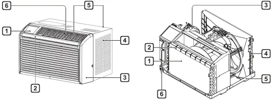
PRODUCT OVERVIEW

Exterior Parts
- Control Panel
- Air Filter
- Front Grille
- Cabinet
- Air Outlet
- Horizontal Air Deflector (Vertical Louver)
Interior Parts
- Evaporator
- Air Guide
- Compressor
- Condenser
- Base Pan
- Power Cord
INSTALLATION
Circuit Breaker Installation
Read thoroughly and follow all directions provided.
A circuit breaker must be installed between the power source and the unit if the plug is not used (see illustration below).
NOTE: Use 15 A circuit breaker.
Installation Overview

Tools Needed
- Phillips-head screwdriver

- Flat-blade screwdriver

- Pencil

- Level

- Tape measure

- Cutting knife

- Scissors

How to Install the Unit
- Measure the space for installation to assure a good fit. The air conditioner must be installed firmly into place to prevent vibration and noise.
- Avoid exposure to direct sunlight.
- Remove all obstacles from the rear of the unit. There must be at least 50 cm (20 in.) of cleared space around the rear of the unit. Obstacles restricting the airflow may reduce the cooling efficiency of the unit.
- The unit should be installed with a slight tilt towards the outside to allow condensed water to drain. (About 10~15 mm or 1/4 bubble with Level).

CAUTION The external grille must be exposed outside for air discharge.
Drain Pipe
In humid weather, excess water may cause the base pan to overflow. To drain the water, remove the drain cap and secure the drain pipe to the rear hole of the base pan.
Press the drain pipe into the hole by pushing down and away from the fins to avoid injury.
CAUTION
Be careful when inserting the drain pipe. Push away from the sharp fin area to avoid slipping injuring yourself.
Space for Outside Air Flow

Unit Installation
CAUTION
The power cord must be connected to an independent circuit. The green wire must be grounded.
Stuff the foam between the top of the unit and the wall to prevent air and insects from getting into the room.
OPERATION
Control Panel
NOTE: The feature may be changed according to the type of model.
- Power
Turns the air conditioner on or off. - Fan Speed
Use to set the fan speed to LOW or HI. - Mode/Temp Control Knob
Use to set the air conditioner to the Fan Only (VENT.) or the Cool (FRIO) mode.
Fan Only (VENT.) – Use Fan Only (VENT.) at HI or LOW Fan Speed (Velocidad) to provide air circlulation and filtering without cooling.
Cool (FRIO) – Use Cool (FRIO) with HI or LOW Fan Speed (Velocidad) for cooling. Turn the knob toward the Cooler (Max.) area for the indoor air to become cooler. Turn the knob toward the Cool (FRIO) area for the indoor air to to become warmer. The Mode/Temp control is used to maintain the room temperature. When set in the Cool (FRIO) mode, the compressor will cycle on and off to keep the room at the same level of comfort.
NOTE
If you move the Mode/Temp control knob from the Cool (FRIO) setting to the Fan Only (VENT.) setting, wait at least 3 minutes before swiching back to a Cool (FRIO) setting.
Air Direction
Air Direction
Adjusting the air direction using the horizontal air deflector control.
Using the control tabs, the air flow can be directed to the left, right, straight ahead, or any combination of these directions.
Slinger Fan
This air conditioner is equipped with a slinger fan. (See drawing.)
The fan’s outer ring picks up the condensed water from the base pan if the water level gets high enough. The water is then picked up by the fan and expelled through the condenser, making the air conditioner more efficient.
MAINTENANCE
WARNING: Before cleaning or performing maintenance, disconnect the power supply and wait until the fan stops.
Air Filter
Check the air filter at least twice a month to see if cleaning is necessary. Trapped particles in the filter can build up and block the airflow, reducing cooling capacity and causing an accumulation of frost on the evaporator.
Cleaning the Air Filter
- Remove the air filter from the front grille by pulling the filter forward and then up slightly.

- Wash the filter using lukewarm water below 40 °C (104 °F).

- Gently shake the excess water from the filter.
- Dry the filter in the shade.
- Insert the filter into the Front grille.
Cleaning the Air Conditioner
- Wipe the front grille and inlet grille with a cloth dampened in a mild detergent solution.
- Wash the cabinet with mild soap or detergent and lukewarm water, then polish using liquid appliance wax.

NOTE
- To ensure continued peak efficiency, the condenser coils (outside of unit) should be checked periodically and cleaned if clogged with soot or dirt from outside air.
- For repair and maintenance, contact a LG Electronics Customer Information Center. See the warranty card for details or call 55-5321-1919. Have your model number and serial number available.
TROUBLESHOOTING
Before Calling for Service
The appliance is equipped with an automatic error-monitoring system to detect and diagnose problems at an early stage. If the appliance does not function properly or does not function at all, check the following before you call for service.
Normal Sounds You May Hear
- High Pitched Chatter
Today’s high efficiency compressors may have a high pitched chatter during the cooling cycle. - Sound of Rushing Air
At the front of the unit, you may hear the sound of rushing air being moved by the fan. - Gurgle/Hiss
Gurgling or hissing noise may be heard due to refrigerant passing through evaporator during normal operation. - Vibration
Unit may vibrate and make noise because of poor wall or window construction or incorrect installation. - Pinging or Swishing
Droplets of water hitting condenser during normal operation may cause pinging or swishing sounds.
Problem | Possible Causes & Corrective Action |
| Air conditioner does not start. | The air conditioner is unplugged. Make sure the air conditioner plug is pushed completely into the outlet. |
| The fuse is blown/circuit breaker is tripped. Check the house fuse/circuit breaker box and replace the fuse or reset the breaker. | |
| Power failure. If power failure occurs, turn the mode control to off. When power is restored, wait 3 minutes to restart the air conditioner to prevent tripping of the compressor overload. | |
| Air conditioner does not cool as it should. | Airflow is restricted. Make sure there are no curtains, blinds, or furniture blocking the front of the air conditioner. |
| The temp control may not be set correctly. Set the desired temperature to a level lower than the current temperature. | |
| The air filter is dirty. Clean the filter at least every 2 weeks. See the ‘MAINTENANCE (Cleaning the Air Filter)’ section. | |
| The room may have been hot. When the air conditioner is first turned on, you need to allow time for the room to cool down. | |
| Cold air is escaping. Check for open fumace floor registers and cold air returns. | |
| Cooling coils have iced up. See ‘Air conditioner freezing up’ below. | |
| Air conditioner freezing up. | The cooling coils are iced over. Ice may block the air flow and obstruct the air conditioner from properly cooling the room. Set the Fan Speed High at Fan or Cool mode. |
| Water drips outside. | Hot, humid weather. This is normal. |
| Water drips Indoors. | The air conditioner is not tilted to the outside. For proper water disposal, make sure the air conditioner slants slightly from the cabinet front to the rear. |
| Water collects in base pan. | Moisture removed from air and drains into base pan.
|
| Air conditioner turns on and off rapidly. | Dirty air filter – air restricted.
|
Outside temperature extremely hot.
| |
| Noise when unit is cooling. | Air movement sound.
|
Window vibration – poor installation.
| |
| Room too cold. | Set temperature too low.
|
Model | Voltage | Frequency | Cooling | Heating | ||
| Power | Current | Power | Current | |||
| W051CS SSF | 115 V~ | 60 Hz | Nor. 450 W Max. 710 W | Nor. 4.2 A Max. 6.4 A | – | – |
Customer Support
LG ELECTRONICS MEXICO,S.A. DE C.V.
Sor Juana Inés de la Cruz No. 555
Col. San Lorenzo Industrial
Tlalnepantla de Baz, Estado de México C.P. 54033
Tel. 55-5321-1919
Página web http://www.lg.com.mx































