Clean Air Wood Heaters Owners Manual
FIRST THINGS FIRST…
Congratulations on your purchase of a quality Clean Air woo heater. This product is designed according to strict environmental, quality and safety standard sand should give you year soft rouble free home heating.
Read these instructions carefully to get the most out of your heater and to ensure safe and satisfactory heater performance. In particular, we would like to draw your attention to these warnings.
Be careful of what you burn:
* Use only dry, well seasoned hardwood.
* Do not use coal or briquettes.
* WARNING: DO NOT USE FLAMMABLE LIQUIDS OR AEROSOLS TO START OR REKINDLE THE FIRE.
* Do not burn garbage in the firebox as garbage can cause a dangerous soot build up and increase the amount of smoke your heater produces.
* WARNING: DO NOT BURN WOOD THAT IS PAINTED; OR COATED WITH PLASTIC; OR HAS BEEN TREATED WITH ANY CHEMICAL.
* CAUTION: THE USE OF SOME TYPES OF PRESERVATIVE-TREATED WOOD AS FUEL CAN BE HAZARDOUS.
* Do not place any types of builders board eg fibro, cement sheeting (or any other materials not specified and tested by the manufacturer)inside the fire box.
Protect yourself and your family from burns:
* WARNING: OPEN AIR CONTROL BEFORE OPENING FIRING DOOR.
* The exterior surfaces of the heater will become hot during operation. For protection of children,the elderly or infirm, provide a fire screen to prevent contact with the appliance in operation.
* To protect against injury from burns, use caution when operating the appliance. In particular, when loading the fire box, provide adequate protection for your hands.
* IMPORTANT: We recommend you wear gloves to open the door and when reloading or adjusting the coals in the firebox.
Use your heater according to these instructions:
* CAUTION: THIS APPLIANCE SHOULD BE MAINTAINED AND OPERATED AT ALL TIMES IN ACCORDANCE WITH THESE INSTRUCTIONS.
* DO NOT BURN WITH DOOR OPEN.
* CAUTION: THIS APPLIANCE SHOULD NOT BE OPERATED WITH CRACKED GLASS.
* Do not throw logs in to the fire box. Always place logs care fully.
* Do not over fire (allow fire box to glow red continuously) as this could damage your firebox.
* WARNING: ANY MODIFICATION OF THE APPLIANCE THAT HAS NOT BEEN APPROVED IN WRITING BY THE TESTING AUTHORITY IS CONSIDERED AS NOT CONFORMING TO AS/NZS 4013.
* The appliance or flue system should not be modified in any way without the written approval of the manufacturer.
The heater can get very hot, so watch obvious fire hazards:
* Do not place clothing or other combustible materials on top of the heater.
* WARNING: DO NOT USE FLAMMABLE LIQUIDS OR AEROSOLS OR PLACE THESE IN THE VICINITY OF THIS APPLIANCE WHEN IT IS OPERATING.
* WARNING: DO NOT STORE FUEL WITHIN HEATER INSTALLATION CLEARANCES.
* Do not store flammable liquids near the heater.
Exclusion of Liability
Whilst every care has been taken in formulating these instructions ,no responsibility whatsoever will attach to and/or claim lie against, the manufacturer and/or the distributor of the heater as a result of any failure to follow the whole or any part of the instructions and/or as a result of incorrect information herein and/or any omission here from.
ASSEMBLING YOUR NEW CONSOLE
Baffle Plate
The baffle plate for your Clean Air heater consists of a steel frame and a Skamolex baffle. To place the baffle into the heater,first place the Skamolex baffle into the steel frame then position into the firebox.
You may need to angle the baffle up on one side to get it through the door. You should then lift the baffle over one bracket, push it up to the top of the firebox,and then lift it over the other bracket.
Lifting Handles
The lifting handles must be used when moving the Clear Air heater. They can be found inside the firebox. The handles slide into tubes found underneath the heater on the left and right sides of the firebox. They are located behind the side panels. The side panels do not need to be removed when inserting the handles.Please refer to the diagram below.
Opening The Door
There movable handle can be used to open the door as well as adjust the air slide. Remove the handle when not in use as it will get hot to touch. When not in use the handle can be placed in the compartment located on the right hand side of the heater (consoles only)

Operating The Air Control
There movable handle can be used adjust the air slide as well as opening the door. You can control whether your heater burns on high or low via the air control lever found on the front. The high and low positions are clearly marked on all models on top of the door.
For low burns-This setting is for low burning, or for extended burn times.
For medium burns- This is the optimal setting for normal use. For high burns-Use this setting for starting the fire and for at least 20 minutes after loading and reloading.
ASSEMBLING YOUR NEW CONSOLE
Fan Cord
The Fan Cord is assembled on the right hand side as you are looking at the heater. If the power point is on the opposite side of the heater the chord can be relocated to the left hand side by removing the inner panel cover from the heater leg and rerouting it to the left hand side.
SKAMOLEX™ Lining and Baffle This heater is fitted with state-of-the-art SKAMOLEX™ lining making it cleaner burning and more efficient.
The SKAMOLEX™ lining and baffle MUST be installed prior to operating the appliance. Refer to the following diagrams to ensure that they are installed correctly. The SKAMOLEX™ may develop cracks.this is not a problem, but if they begin to disintegrate, they should be replaced. There is no need to remove the SKAMOLEX™ during cleaning of the firebox.
CACS19MB (Small)
8 BRICKS
A-235 x 220 mm
B-225 x 275 mm
C-190 x 275 mm
D-162 x 74 mm
FIRE BOX LINING
CACM19MB (Medium)
8 BRICKS
A – 255 x 270 mm
B – 250 x 315 mm
C – 325 x 190 mm
D- 202 x 74 mm
CACL19MB (Large)
8 BRICKS
A – 310 x 320 mm
B – 300 x 355 mm
C – 230 x 375 mm
D – 202 x 99 mm
INSTALLATION -GENERAL NOTES
Before Commencing
Before commencing the installation of your wood heater, you should note the following precautions:
* WARNING: THE APPLIANCE AND FLUE SYSTEM SHALL BE INSTALLED IN ACCORDANCE WITH AS/NZS2918 AND THE APPROPRIATE REQUIREMENTS OF THE RELEVANT BUILDING CODE OR CODES.
* WARNING: APPLIANCES INSTALLED IN ACCORDANCE WITH AS/NZS 2918 SHOULD CONFORM TO THE REQUIREMENTS OF AS/NZS 4013 AND 4012 WHERE REQUIRED BY THE REGULATORY AUTHORITY, THIS IS. THE APPLIANCE SHOULD BE IDENTIFIABLE BY A CONFORMANCE PLATE WITH THE MARKING ‘TESTED TOAS/NZS 4013 AND AS/NZS 4012’ AS SPECIFIED IN AS/NZS 4012.
* WARNING: ANY MODIFICATION OF THE APPLIANCE THAT HAS NOT BEEN APPROVED IN WRITING BY THE TESTING AUTHORITY IS CONSIDERED TO BE IN BREACH OF THE APPROVAL GRANTED FOR CONFORMANCE WITH AS/NZS4013.
* CAUTION: CRACKED AND BROKEN COMPONENTS, e.g. GLASS PANELS OR CERAMIC TILES, MAY RENDER THE INSTALLATION UNSAFE.
* It is strongly recommended that a certified/qualified installer perform the installation.
* You may need to get council approval prior to installation.
* You should also check with your insurer for any requirements they may have.
Flue Installation
For detailed instructions regarding flue installation, please refer to the instructions that come with your flue kit.
The correct flue system is critical to the performance of your wood heater. It must either be tested with the heater or be a default flue kit. We recommend you use a Maxiheat Default Flue Kit.
The flue must be sealed where it enters the heater at the flue spigot.
CAUTION: MIXING OF APPLIANCE OR FLUE-SYSTEM COMPONENTS FROM DIFFERENT SOURCES OR MODIFYING THE DIMENSIONAL SPECIFICATION OF COMPONENTS MAY RESULT IN HAZARDOUS CONDITIONS. WHERE SUCH ACTION IS CONSIDERED,THE MANUFACTURER SHOULD BE CONSULTED IN THE FIRST INSTANCE.
Flue Height Requirements
Your flue must extend the required height
above your roof to promote sufficient draught.
If the flue is not high enough, the heater will not “draw” properly causing smoke to spill back into the room.
The following conditions should be observed:
* The minimum height of the active flue must be 4.6m in length measured from the top of the hearth to the flue termination point.
* If the flue terminates within 3 m from the highest point of the roof, then the flue must be a minimum of 0.6 m above the highest point.
* If the flue terminates further than 3 m from the highest point of the roof, then the flue must be a minimum of 1 m above roof penetration.
The installer must ensure that the heater and flue are correctly and safely installed in accordance with AS/NZS2918.
There are other variables that can affect draught (eg trees or tall buildings nearby).If you have the correct flue height and still have problems,consult your dealer.
INSTALLATION – FREE STANDING HEATERS ONLY
Location
Select a location for your wood heater with great care.
* Do not place your heater in are as of high traffic,near furniture or draperies.
* Check that the intended location will not interfere with ceiling joists,rafters,valleys and ridges.
Hearth (Floor Protector) Requirements If your wood heater is to be installed on carpet, timber or any other combustible material, you must place a hearth(also known as a floor protector) underneath the heater. Please observe the following:
* It is not recommended that you make your own hearth
* The heart hand heater assembly must be placed on a firm and level surface.
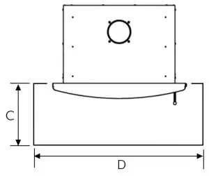
Hearth Clearances
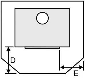
It is necessary to ensure that the heater is positioned on the hearth so that the following requirements are observed.
The front of the hearth should extend past the heater door by the distance specified as D. The side of the hearth should extend past the heater door by the distance specified as E on each side. The minimum width of the hearth is specified below as F.
Heater Clearances
It is vital that the heater be installed the proper distance from combustible surfaces like wood, gyprock and curtains.
The diagrams show both parallel and corner installations.
Failure to maintain these minimum distances may result in a fire for which your insurer may refuse to cover.
Reduced Clearances
These clearances can be reduced with proper heat shielding. Basically a noncombustible surface is placed between the heater and the combustible wall. It is vital that an unobstructed air flow be maintained between the two surfaces to remove excess heat. See AS/NZS2918 for details.
Parallel Installation Corner Installation Hearth Clearances

Model
CACS19MB (Small)
Maxiheat Decromesh Default Flue Kit with inner shield**
Maxiheat Non-preforated Flue Kit with inner shield**
CACM19MB (Medium)
Maxiheat Decromesh Default Flue Kit with inner & outer shields*
Maxiheat Non-preforated Flue Kit with inner &outer shields*
CACL19MB (Large)
Maxiheat Decromesh Default Flue Kit with inner & outer shields*
Maxiheat Non-preforated Flue Kit with inner & outer shields*
A B C D E
All dimensions are in millimetres
100 450 100 300 200
100 450 100 300 200
150 550 200 300 200
150 550 200 300 200
250 650 225 300 200
250 650 225 300 200
*Inner (MXRSISS2) and Outer (MXRSOB2) shields are required
**Inner (MXRSISS2) shieldis required
NOTE:
Lower Casing location ring 2 must have 4,500mm of venting
INSTALLATION – INSERT HEATERS ONLY
WARNING: This appliance and flue MUST be installed in a full masonry fireplace, and must be installed by a qualified wood heater installer according to the latest version of AS2918.
FIREPLACE CONSTRUCTION
This wood heater must be installed in a full masonry fireplace, which has been carefully inspected for cracks or deterioration. The chimney should be cleaned prior to installation.
You must install a flue the entire length of the chimney. This will help your heater perform to its full capabilities. It is also easier to clean.
CLEARANCES TO COMBUSTIBLES
The table and diagram below shows the minimum clearances (in millimetres) to combustible materials.
Clearance ‘A’ is from the top of the hearth to the underside of the combustible mantlepiece. Clearance ‘B’ is between the combustible surround columns.
REDUCED CLEARANCES
The ‘Clearances to Combustibles’ can be reduced with proper heat shielding, which must be installed in accordance with AS/NZS 2918.
HEARTH CONSTRUCTION
Do not build the hearth over the front of the heater as this will prevent access to the fan through the front bottom air inlet cover.
The hearth shall consist of no less than 30 mm thick compressed fibre cement sheet with a 15 mm air gap underneath. The cement sheet shall have a thermal conductivity not greater than 0.33 W/m°K. The air gap must provide a minimum of 3,750 mm² on each side (eg. two slots of 125 mm x 15 mm ventilation on either side).
A B C D
Small insert: 1150 850 Small insert: 500 921
Medium insert: 1200 900 Medium insert: 550 971
Large insert: 1250 1000 Large insert: 600 1071
All dimensions are in millimetres All dimensions are in millimetres

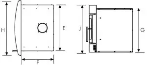
Dimensions: E F G H J
firebox width firebox depth firebox
height facia width facia height
All dimensions are in millimetres
Small insert: 608 447 546 750 596
Medium insert: 658 487 596 800 646
Large insert: 758 527 646 900 696

WOOD SELECTION
Few things affect the performance of your heater as much as the fuel you burn Take note of the following:
What Not To Burn
* Softwood(except kindling)
* Wet or unseasoned wood
* Treated or painted timber
* Salt water wood
* Coal or charcoal
* Garbage,plastic etc
* Any solvents, kerosene, petrol or any
flammable liquid.
What To Burn
Quite simply, dry seasoned hardwood.
From when wood is first cut down, it takes up to 12 months of dry storage for the wood to season properly. The seasoning process is underway when cracks begin to appear at the ends of cut timber.
Use of moist or unseasoned wood will result in excessive smoke, longer startup times, a lazy flame that requires more air to stay alight, creosote build up in the flue and on the door glass, and a much less powerful fire. The reason is simple. Heat that would normally be going into the room is wasted boiling water that is trapped inside the wood. This poor performance costs you money in wasted fuel and increased maintenance.
It is difficult to determine if wood is dry just by looking at it. If you can hear the wood sizzle and hiss, or can see moisture bubbling from the wood surface, then your wood is too wet. In practice,the best thing you can do is to be sure of the source. Buy your wood from reputable wood merchants. Make sure you store the wood correctly
Wood Storage
It is important that wood be stored undercover. Even wood that is year sold will absorb large quantities of moisture if exposed to the elements.
It is advisable that wood is stacked to allow some air flow in and around the logs. This will help keep the wood dry.
Wood Splitting
It is best to have on hand a good range of wood sizes to help control the fire. The rule of thumb is: the hotter the fire, the bigger the log you can put in.
* You need very small pieces of kindling to get the fire started efficiently.
* Small pieces up to about 50mm thick are good when the fire is still being established, or when you want to revive a fire that has burnt low.
* Larger logs are excellent for long burns once the fire is well established.
USING YOUR HEATER
Before using your wood heater ,study this entire section carefully. It will assist you in achieving maximum efficiency and enjoyment.
Curing the Paint
Various parts of your heater have been coated with high quality paints to protect them and to give them an attractive finish. You will need to “break-in”your heater to harden or cure these coatings.
While curing, be careful not to touch the painted surfaces as the paint will be quite soft.
The basic rule is: cure slowly, over about three burns, without a hot fire. During the curing process it is normal for some smoke and smell to be given off from the surface of the heater. Each time, some windows should be opened to allow the paint odours to escape. Using a fan also helps disperse the odours. For this reason it is best done during the day.
1. The first fire should be kindling only and should last for about 20 minutes. Leave the door slightly ajar to stop the door rope from sticking.
2. Once the heater has cooled down ,repeat the process.
3. The third fire should be a normal fire of at least 45 minutes.
By this time, your heater should be cured. In colder conditions, or if the heater uses a fan, it may takes lightly longer. The house should be ventilated until all odours are gone.
Operating The Air Control
You can control whether your heater burns on high or low with the air control lever. The high and low positions are clearly marked (on top of the door frame) on all models.
For low burns- Use this setting for low burning, or for extended burn times.
For medium burns- This is the optimal setting for normal use.
For high burns- Use this setting for starting the fire and for at least 20 minutes after loading and reloading.
Lighting The Fire
Wood burns most efficiently when placed in a very hot fire. These procedures are designed to bring your fire box to the right temperature as quickly as possible.
Put the air control on high.
Place a large amount of kindling in a crisscross pattern over a firelighter. Make sure plenty of air can get into the stack and around each piece of kindling.
Add a few small pieces of wood on top.The fire box should be about half full of fuel.
Ignite the fire lighter.
Leave the door slightly ajar for the first few minutes to allow extra air to hasten the build up of flame. Do not leave the heater unattended while the door is ajar.
Continue to add small pieces of wood until a bed of hot glowing coals is established.
Place two or three thoroughly dry split logs (about 80-100mm diameter) on the well established fire. Logs will burn better if they are placed with their ends near the glass, ie front to back.
Leave the air control on high for about 20 minutes. After this time ,the fire box should be hot enough for normal operation, so you can turn down to medium or low.
Adding fresh wood cools the fire down, so when you need to replenish the fuel, turn the air control to high for about 20 minutes to bring the fire box temperatures back up to normal
Always leave the air control on high for at least 20 minutes after reloading. It is best to turn the fan off during this 20 minute period.
A Few Hints
Wood should be stacked front to back- with the ends facing the door-and with space between them for air to flow around.
The door should remain closed at all times except when first establishing the fire and when loading.
There are many factors that can affect the way your heater burns, including flue height,wood type, shape, amount, the way it is stacked, wind conditions and out side air temperatures to name a few. You will find that before long you will get to know how your heater works best for you.
Over night Burns
Large unsplit logs are the best fuel to use.Make sure you have a good strong bed of glowing coals and the heater is hot before loading the logs.
Place a load of wood on the strong base fire and coals, shut the door and leave on high for about 20 minutes or until the logs are charred allover.
Turn down to low.
Restarting After an Overnight Burn
Adjust air control to high.
Rake the hot coals.
Place some kindling and small logs on the coals.
Once the fire is established, start putting on larger logs.
Removing Ashes
When the ashes are level with the firebox opening, it’s time for a clean out. This should only be done when the fire box has completely cooled. Removing hot ashes is hazardous.
Push chunks of charred wood to one side. These will burn in the next fire, so it would be a shame to waste them. Using a metal scoop, remove excess ash and place in a metal container.
You should leave a small amount of ash in the
firebox to provide an insulating base for the
next fire. Rake them over so they form a flat
bed.
When disposing of the ashes, keep them in a
metal or other non-combustible container with
a tight fitting lid. Move them outdoors
immediately to an area clear of combustible
materials. Do not place them in plastic
receptacles.
Heater Fans
Your Clean Air heater comes with a factory fitted fan can be used to help spread the heated air around your house quicker .It does not have to be on if not required as the heater is design to have natural convection. Plug the power cord from the rear of the heater in to a power- point. This must be switched on for the fan to run. A remote control that is supplied with the heater is used to turn the fan on and determine the speed (Low, High, Boost).
THE FAN SHOULD NOT BE USED WHEN THE AIR SLIDE SETTING IS ON LOW OR OVERNIGHT SETTING. THE FAN SHOULD NOT BE USED UNTIL AFTER THE FIRE HAS BEEN BURNING FOR AT LEAST 20 MINUTES.
CARE AND MAINTENANCE
Your heater has been designed as a heavy duty appliance capable of withstanding normal operating conditions.
Care
The fire box liners where fitted must be treated with care. Avoid throwing logs into the firebox as this may fracture the liners.
Cleaning
Painted surfaces: to clean painted surfaces, wipe over with a soft, damp cloth. Do not use harsh solvents and cleaning agents as these can damage the coating. Buff dry with a soft, dry cloth.
If your heater is installed in a coastal environment, where salt air will come in contact with the heater, this cleaning process should be performed weekly to avoid the salt causing deterioration of the paint and subsequently rust.
Door glass: sometimes black deposits will build up on the inside of the door glass.To remove this buildup, rub gently with a plastic scourer pad moistened with water and detergent. Then use the damp and dry cloths as before. Hot glass cleaner is also available from your heater retailer.
Routine Maintenance Schedule
At beginning of the season.
* Inspect and clean the flue system, If required. To do this, remove the baffle plate and flue cowl, clean out with a flue brush.
* Check the painted surfaces. If there is any wear, for instance from cleaning or abrasion, touch up paint is available from your dealer.
At end of season
* Inspect the door glass for any cracks and replace if necessary.
* Inspect door rope and seal sand replace if necessary.
* Inspect fire box for wear.
* Inspect firebox liners where fitted and replace if broken.
* Check that the air slide moves smoothly. If it is sticky, lubricate it with high temperature grease available from your local hardware store.
* Inspect fan for dirt build up and remove dust if necessary. Excess dirt build up can damage fan, which may void the warranty. Fan can be accessed by removing the front panel on the heater column.
Creosote Build Up
When the heater is continually burnt with lower than normal fire temperatures, eg due to unseasoned wood, higher than acceptable amounts of smoke are produced which condense on the inside of the flue. This builds up as a black,tar- like deposit called creosote. A thin layer of creosote inside the flue is normal and will not cause a problem. Once there is a layer more than 3mm thick, problems can occur.
1. If the layer is thick enough, it restricts the flue and can cause insufficient draw and even smoke spillage back into the house.
2. More seriously, creosote is combustible, and can ignite. A flue fire is easy to detect, involving a roaring sound, a vibration of the flue, and sometimes flames and sparks shoot out of the top of the flue.
To avoid creosote build up and the fires that may result, burn seasoned wood with the air control set to medium or high for most of the time.
To remove creosote when it does build up, remove the baffle plate and flue cowl, and use a flue brush to clean the flue system. To remove the baffle plate, slide the plate upon one side and then down around the brackets on the other.
In case of a flue fire, do not panic. Your flue system has been constructed to withstand high temperatures. Immediately close the air control down to its lowest setting. Do not open the door. Once the fire has extinguished, you should have your flues system inspected by a qualified service person.
CARING FOR THE ENVIRONMENT
Caring for our planet means reducing pollution and managing our resources intelligently. Every resource we use today we are borrowing from our future generations.
The key to successfully meeting our future energy requirements lies in our ability to manage existing resources wisely. Unlike fossil fuels such as oil, coal and gas, wood can be managed on a sustainable basis.
This is why wood is one of the wisest, most cost effective and environmentally efficient forms of home heating available today.
You can make a further positive contribution to the environment by following these important steps:-
Operating Your Heater
* Always burn good, dry hard wood. This will yield the greatest amount of heat for the least amount of fuel.
* Never burn green or unseasoned wood,or wood that is wet.This will waste energy, cause excessive smoke and reduce the performance of your wood heater.
* Do not allow your wood to smoulder.Your fire should always burn brightly and cleanly. Check the flue occasionally to see if there is any excessive smoke.
Other Things You Can Do
* Ensure your home is adequately insulated. This will reduce your energy requirements, and lessen your fuel bills, or the need to gather fuel. This in turn reduces pollution.
* Do not over heat your home! If you feel hot even when wearing light clothing, then you are wasting energy.
* Install ceiling fans in the main rooms.These are an excellent investment in year round comfort. Because hot air rises, ceiling fans push this hot air back closer to ground level to keep you warmer.
Landcare
A portion of the sale of your heater is donated directly to Land care by the Australian Home Heating Association.
Landcare is one of the most proactive community based environmental groups in Australia today. Almost 5000 Landcare groups have sprouted across Australia and like the millions of trees Landcare has planted, they’re still growing. One of three farmers is a member of Landcare.
These groups get involved in activities like tree planting and revegetation, weed removal, fencing, feral animal control, water quality monitoring,nature surveys,river bank repair, and sustainable agricultural techniques.
Landcare groups are usually formed because there is a problem. Locals notice changes in their environment and decide to do something about it. Landcare groups can grow out of neighbouring farms, or neighbours in the city that share a local park. Landcare groups are working on all imaginable ecosystems in Australia, from dry and dusty central Australia, to tropical rain forests of Queens land and the mountains in Tasmania.
WOOD HEATING IS GOOD HEATING
NEEDACCESSORIES?
Your Clean Air dealer also sells a range of attractive, good value accessories for your heater like mesh guards, toolsets and wood baskets.
Also, you can ask about maintenance products, firelighters, touch up paint, flue cleaning products and more
Clean Air Wood Heaters Owners Manual – Optimized PDF
Clean Air Wood Heaters Owners Manual – Original PDF



















