HALCYON LED441 W 46 LED Batten Light Instruction Manual
INSTALLATION INSTRUCTIONS
Product Name: LED Batten Light
Model #: LED440 W46, LED441 W46D, LED442 W46D
Description: 20 Watt LED, Non-dimmable, IP20, 4000K / 6000K 40 Watt LED, Dimmable, IP20, 4000K / 6000K 44 Watt LED, Dimmable, IP20, 4000K / 6000K
Lumens: LED440 350mA / 20W / 2200Im LED441 700mA / 40W / 4850Im LED442 1050mA / 44W / 5400Im
Rated Voltage: 220-240V–, 50/60Hz
Factory default setting 4000K
- Switch off power.

- Remove caps, unscrew diffuser and remove.

- Fasten chassis to surface.

- Re-connect driver connection and wire terminal block as indicated.

- Fasten diffuser to chassis.

- Replace caps.

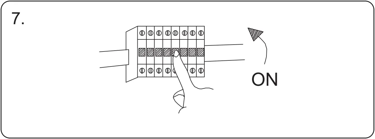
- Switch luminaire on to test luminaire functions correctly and is electrically safe.

Installation note:
Do not install on the same circuits as Metal halide, Fluorescent and other “Low power factor” devices.
When installed on the same circuit it can cause flickering and/or premature failure of the “high power factor” electronic drivers. The harmonic distortion from low power factor devices alters the Waveform of the AC supply which can cause componentry in high power factor electronic drivers to resonate, run over temperature and fail after prolonged exposure.


























