
Alpine Style Solution for Audi A4, A5, Q5

Getting Started
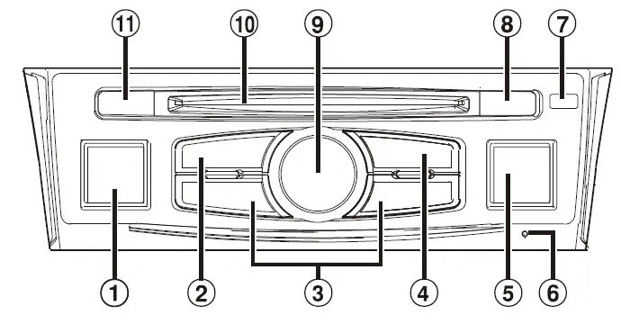
Location of Controls

(AUDIO)/(Favorite) button: Displays the Audio/Visual screen. If the Audio/Visual screen is already displayed, changes the source. Press and hold for at least 2 seconds to recall the Favourite screen.
VOICE button: Depending on the connected smartphone, press to recall Siri function or voice recognition mode.
Button: Press to seek up/down a station in radio mode or up/ down a track, chapter, etc., in other audio/visual sources.
MENU/ (Power Off) button: Recalls the Menu screen. Press and hold this button for at least 5 seconds to turn the power off.
(NAV) Button: Recalls the navigation map screen.
Press again to switch to Navigation menu screen. Press and hold this button for at least 2 seconds to change to Go Home route screen. (If Home is not set yet, it will change to the Home setting screen.)
For details of navigation operations, refer to “Navigation System OM” in the CD-ROM.
RESET switch: The system of this unit is reset.
(Eject) button (only with DVE-5300X): Ejects a disc.
Rotary encoder/MUTE button: Adjust the volume by turning to the left or right. Press to activate /deactivate MUTE mode.
Disc Slot (only with DVE-5300X)
Connections


Steering Wheel Remote Control

| Button | Radio (DAB/ FM/MW/LW) | iPod/ USB Play- back/ BT Audio | AUX/ HDMI/ CD/ DVD | Incoming Call | Active Call | |
| a | Down | Up | – | – | – | |
| b | Short | Phone | Phone | Phone | Pick Up | – |
| Long | – | – | – | Reject | Hang Up | |
| c | Up | Down | – | – | – | |
| d | Source | Source | Source | Source | Source | |
| e | Siri/ Voice Dial | Siri/ Voice Dial | Siri/ Voice Dial | Siri/ Voice Dial | Siri/ Voice Dial | |
| f | Vol + | Vol + | Vol + | Vol + | Vol + | |
| g | Mute | Mute | Mute | Mute | Mute | |
| h | Vol – | Vol – | Vol – | Vol – | Vol – | |
| i | Navigation | Navigation | Navigation | Navigation | Navigation | |
Car Settings

Designed by Alpine Electronics (Europe) GmbH
Printed in Germany
ALPINE ELECTRONICS MARKETING, INC.
1-7, Yukigaya-Otsukamachi, Ota-ku,
Tokyo 145-0067, JAPAN
Phone: 03-5499-4531
ALPINE ELECTRONICS OF AMERICA, INC.
19145 Gramercy Place
Torrance, California 90501 U.S.A.
Phone: 1(310)326-8000
ALPINE ELECTRONICS OF AUSTRALIA PTY. LTD.
161-165 Princes Highway, Hallam
Victoria 3803, Australia
Phone: 61 (3)8787-1200

















